TOP
|
特許
|
意匠
|
商標
特許ウォッチ
Twitter
他の特許を見る
10個以上の画像は省略されています。
公開番号
2025145459
公報種別
公開特許公報(A)
公開日
2025-10-03
出願番号
2024045645
出願日
2024-03-21
発明の名称
洗濯機
出願人
パナソニックIPマネジメント株式会社
代理人
個人
,
個人
主分類
D06F
39/02 20060101AFI20250926BHJP(繊維または類似のものの処理;洗濯;他に分類されない可とう性材料)
要約
【課題】本開示は、タンク蓋がタンク本体に正しく装着されないことを抑制する洗濯機を提供する。
【解決手段】本開示における洗濯機は、液剤を収容する液剤タンクと、液剤タンクを収容するタンク収容部と、を備え、液剤タンクは、上面が開口した上面開口を有し、略箱形状に形成されたタンク本体と、タンク本体に対し着脱可能に設けられ、タンク本体の上面開口を覆うタンク蓋と、タンク本体の前面の少なくとも一部を覆う化粧板と、タンク蓋から前方に突出する突出部と、化粧板に後方に開口して設けられ、突出部が挿入される開口部と、を有し、突出部には、突出部の先端部から後方になるにつれ下方に傾斜する第1傾斜面が設けられ、タンク蓋がタンク本体に取り付けられた状態で、第1傾斜面は、上面視で開口部の上端部と重なる。
【選択図】図10
特許請求の範囲
【請求項1】
液剤を収容する液剤タンクと、前記液剤タンクを収容するタンク収容部と、を備え、
前記液剤タンクは、
上面が開口した上面開口を有し、略箱形状に形成されたタンク本体と、
前記タンク本体に対し着脱可能に設けられ、前記タンク本体の前記上面開口を覆うタンク蓋と、
前記タンク本体の前面に設けられた化粧板と、
前記タンク蓋から前方に突出する突出部と、
前記化粧板に後方に開口して設けられ、前記突出部が挿入される開口部と、
を有し、
前記突出部には、前記突出部の先端部から後方になるにつれ下方に傾斜する第1傾斜面が設けられ、
前記タンク蓋が前記タンク本体に取り付けられた状態で、前記第1傾斜面は、上面視で前記開口部の上端部と重なる、洗濯機。
続きを表示(約 290 文字)
【請求項2】
前記突出部には、前記第1傾斜面の上方において、前記突出部の先端部から後方になるにつれ上方に傾斜する第2傾斜面が設けられている、請求項1に記載の洗濯機。
【請求項3】
前記タンク蓋が前記タンク本体に取り付けられた状態で、前記第2傾斜面は、上面視で前記開口部の上端部よりも前方に位置する、請求項2に記載の洗濯機。
【請求項4】
前記タンク蓋の前部には、前記タンク蓋から上方に膨出した膨出部が設けられ、
前記液剤タンクが前記タンク収容部に収容された状態で、前記膨出部は前記タンク収容部の内側上面に当接する、請求項1に記載の洗濯機。
発明の詳細な説明
【技術分野】
【0001】
本開示は、洗濯機に関する。
続きを表示(約 1,800 文字)
【背景技術】
【0002】
特許文献1は、液体を貯蔵する液剤タンクを備える洗濯機を開示する。この洗濯機は、液剤タンクを収納し、液剤自動投入装置と接続させる液剤タンク収容部を備え、液剤タンクは、液剤自動投入装置から脱着可能に構成され、液剤タンクは、液剤タンク収容部から引き出し可能に設けられている。
【先行技術文献】
【特許文献】
【0003】
特開2022-59341号公報
【発明の概要】
【発明が解決しようとする課題】
【0004】
本開示は、タンク蓋がタンク本体に正しく装着されないことを抑制する洗濯機を提供する。
【課題を解決するための手段】
【0005】
本開示における洗濯機は、液剤を収容する液剤タンクと、液剤タンクを収容するタンク収容部と、を備え、液剤タンクは、上面が開口した上面開口を有し、略箱形状に形成されたタンク本体と、タンク本体に対し着脱可能に設けられ、タンク本体の上面開口を覆うタンク蓋と、タンク本体の前面の少なくとも一部を覆う化粧板と、タンク蓋から前方に突出する突出部と、化粧板に後方に開口して設けられ、突出部が挿入される開口部と、を有し、突出部には、突出部の先端部から後方になるにつれ下方に傾斜する第1傾斜面が設けられ、タンク蓋がタンク本体に取り付けられた状態で、第1傾斜面は、上面視で開口部の上端部と重なる。
【発明の効果】
【0006】
本開示における洗濯機は、タンク蓋がタンク本体に正しく装着されないことを抑制できる。
【図面の簡単な説明】
【0007】
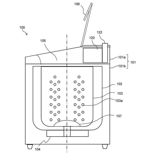
実施の形態1に係る洗濯機の斜視図
実施の形態1に係る洗濯機の模式断面図
実施の形態1に係る洗濯機の給水ユニットの斜視図
実施の形態1に係る洗濯機の給水ユニットの背面側の斜視図
実施の形態1に係る洗濯機の給水ユニットから液剤タンクを引き出した状態の斜視図
実施の形態1に係る洗濯機の給水ユニットの模式断面図
実施の形態1に係る洗濯機の液剤タンクの斜視図
実施の形態1に係る洗濯機の液剤タンクのタンク本体からタンク蓋を取り外した状態の斜視図
実施の形態1に係る洗濯機の液剤タンクのタンク本体からタンク蓋を取り外した状態の部分拡大断面図
実施の形態1に係る洗濯機の液剤タンクのタンク本体にタンク蓋を取り付けた状態の部分拡大断面図
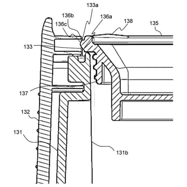
実施の形態1に係る洗濯機の液剤タンクのタンク本体にタンク蓋が正しく取り付けられていない状態の部分拡大断面図
実施の形態1に係る洗濯機の給水ユニットにおいてタンク本体にタンク蓋が正しく取り付けられていない状態で液剤タンクがタンク収容部に収容された状態の部分拡大断面図
【発明を実施するための形態】
【0008】
(本開示の基礎となった知見等)
発明者らが本開示に想到するに至った当時、上面が開口され、液剤を貯留する本体と、タンク本体の開口を上方から覆う蓋と、を含む液剤タンクと、液剤タンクを収容する液剤タンク収容部と、を備え、液剤タンクが、液剤タンク収容部から前方に引き出し可能に設けられている洗濯機があった。この洗濯機では、本体に蓋が取り付けられた状態で、液剤タンクを液剤タンク収容部に対し、前方から後方に押し込むことで、液剤タンクが液剤タンク収容部に収容される。
【0009】
このような洗濯機において、蓋が本体に正しく取り付けられていない状態で液剤タンク収容部に押し込まれると、蓋が液剤タンク収容部の上面と干渉する。このような場合には、液剤タンク収容部内において蓋と本体との間に隙間が形成され、隙間から液剤がこぼれてしまう虞があった。また、液剤タンクを液剤タンク収容部から引き出すときに、蓋が液剤タンク収容部の上面と干渉することにより、液剤タンクが引き出すことができない、または、引き出すときに過剰な力をかける必要がある虞があった。
【0010】
そこで、本開示は、タンク蓋がタンク本体に正しく装着されないことを抑制できる洗濯機を提供する。
(【0011】以降は省略されています)
この特許をJ-PlatPat(特許庁公式サイト)で参照する
関連特許
個人
洗濯装置
2か月前
個人
洗濯物干しハンガー
1日前
株式会社青柳
染め加工方法
1か月前
東レ株式会社
繊維断面の検査方法
1か月前
東レ株式会社
ゴム補強用合成繊維コード
1か月前
東レ株式会社
樹脂含浸繊維束の製造方法
3か月前
株式会社槌屋
加飾用表皮材
27日前
有限会社高田紙器製作所
紙製洗濯バサミ
3か月前
東レ株式会社
炭素繊維シートの製造方法
2か月前
株式会社創和
ボックス状洗濯ネット
1か月前
株式会社大阪ソーダ
撥水撥油性繊維処理剤
2か月前
リンナイ株式会社
衣類乾燥機
21日前
個人
ポリエステル染色物の製造方法
22日前
リンテック株式会社
耐水性基材
26日前
シャープ株式会社
洗濯機
2か月前
個人
洗濯用洗剤容器の蓋
2か月前
アイリスオーヤマ株式会社
洗濯機
1日前
松本油脂製薬株式会社
繊維用処理剤及びその利用
2か月前
大阪瓦斯株式会社
衣類乾燥機
2か月前
大阪瓦斯株式会社
衣類乾燥機
2か月前
大阪瓦斯株式会社
衣類乾燥機
2か月前
個人
開閉角度調整可能な角型折畳みピンチハンガー
2か月前
シャープ株式会社
洗濯機
3か月前
シャープ株式会社
洗濯機
3か月前
ダイニック株式会社
ターポリン、及びその製造方法
22日前
シャープ株式会社
洗濯機
3か月前
東レ株式会社
抗菌性アクリル系繊維およびその製造方法
1か月前
東芝ライフスタイル株式会社
洗濯機
1か月前
株式会社コーワ
乾燥機のフィルター清掃装置及び乾燥機
26日前
東レ株式会社
人工皮革およびその製造方法ならびに雑貨
1か月前
シャープ株式会社
洗濯機
3か月前
東芝ライフスタイル株式会社
洗濯機
2か月前
株式会社wash-plus
ランドリーシステム
1日前
シャープ株式会社
衣類処理システム
2か月前
個人
パイプ用係止、固定装置及び洗濯バサミ取り付け具
2か月前
個人
柿渋とその他色材を二種類以上掛け合わせた染色表現
3か月前
続きを見る
他の特許を見る