TOP
|
特許
|
意匠
|
商標
特許ウォッチ
Twitter
他の特許を見る
10個以上の画像は省略されています。
公開番号
2025132687
公報種別
公開特許公報(A)
公開日
2025-09-10
出願番号
2024030418
出願日
2024-02-29
発明の名称
方立の固定構造、カーテンウォール及び方立の固定方法
出願人
株式会社LIXIL
代理人
個人
,
個人
,
個人
主分類
E04B
2/96 20060101AFI20250903BHJP(建築物)
要約
【課題】現場での施工性を向上させることができる方立の固定構造、カーテンウォール及び方立の固定方法を提供する。
【解決手段】方立の固定構造2Aは、躯体に固定される第1方立部材20と、第1方立部材20の屋外側に配置される第2方立部材40と、第1方立部材20と第2方立部材40とを連結するブラケット30と、を備え、ブラケット30は、第1方立部材20に固定される固定部31と、第2方立部材40を係止する係止部33と、を有する。
【選択図】図4
特許請求の範囲
【請求項1】
躯体に固定される第1方立部材と、
前記第1方立部材の屋外側に配置される第2方立部材と、
前記第1方立部材と前記第2方立部材とを連結するブラケットと、を備え、
前記ブラケットは、
前記第1方立部材に固定される固定部と、
前記第2方立部材を係止する係止部と、を有する方立の固定構造。
続きを表示(約 830 文字)
【請求項2】
前記第2方立部材は、前記第1方立部材の屋外面に沿って配置される屋内側板部を有し、
前記屋内側板部は、前記係止部に係止される請求項1に記載の方立の固定構造。
【請求項3】
前記屋内側板部には、屋内外方向に貫通する係止孔が形成され、
前記係止部は、前記係止孔の上縁部を支持する支持部を有する請求項2に記載の方立の固定構造。
【請求項4】
前記係止孔の上下方向の長さは、前記ブラケットの上下方向の長さよりも長い請求項3に記載の方立の固定構造。
【請求項5】
前記係止部は、
前記第1方立部材の屋外面との間に前記屋内側板部を挟み込む挟持部を有する請求項3または4に記載の方立の固定構造。
【請求項6】
前記係止部の上端部は、屋内側に向かうにしたがって次第に下方に傾斜する第1テーパ部を有する請求項1または2に記載の方立の固定構造。
【請求項7】
前記係止部の上端部は、左右方向の外側に向かうにしたがって次第に下方に傾斜する第2テーパ部を有する請求項1または2に記載の方立の固定構造。
【請求項8】
前記第2方立部材は、上下方向に延びる中空部を有し、
前記ブラケットは、前記中空部の内側に配置される請求項1または2に記載の方立の固定構造。
【請求項9】
前記第1方立部材と前記ブラケットとの間に配置されるライナーを備える請求項1または2に記載の方立の固定構造。
【請求項10】
前記ブラケットを複数備え、
複数の前記ブラケットのうち少なくとも一の前記ブラケットの前記支持部は、前記係止孔の上縁部を支持し、
複数の前記ブラケットのうち他の前記ブラケットの前記支持部は、前記係止孔の上縁部を支持しない請求項3に記載の方立の固定構造。
(【請求項11】以降は省略されています)
発明の詳細な説明
【技術分野】
【0001】
本開示は、方立の固定構造、カーテンウォール及び方立の固定方法に関するものである。
続きを表示(約 1,300 文字)
【背景技術】
【0002】
従来から、建物の開口部に設置されるカーテンウォールが知られている。特許文献1には、躯体に固定されるスチール製の方立部材と、ガラスを支持するアルミ合金製の方立部材と、これらの方立部材どうしを連結するブラケットと、を備えたカーテンウォールの方立が開示されている(特許文献1参照)。
【先行技術文献】
【特許文献】
【0003】
特開2002-371657号公報
【発明の概要】
【発明が解決しようとする課題】
【0004】
特許文献1のカーテンウォールの方立では、ブラケットをスチール製の方立部材に現場で溶接によって固定しているため、施工性が悪いという問題点がある。
【0005】
本開示は、上記事情に鑑みてなされたものであり、現場での施工性を向上させることができる方立の固定構造、カーテンウォール及び方立の固定方法を提供する。
【課題を解決するための手段】
【0006】
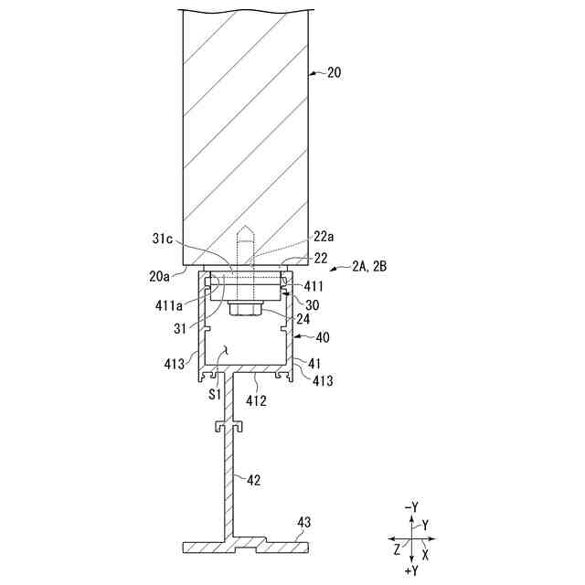
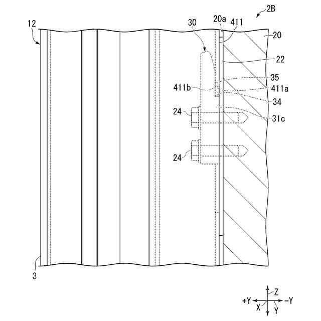
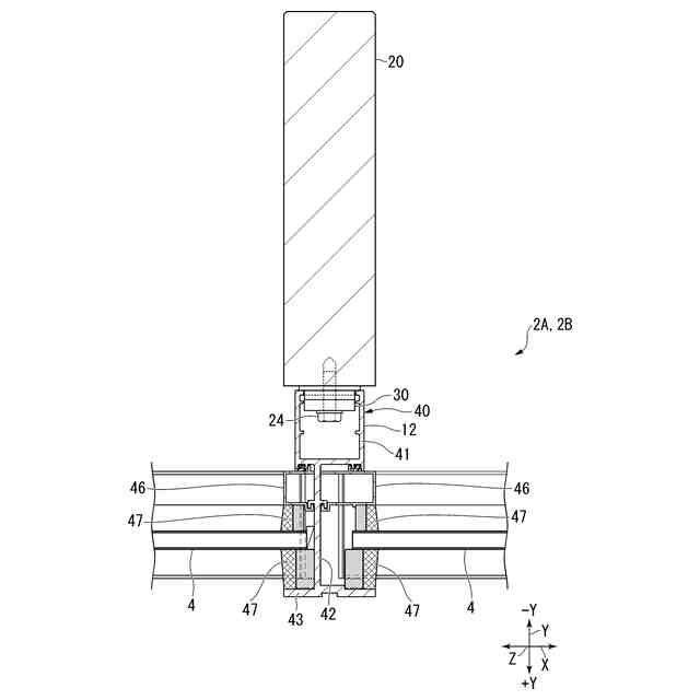
本開示の一態様に係る方立の固定構造は、躯体に固定される第1方立部材と、前記第1方立部材の屋外側に配置される第2方立部材と、前記第1方立部材と前記第2方立部材とを連結するブラケットと、を備え、前記ブラケットは、前記第1方立部材に固定される固定部と、前記第2方立部材を係止する係止部と、を有する。
【図面の簡単な説明】
【0007】
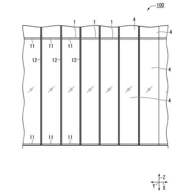
本実施形態に係るカーテンウォールの正面図である。
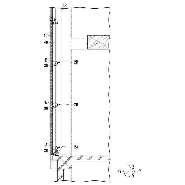
本実施形態に係るカーテンウォールの鉛直断面図である。
本実施形態に係る方立の固定構造の水平断面図である。
本実施形態に係る方立の固定構造の一の態様の鉛直断面図である。
本実施形態に係る方立の固定構造の他の態様の鉛直断面図である。
本実施形態に係る方立の固定構造の拡大水平断面図である。
本実施形態に係る方立の固定構造の分解斜視図である。
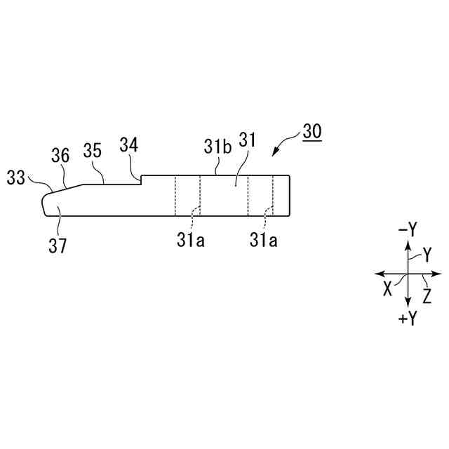
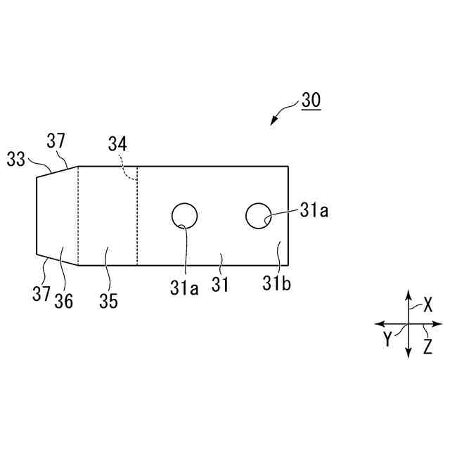
ブラケットを説明する図である。
ブラケットを説明する図である。
【発明を実施するための形態】
【0008】
以下、本実施形態に係るカーテンウォールについて、図面に基づいて説明する。以下の実施形態は、本開示の一態様を示すものであり、本開示を限定するものではなく、本開示の技術的思想の範囲内で任意に変更可能である。以下の図面においては、各構成を分かりやすくするために、実際の構造と各構造における縮尺等を異ならせている。
【0009】
以下の説明では、屋外側と屋内側とを結び水平方向に沿う方向を、屋内外方向と称する。屋内外方向と直交し水平方向に沿う方向を、左右方向と称する。屋内外方向及び左右方向と直交する方向を、上下方向と称する。屋内外方向を矢印Yで示し、屋外側を図2等で+Y側で示し、屋内側を図2等で-Y側で示す。左右方向を矢印Xで示す。上下方向を矢印Zで示す。
【0010】
図1に示すように、カーテンウォール100は、枠体1と、ガラスパネル4と、を備えている。
(【0011】以降は省略されています)
この特許をJ-PlatPat(特許庁公式サイト)で参照する
関連特許
株式会社LIXIL
建具
1日前
株式会社LIXIL
建具
今日
株式会社LIXIL
建具
1日前
株式会社LIXIL
建具
1日前
株式会社LIXIL
建具
1日前
株式会社LIXIL
建具
1日前
株式会社LIXIL
建具
1日前
株式会社LIXIL
便器装置
2日前
株式会社LIXIL
日除けシート
4日前
株式会社LIXIL
宅配ボックス
1日前
株式会社LIXIL
汚物処理装置
今日
株式会社LIXIL
太陽電池ガラス
4日前
株式会社LIXIL
洗浄水タンク装置
今日
株式会社LIXIL
可燃性ガス回収装置
今日
株式会社LIXIL
窓用ステー及び開き窓
1日前
株式会社LIXIL
窓用ステー及び開き窓
1日前
株式会社LIXIL
建具および建具の改装方法
今日
株式会社LIXIL
建具および建具の改装方法
今日
株式会社LIXIL
建具および建具の改装方法
1日前
株式会社LIXIL
建具および建具の改装方法
1日前
株式会社LIXIL
建具および建具の改装方法
今日
株式会社LIXIL
トイレ装置及びトイレシステム
今日
株式会社LIXIL
床タイル及び床タイルの製造方法
1日前
株式会社LIXIL
障子、建具、及び障子の施工方法
1日前
株式会社LIXIL
障子、建具、及び障子の施工方法
1日前
株式会社LIXIL
シャワーヘッド装置及び浴室ユニット
2日前
株式会社LIXIL
宅配ボックス及び宅配ボックスの設置方法
1日前
株式会社LIXIL
トイレ装置、トイレシステム及び排卵推測装置
今日
株式会社LIXIL
太陽光発電給電シート、建物およびペリカバー
今日
株式会社LIXIL
駆逐装置、駆逐システム、駆逐方法および駆逐プログラム
今日
株式会社LIXIL
洗浄ハンドルユニット、洗浄タンクユニット及び便器装置
1日前
株式会社LIXIL
改装サッシ
今日
株式会社LIXIL
汚水処理装置、汚水処理システム、および汚水処理システムの施工方法
今日
株式会社LIXIL
ホームシステム、サーバ、オーナー認証方法およびオーナー認証プログラム
今日
株式会社LIXIL
ホームシステム、サーバ、ユーザ登録初期化方法およびユーザ登録初期化プログラム
今日
株式会社LIXIL
情報処理装置、情報処理システム、ユーザ端末、情報処理方法、および情報処理プログラム
1日前
続きを見る
他の特許を見る