TOP
|
特許
|
意匠
|
商標
特許ウォッチ
Twitter
他の特許を見る
公開番号
2025131168
公報種別
公開特許公報(A)
公開日
2025-09-09
出願番号
2024028726
出願日
2024-02-28
発明の名称
接続構造
出願人
TPR株式会社
代理人
弁理士法人秀和特許事務所
主分類
H01R
4/20 20060101AFI20250902BHJP(基本的電気素子)
要約
【課題】導電部材同士を電気的に接続するための接続構造において、シール性能を向上可能な技術を提供する。
【解決手段】接続構造は、導電性の接続部材と接続部材の内部をシールするシール構造とを備え、接続部材における、圧着部とシール構造との間には、一対のスリットが形成されており、一対のスリットの一方は圧着部の圧着方向における接続部材の一側面に形成されており、一対のスリットの他方は圧着方向における接続部材の他側面に形成されている。
【選択図】図3
特許請求の範囲
【請求項1】
導電部材同士を電気的に接続するための接続構造であって、
軸方向における一端側に形成されると共に第1の前記導電部材を接続可能な第1接続部と、前記軸方向における他端側に形成されると共に第2の前記導電部材を接続可能な第2接続部と、前記第1接続部と前記第2接続部との間に形成されると共に内部において前記第1の導電部材と前記第2の導電部材とを離間させる離間部と、を有する、導電性の接続部材と、
前記離間部に配置されることで前記接続部材の内部をシールする、シール構造と、
を備え、
前記第1接続部と前記第2接続部とのうち少なくとも一方は、圧着により前記導電部材と接続されるスリーブ状の圧着部として、前記接続部材の軸方向端部に形成されており、
前記接続部材における、前記圧着部と前記シール構造との間には、一対のスリットが形成されており、
前記一対のスリットの一方は、前記圧着部の圧着方向における前記接続部材の一側面に形成されており、
前記一対のスリットの他方は、前記圧着方向における前記接続部材の他側面に形成されている、
接続構造。
続きを表示(約 730 文字)
【請求項2】
前記圧着部の先端と前記シール構造との軸方向における距離をL1とし、
前記圧着方向における前記圧着部の圧着前の高さをH1とし、
前記一対のスリットの一方の前記圧着方向における深さをS1とし、
前記一対のスリットの他方の前記圧着方向における深さをS2としたとき、
L1≧H1×0.75、且つ、0.35≦(S1+S2)/H1≦0.67である、
請求項1に記載の接続構造。
【請求項3】
前記シール構造は、前記離間部に嵌入された弾性体により形成されている、
請求項1又は2に記載の接続構造。
【請求項4】
前記シール構造は、前記離間部を閉塞する隔壁として前記接続部材と一体に形成されている、
請求項1又は2に記載の接続構造。
【請求項5】
前記シール構造は、前記離間部に充填された樹脂成形体により形成されている、
請求項1又は2に記載の接続構造。
【請求項6】
前記接続部材の外周に配置される外周シール部材を更に備え、
前記外周シール部材は、前記接続部材の軸方向における少なくとも一部の外周を周方向に連続して覆うことで、前記接続部材の外周をシールする、
請求項1又は2に記載の接続構造。
【請求項7】
前記接続部材は、軸方向の少なくとも一端側において流体の圧力作用を受けるように配置される、
請求項1又は2に記載の接続構造。
【請求項8】
前記一対のスリットは、前記軸方向において互いに離間して形成されている、
請求項1又は2に記載の接続構造。
発明の詳細な説明
【技術分野】
【0001】
本発明は、導電部材の接続構造に関する。
続きを表示(約 3,000 文字)
【背景技術】
【0002】
従来、車両の電子制御式自動変速機とコントロールユニット等とを電気的に接続する手段として、バスバーを用いた電気接続方式が一般的であった。例えば特許文献1には、バスバーの基端側延伸部と先端側延伸部との間にバネ機能構成部を設けた電気接続部の構造が開示されている。一方、特許文献2には、コネクタを用いた電気的接続構造の防水性を高めるために、防水すべき隙間部分に光硬化樹脂を注入することで該隙間部分を密封する技術が開示されている。
【先行技術文献】
【特許文献】
【0003】
特許第3488998号公報
特許第2650547号公報
【発明の概要】
【発明が解決しようとする課題】
【0004】
例えば、油圧機器や水圧機器等の流体の圧力が作用する機器と他の機器とを電気的に接続するための接続構造には、機器の内外への流体の漏出を防止することが求められる。特に、運転時に振動が生じる機器に適用するためには、よりシール性能の高い接続構造が望まれている。
【0005】
本発明は、上述の問題に鑑みてなされたものであり、その目的は、導電部材同士を電気的に接続するための接続構造において、シール性能を向上可能な技術を提供することである。
【課題を解決するための手段】
【0006】
上記課題を解決するために、本発明は、以下の手段を採用した。即ち、本発明の要旨は、以下の通りである。
[1]
導電部材同士を電気的に接続するための接続構造であって、
軸方向における一端側に形成されると共に第1の前記導電部材を接続可能な第1接続部と、前記軸方向における他端側に形成されると共に第2の前記導電部材を接続可能な第2接続部と、前記第1接続部と前記第2接続部との間に形成されると共に内部において前記第1の導電部材と前記第2の導電部材とを離間させる離間部と、を有する、導電性の接続部材と、
前記離間部に配置されることで前記接続部材の内部をシールする、シール構造と、
を備え、
前記第1接続部と前記第2接続部とのうち少なくとも一方は、圧着により前記導電部材と接続されるスリーブ状の圧着部として、前記接続部材の軸方向端部に形成されており、
前記接続部材における、前記圧着部と前記シール構造との間には、一対のスリットが形成されており、
前記一対のスリットの一方は、前記圧着部の圧着方向における前記接続部材の一側面に形成されており、
前記一対のスリットの他方は、前記圧着方向における前記接続部材の他側面に形成されている、
接続構造。
[2]
前記圧着部の先端と前記シール構造との軸方向における距離をL1とし、
前記圧着方向における前記圧着部の圧着前の高さをH1とし、
前記一対のスリットの一方の前記圧着方向における深さをS1とし、
前記一対のスリットの他方の前記圧着方向における深さをS2としたとき、
L1≧H1×0.75、且つ、0.35≦(S1+S2)/H1≦0.67である、
[1]に記載の接続構造。
[3]
前記シール構造は、前記離間部に嵌入された弾性体により形成されている、
[1]又は[2]に記載の接続構造。
[4]
前記シール構造は、前記離間部を閉塞する隔壁として前記接続部材と一体に形成されている、
[1]又は[2]に記載の接続構造。
[5]
前記シール構造は、前記離間部に充填された樹脂成形体により形成されている、
[1]又は[2]に記載の接続構造。
[6]
前記接続部材の外周に配置される外周シール部材を更に備え、
前記外周シール部材は、前記接続部材の軸方向における少なくとも一部の外周を周方向に連続して覆うことで、前記接続部材の外周をシールする、
[1]から[5]の何れかに記載の接続構造。
[7]
前記接続部材は、軸方向の少なくとも一端側において流体の圧力作用を受けるように配置される、
[1]から[6]の何れかに記載の接続構造。
[8]
前記一対のスリットは、前記軸方向において互いに離間して形成されている、
[1]から[7]の何れかに記載の接続構造。
【発明の効果】
【0007】
本発明によれば、導電部材同士を電気的に接続するための接続構造において、シール性能を向上することが可能となる。
【図面の簡単な説明】
【0008】
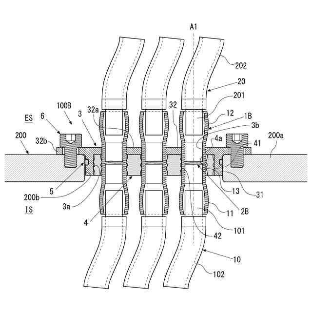
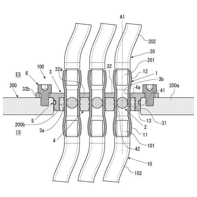
図1は、実施形態に係る接続構造の全体斜視図である。
図2は、実施形態に係る接続構造の断面図である。
図3は、実施形態に係る接続部材の圧着加工前の状態を示す側面図である。
図4は、実施形態に係る接続部材の圧着加工前の状態を示す上面図である。
図5は、実施形態に係る接続部材にリード線が圧着された状態を模式的に示す側面図である。
図6は、実施形態に係る接続部材の圧着加工の前後における離間部の断面図である。
図7は、実施形態の変形例1に係る接続部材の圧着加工前の状態を示す側面図である。
図8は、実施形態の変形例2に係る接続構造の断面図である。
図9は、実施形態の変形例3に係る接続構造の断面図である。
図10は、実施例1のシミュレーション結果を示す図である。
図11は、比較例4のシミュレーション結果を示す図である。
【発明を実施するための形態】
【0009】
以下、本発明の具体的な実施形態について図面に基づいて説明する。以下の実施形態に記載されている構成部品の寸法、材質、形状、及び、その相対配置等は、特に記載がない限りは本発明の技術的範囲をそれらのみに限定する趣旨のものではない。
【0010】
本発明の一実施形態は、導電部材同士を電気的に接続する接続構造である。具体的には、接続構造は、流体の圧力が作用する機器に取り付けられ、機器の内部に設けられた第1のケーブル(導電部材)と機器の外部に設けられた第2のケーブル(導電部材)とを電気的に接続する。接続構造は、導電性を有し、軸方向両端部のうち少なくとも一方がスリーブ状の接続部材と、接続部材内に配置されるシール構造と、外周シール部材と、を備える。すなわち、接続部材は、軸方向両端部にスリーブ状の接続部を有してもよいし、片方の端部のみにスリーブ状の接続部を有してもよい。接続部材は、筒状に形成されており、第1のケーブルを接続可能な第1接続部を長手方向一端側に有し、第2のケーブルを接続可能な第2接続部を長手方向他端側に有し、第1のケーブルと第2のケーブルとを離間する離間部を第1接続部と第2接続部との間に有する。接続部材は、機器の内外を貫通する取付孔に挿入される。シール構造は、接続部材の離間部に配置されることで、接続部材の内部をシールする。外周シール部材は、接続部材の外周を覆うように配置されることで、接続部材の外周をシールする。
(【0011】以降は省略されています)
この特許をJ-PlatPat(特許庁公式サイト)で参照する
関連特許
TPR株式会社
接続構造
2か月前
TPR株式会社
多孔質ブリーザ
1か月前
TPR株式会社
熱電変換モジュール
1か月前
TPR株式会社
熱電変換モジュール
3か月前
TPR株式会社
コンプレッションリング
1か月前
TPR株式会社
コンプレッションリング、コンプレッションリングの組み合わせ、及びリング本体
1か月前
APB株式会社
蓄電セル
1か月前
東ソー株式会社
絶縁電線
1か月前
個人
フレキシブル電気化学素子
1か月前
株式会社東芝
端子台
28日前
ローム株式会社
半導体装置
1か月前
マクセル株式会社
電源装置
28日前
株式会社ユーシン
操作装置
1か月前
日新イオン機器株式会社
イオン源
1か月前
オムロン株式会社
電磁継電器
1か月前
株式会社GSユアサ
蓄電設備
1か月前
三菱電機株式会社
回路遮断器
15日前
株式会社GSユアサ
蓄電装置
7日前
富士電機株式会社
電磁接触器
7日前
株式会社GSユアサ
蓄電設備
1か月前
株式会社GSユアサ
蓄電装置
21日前
株式会社ホロン
冷陰極電子源
1か月前
太陽誘電株式会社
コイル部品
1か月前
株式会社GSユアサ
蓄電装置
29日前
株式会社GSユアサ
蓄電装置
29日前
ホシデン株式会社
複合コネクタ
1日前
日東電工株式会社
積層体
1か月前
ノリタケ株式会社
熱伝導シート
1か月前
トヨタ自動車株式会社
蓄電装置
1か月前
トヨタ自動車株式会社
冷却構造
1か月前
トヨタ自動車株式会社
蓄電装置
29日前
トヨタ自動車株式会社
バッテリ
1か月前
日新イオン機器株式会社
基板処理装置
1か月前
トヨタ自動車株式会社
バッテリ
1か月前
日本特殊陶業株式会社
保持装置
1か月前
北道電設株式会社
配電具カバー
1か月前
続きを見る
他の特許を見る