TOP
|
特許
|
意匠
|
商標
特許ウォッチ
Twitter
他の特許を見る
公開番号
2025129006
公報種別
公開特許公報(A)
公開日
2025-09-03
出願番号
2024164464,2024025195
出願日
2024-09-20,2024-02-22
発明の名称
建物
出願人
成友建設株式会社
代理人
個人
主分類
E04B
1/76 20060101AFI20250827BHJP(建築物)
要約
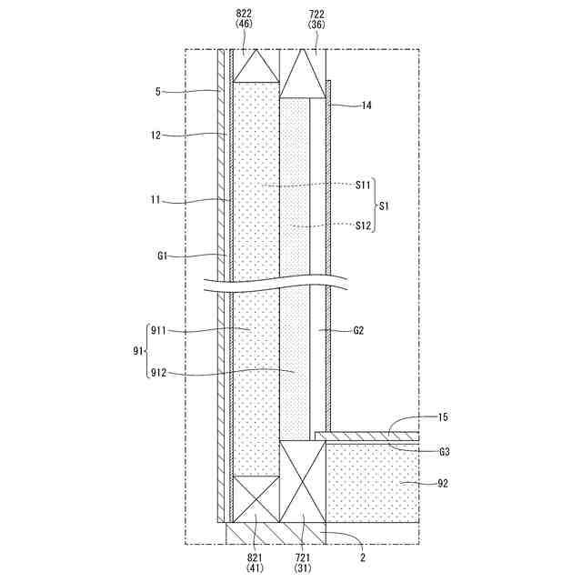
【課題】優れた断熱性を有する建物を提供すること。
【解決手段】建物1は、外壁5に面する部分において、共に鉛直方向に延び、隣り合う一対の第1、第2内側垂直材711、712を備える内側躯体3と、内側躯体3と外壁5との間に位置し、第1内側垂直材711の外壁5側に並んで配置され鉛直方向に延びる第1外側垂直材811および第2内側垂直材712の外壁5側に並んで配置され鉛直方向に延びる第2外側構造材812を備える外側躯体4と、第1、第2外側垂直材811、812の間に形成された外側空間S11と、第1、第2内側垂直材711、712の間に形成された内側空間S11を備え、厚さが200mm以上の第1空間S1と、を有する。そして、第1空間S1内に厚さが200mm以上の第1断熱ボード91が配置されている。
【選択図】図3
特許請求の範囲
【請求項1】
外壁に面する部分において、
共に鉛直方向に延び、隣り合う一対の第1内側垂直材および第2内側垂直材を備える内側躯体と、
前記内側躯体と前記外壁との間に位置し、前記第1内側垂直材の前記外壁側に並んで配置され鉛直方向に延びる第1外側垂直材および前記第2内側垂直材の前記外壁側に並んで配置され鉛直方向に延びる第2外側垂直材を備える外側躯体と、
前記第1外側垂直材および前記第2外側垂直材の間に形成された外側空間と、前記第1内側垂直材および前記第2内側垂直材の間に形成された内側空間と、を備え、厚さが200mm以上の第1空間と、を有することを特徴とする建物。
続きを表示(約 1,400 文字)
【請求項2】
前記第1内側垂直材、前記第2内側垂直材、前記第1外側垂直材および前記第2外側垂直材は、それぞれ、厚さが120mm以上である請求項1に記載の建物。
【請求項3】
前記第1空間内に配置され、厚さが200mm以上、かつ、前記第1空間の厚さ以下である第1断熱ボードを有する請求項1に記載の建物。
【請求項4】
前記内側躯体の屋内側に配置された内装ボード材をさらに有し、
前記第1断熱ボードの厚さは、前記第1空間の厚さよりも小さく、
前記内装ボード材と前記第1断熱ボードとの間に隙間が形成されている請求項3に記載の建物。
【請求項5】
前記第1断熱ボードは、前記外側空間内に配置され、前記外側空間と同じ厚さの外側断熱ボードと、前記内側空間内に配置され、前記内側空間の厚さよりも小さい厚さの内側断熱ボードと、を有する請求項4に記載の建物。
【請求項6】
前記外側断熱ボードは、前記内側断熱ボードよりも高さ方向に長く、
前記外側断熱ボードの下端は、前記内側断熱ボードの下端よりも下側に位置し、
前記外側断熱ボードの上端は、前記内側断熱ボードの上端よりも上側に位置する請求項5に記載の建物。
【請求項7】
前記内側躯体は、前記内側空間の下側に位置し、水平方向に延びて前記第1内側垂直材および前記第2内側垂直材を連結する第1内側横架材と、前記内側空間の上側に位置し、水平方向に延びて前記第1内側垂直材および前記第2内側垂直材を連結する第2内側横架材と、を有し、
前記外側躯体は、前記外側空間の下側において前記第1内側横架材の前記外壁側に並んで配置され、水平方向に延びて前記第1外側垂直材および前記第2外側垂直材を連結する第1外側横架材と、前記外側空間の上側において前記第2内側横架材の前記外壁側に並んで配置され、水平方向に延びて前記第1外側垂直材および前記第2外側垂直材を連結する第2外側横架材と、を有し、
前記第1外側横架材の上面は、前記第1内側横架材の上面よりも下側に位置し、
前記第2外側横架材の下面は、前記第2内側横架材の下面よりも上側に位置する請求項6に記載の建物。
【請求項8】
床下に面する部分において、
共に水平方向に延び、隣り合う一対の第1横架材および第2横架材を備え、
前記第1横架材と前記第2横架材の間に形成され、厚さが200mm以上の第2空間と、
前記第2空間内に配置され、厚さが200mm以上の第2断熱ボードと、を有する請求項1に記載の建物。
【請求項9】
前記第1横架材および前記第2横架材の上側に配置された床板材をさらに有し、
前記第2断熱ボードの厚さは、前記第2空間の厚さよりも小さく、
前記床板材と前記第2断熱ボードとの間に隙間が形成されている請求項8に記載の建物。
【請求項10】
屋根に面する部分において、
共に水平方向に延び、隣り合う一対の第3横架材および第4横架材を備え、
前記第3横架材と前記第4横架材の間に形成され、厚さが200mm以上の第3空間と、
前記第3空間内に配置され、厚さが200mm以上の第3断熱ボードと、を有する請求項1に記載の建物。
発明の詳細な説明
【技術分野】
【0001】
本発明は、建物に関する。
続きを表示(約 1,100 文字)
【背景技術】
【0002】
例えば、特許文献1に記載されているように、住宅の工法として、柱(垂直材)と梁(横架材)とを組み合わせた軸組工法が従来から広く知られている。このような軸組工法では、一般的に、4寸柱または3.5寸柱が使用される。なお、4寸柱は、120mm角の柱であり、3.5寸柱は、105mm角の柱である。また、このような軸組工法の住宅において断熱性を確保する1つの方法として、壁内に断熱ボードを配置する充填断熱工法が知られている。
【0003】
近年では、電気、ガス等のエネルギーの高騰により、高断熱の住宅が非常に注目されているが、充填断熱工法の場合、4寸柱であれば厚さが120mm以下の断熱ボードしか使用できず、3.5寸柱であれば厚さが105mm以下の断熱ボードしか使用できない。実際に、現状では、厚さが80mm~120mmの断熱ボードを使用するのが一般的である。
【先行技術文献】
【特許文献】
【0004】
特開平08-270073号公報
【発明の概要】
【発明が解決しようとする課題】
【0005】
しかしながら、厚さが120mm以下の断熱ボードしか使用できないと、さらに高い断熱性を獲得することが難しい。
【0006】
本発明はかかる点に鑑みてなされたものであり、優れた断熱性を有する建物を提供することにある。
【課題を解決するための手段】
【0007】
このような目的は、下記の発明により達成される。
【0008】
(1) 外壁に面する部分において、
共に鉛直方向に延び、隣り合う一対の第1内側垂直材および第2内側垂直材を備える内側躯体と、
前記内側躯体と前記外壁との間に位置し、前記第1内側垂直材の前記外壁側に並んで配置され鉛直方向に延びる第1外側垂直材および前記第2内側垂直材の前記外壁側に並んで配置され鉛直方向に延びる第2外側垂直材を備える外側躯体と、
前記第1外側垂直材および前記第2外側垂直材の間に形成された外側空間と、前記第1内側垂直材および前記第2内側垂直材の間に形成された内側空間と、を備え、厚さが200mm以上の第1空間と、を有することを特徴とする建物。
【0009】
(2) 前記第1内側垂直材、前記第2内側垂直材、前記第1外側垂直材および前記第2外側垂直材は、それぞれ、厚さが120mm以上である上記(1)に記載の建物。
【0010】
(3) 前記第1空間内に配置され、厚さが200mm以上、かつ、前記第1空間の厚さ以下である第1断熱ボードを有する上記(1)に記載の建物。
(【0011】以降は省略されています)
この特許をJ-PlatPat(特許庁公式サイト)で参照する
関連特許
成友建設株式会社
建物
3か月前
個人
接合構造
2か月前
個人
タッチミー
2か月前
個人
安心補助てすり
1か月前
個人
ベンリナアングル
2か月前
個人
免震建築構造
7日前
個人
住宅の省エネ方法
3日前
株式会社シンケン
住宅
1か月前
株式会社フジタ
合成床
7日前
個人
防災建築物
1か月前
株式会社熊谷組
吊り治具
2か月前
三協立山株式会社
構造体
1か月前
株式会社大林組
接合構造
1か月前
株式会社熊谷組
床構成材
2か月前
三協立山株式会社
構造体
1か月前
三洋工業株式会社
床構造
1か月前
三協立山株式会社
構造体
1か月前
鹿島建設株式会社
解体方法
1か月前
鹿島建設株式会社
制震架構
1か月前
ミサワホーム株式会社
玄関
1か月前
ミサワホーム株式会社
住宅
1か月前
岡部株式会社
柱梁接合構造
22日前
鹿島建設株式会社
接合構造
1か月前
鹿島建設株式会社
補強構造
7日前
株式会社タカショー
塀
1か月前
株式会社竹中工務店
建物構造
1か月前
日精株式会社
機械式駐車装置
2か月前
株式会社オカムラ
移動式什器
1か月前
日精株式会社
機械式駐車装置
1か月前
株式会社熊谷組
木材接合部材
2か月前
株式会社タカショー
塀
1か月前
株式会社 シコク
手摺り装置
1か月前
極東開発工業株式会社
駐車装置
1か月前
ミサワホーム株式会社
床パネル
1日前
積水ハウス株式会社
建築物
14日前
個人
木造建築物の建築方法
28日前
続きを見る
他の特許を見る