TOP
|
特許
|
意匠
|
商標
特許ウォッチ
Twitter
他の特許を見る
公開番号
2025127741
公報種別
公開特許公報(A)
公開日
2025-09-02
出願番号
2024024632
出願日
2024-02-21
発明の名称
検査用基材及びその製造方法
出願人
イトマン株式会社
,
国立大学法人愛媛大学
代理人
個人
,
個人
主分類
G01N
33/543 20060101AFI20250826BHJP(測定;試験)
要約
【課題】取り扱い性に優れたニトロセルロース膜に代わる抗体定着性と流路的性能を併せ持つ検査用基材を提供する。
【解決手段】本発明の検査用基材1は、検査用の基材であって、液体が毛細管現象により通液可能な抗体固定化機能を有する平板状の流路部10を備えており、流路部10は、本体部11と検出部12とを有しており、流路部10が繊維状の部材14と抗体と結合し得る定着化合物Mとを含有する。抗体定着性と流路的性能を発揮させつつ機械的強度を向上させた検査用の基材を提供することができる。
【選択図】図1
特許請求の範囲
【請求項1】
検査用の基材であって、
液体が毛細管現象により通液可能な抗体固定化機能を有する平板状の流路部を備えており、
前記流路部は、
本体部と、検出部と、を有しており、
該流路部が、
繊維状の部材と、抗体と結合し得る定着化合物と、を含有する
ことを特徴とする検査用基材。
続きを表示(約 1,200 文字)
【請求項2】
前記流路部は、
厚み変化が0.4以上であり、
該厚み変化は、
9.9MPaのプレス荷重で加圧した際における、プレス前の厚みとプレス後の厚みの比(プレス後の厚み/プレス前の厚み)に基づいて算出される値である
ことを特徴とする請求項1記載の検査用基材。
【請求項3】
前記流路部は、
進液時間変化が3以下であり、
該進液時間変化は、
9.9MPaのプレス荷重で加圧した際における、プレス前の進液時間とプレス後の進液時間の比(プレス後の進液時間/プレス前の進液時間)に基づいて算出される値である
ことを特徴とする請求項1または2記載の検査用基材。
【請求項4】
前記定着化合物は、
アミノ基、カルボキシ基、フェニル基、ニトロ基、スルホ基、水酸基、アルコキシ基、シクロヘキシル基、エステル基、アミド基、アルデヒド基、ケトン基、エーテル基、ニトリル基、ハロゲン基、リン酸基、ケイ酸基、酸無水物基を含む群から選択される官能基を1種または2種以上を有する
ことを特徴とする請求項1または2記載の検査用基材。
【請求項5】
前記定着化合物が、
ニトロ化合物、芳香族化合物、アミン化合物、カルボキシ化合物、硫酸系化合物、多糖類、アルコキシド、硝酸エステル化合物からなる群より選ばれた1種又は2種以上の化合物を含む
ことを特徴とする請求項1または2記載の検査用基材。
【請求項6】
前記流路部は、
繊維状の部材が樹脂製であり、該繊維状の部材同士を連結し得るバインダー部材と、を含有しており、
前記バインダー部材が、
ナノファイバー膜とナノファイバー層とを有している
ことを特徴とする請求項1または2記載の検査用基材。
【請求項7】
前記流路部が、
バインダー部材を含有しており、
該バインダー部材が、
ナノファイバー膜とナノファイバー層とを有している
ことを特徴とする請求項1または2記載の検査用基材。
【請求項8】
前記流路部が、
前記繊維状の部材間に配置にされる粒状部材を含有している
ことを特徴とする請求項1または2記載の検査用基材。
【請求項9】
前記流路部を保持するベース部を備えている
ことを特徴とする請求項1または2記載の検査用基材。
【請求項10】
検査用の基材を製造する方法であって、
形成部材と定着化合物とを含有する混合液カラーを調製する工程と、
混合液カラーをシート状に塗工してシート部材を形成する工程と、
塗工して得られたシート部材を乾燥する乾燥工程と、
乾燥後のシート部材を短冊状に切断する工程と、を含み、
前記形成部材が、繊維状の部材を含有する
ことを特徴とする検査用基材の製造方法。
発明の詳細な説明
【技術分野】
【0001】
本発明は、検査用基材及びその製造方法に関する。さらに詳しくは、イムノアッセイ等の検査に用いられる検査用基材とその製造方法である。
続きを表示(約 2,200 文字)
【背景技術】
【0002】
検体中のウイルスや細菌、ホルモンなどの検査には、イムノアッセイが採用されている。そして、イムノアッセイの中でも、迅速簡易検査法として汎用されている手法が、イムノクロマトグラフィである。この手法は、クロマトグラフィを用いて検体中のウイルス等(以下、抗原という。)の有無を発色の違いにより目視で判定するという手法である。
【0003】
具体的には、検体を検査キットの検体滴下部位に供給し、検体中の抗原を固定相の上流に配置された金コロイド等で標識された標識抗体と複合体を形成させながら固定相中を毛細管現象によりテストラインまで移動させる。このテストラインには、抗原と結合する別の抗体(以下、固定化抗体という。)が配置されている。そして、複合体がこのテストラインに到着するとテストラインに定着されている固定化抗体に捕捉され、発色(呈色)する。この発色は、目視により容易に判定することができるため、イムノクロマトグラフィを用いた検査手法は、妊娠診断やインフルエンザ診断等に広く利用されている。例えば、特許文献1,2には、ニトロセルロース膜を固定相とし、この上にテストラインとして所望の固相抗体を定着させた検査キットが開示されている。
【先行技術文献】
【特許文献】
【0004】
特許第4372349号公報
特表2020-515365号公報
【発明の概要】
【発明が解決しようとする課題】
【0005】
特許文献1,2に示すように、従来のイムノクロマトグラフィを利用した検査キットでは、固定相として、通常、ニトロセルロース膜が用いられている。その理由は、ニトロセルロース膜が、抗体定着性と流路的性能を併せ持つ類を見ない部材であるからである。一方、ニトロセルロース膜は、脆く壊れやすいという欠点がある。このため、加圧されたり曲げなどの力が加わると割れたり潰れたりするため取り扱い難いという問題がある。
しかしながら、現状、イムノクロマトグラフィを利用した検査キットにおける固定相としてニトロセルロース膜に代わる部材は存在しないというのが実情である。
また、従来のイムノクロマトグラフィを利用した検査キットでは、複数のパーツの組み合わせで製品を作製しているため、組み立て工程が複雑となり、高コスト性が問題となっている。
【0006】
本発明は上記事情に鑑み、取り扱い性に優れたニトロセルロース膜に代わる抗体定着性と流路的性能を併せ持つ検査用基材を提供することを目的とする。
【課題を解決するための手段】
【0007】
本発明の検査用基材は、検査用の基材であって、液体が毛細管現象により通液可能な抗体固定化機能を有する平板状の流路部を備えており、前記流路部は、本体部と、検出部と、を有しており、該流路部が、繊維状の部材と、抗体と結合し得る定着化合物と、を含有することを特徴とする。
本発明の検査用基材の製造方法は、検査用の基材を製造する方法であって、形成部材と定着化合物とを含有する混合液カラーを調製する工程と、混合液カラーをシート状に塗工してシート部材を形成する工程と、塗工して得られたシート部材を乾燥する乾燥工程と、乾燥後のシート部材を短冊状に切断する工程と、を含み、前記形成部材が、繊維状の部材を含有することを特徴とする。
【発明の効果】
【0008】
本発明の検査用基材によれば、抗体定着性と流路的性能を発揮させつつ機械的強度を向上させた検査用の基材を提供することができる。
本発明の検査用基材の製造方法を用いれば、本発明の検査用基材を簡単な操作で製造することができる。
【図面の簡単な説明】
【0009】
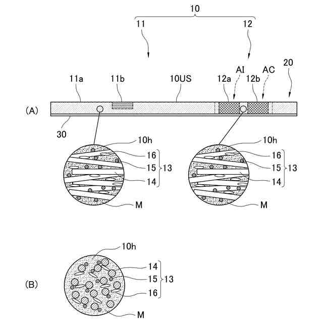
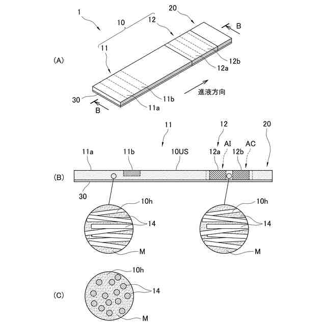
本実施形態の検査用基材1の概略説明図であり、流路部10と吸収部20とベース部30とを備えた状態の概略説明であり、形成部材13として繊維14を用いた場合の概略説明図である。図1(B)は図1(A)のBB線概略断面説明図であり、図1(C)は、図1(B)の左の拡大図を進液方向から見た際の概略説明図である。
本実施形態の検査用基材1の流路部10の概略説明図であり、形成部材13として繊維14と粒状部材15とバインダー部材16を用いた状態の概略説明図であり、図2(B)は、図2(A)の左の拡大図を進液方向から見た際の概略説明図である。
本実施形態の検査用基材1に検査の状況の概略説明図である。
実験結果を示した図である。
実験結果を示した図である。
実験結果を示した図である。
実験結果を示した図である。
実験結果を示した図である。
実験結果を示した図である。
実験結果を示した図である。
実験結果を示した図である。
実験結果を示した図である。
実験結果を示した図である。
【発明を実施するための形態】
【0010】
つぎに、図面に基づいて、本発明の実施形態を説明する。
本実施形態の検査用基材は、検査用の基材であって、抗体定着性と流路的性能に加え、機械的強度を向上させたことに特徴を有している。
まず、本実施形態の検査用基材について概略を説明し、ついで詳細を説明する。
(【0011】以降は省略されています)
この特許をJ-PlatPat(特許庁公式サイト)で参照する
関連特許
イトマン株式会社
検査用基材及びその製造方法
2か月前
日本精機株式会社
検出装置
23日前
個人
計量機能付き容器
18日前
日本精機株式会社
発光表示装置
1日前
甲神電機株式会社
電流検出装置
23日前
株式会社カクマル
境界杭
8日前
大成建設株式会社
風洞実験装置
18日前
個人
計量具及び計量機能付き容器
18日前
個人
非接触による電磁パルスの測定方法
21日前
双庸電子株式会社
誤配線検査装置
24日前
日本特殊陶業株式会社
ガスセンサ
16日前
日本信号株式会社
距離画像センサ
21日前
日本特殊陶業株式会社
センサ
2日前
キーコム株式会社
画像作成システム
8日前
個人
液位検視及び品質監視システム
16日前
日東精工株式会社
振動波形検査装置
24日前
株式会社不二越
X線測定装置
21日前
株式会社電巧社
試験装置及び試験方法
24日前
株式会社マグネア
磁界検出素子
21日前
株式会社エルメックス
希釈液収容容器
18日前
理研計器株式会社
ガス検知装置
8日前
合同会社画像技術研究所
カラーチャート
14日前
日本特殊陶業株式会社
化学センサ
23日前
株式会社川島製作所
海苔の異物検査装置
14日前
IMV株式会社
振動試験システム
21日前
株式会社アイシン
回転角検出装置
8日前
三菱電機株式会社
検査治具および検査装置
21日前
シチズンファインデバイス株式会社
外形検査装置
17日前
株式会社イシダ
計量装置
8日前
京セラ株式会社
振動検出方法
1日前
株式会社ディスコ
試験装置、及び、試験方法
1日前
矢崎総業株式会社
光ファイバ型センサ
1日前
個人
試料霧化導入装置
22日前
浜松ホトニクス株式会社
分光装置
21日前
株式会社鷺宮製作所
材料試験装置
22日前
キヤノン株式会社
測距装置
23日前
続きを見る
他の特許を見る