TOP
|
特許
|
意匠
|
商標
特許ウォッチ
Twitter
他の特許を見る
10個以上の画像は省略されています。
公開番号
2025125615
公報種別
公開特許公報(A)
公開日
2025-08-28
出願番号
2024021648
出願日
2024-02-16
発明の名称
車両用灯具
出願人
日亜化学工業株式会社
代理人
個人
,
個人
主分類
F21S
41/27 20180101AFI20250821BHJP(照明)
要約
【課題】車両用灯具の照射領域に関する法規を満たすことができる配光角が大きい光を照射可能な車両用灯具を提供する。
【解決手段】車両用灯具は、第1方向に並んで配置される複数の発光部を含む光源部と、前記光源部と離隔して配置され、前記光源部から出射される光を透過させる第1レンズと、前記第1レンズと前記光源部との間であって、前記第1方向と直交する第2方向において、前記複数の発光部よりも下方に配置され、前記光源部から出射された光を反射する反射面を含むリフレクタと、を有し、前記第1レンズは、前記第1方向及び前記第2方向に正の屈折力を有する第1の部分と、前記第2方向における屈折力が前記第1方向における屈折力よりも小さい第2の部分と、を含み、前記第1の部分の前記第2方向における屈折力は、前記第2の部分の前記第2方向における屈折力よりも大きい。
【選択図】図1
特許請求の範囲
【請求項1】
第1方向に並んで配置される複数の発光部を含む光源部と、
前記光源部と離隔して配置され、前記光源部から出射される光を透過させる第1レンズと、
前記第1レンズと前記光源部との間であって、前記第1方向と直交する第2方向において、前記複数の発光部よりも下方に配置され、前記光源部から出射された光を反射する反射面を含むリフレクタと、を有し、
前記第1レンズは、
前記第1方向及び前記第2方向に正の屈折力を有する第1の部分と、
前記第2方向における屈折力が前記第1方向における屈折力よりも小さい第2の部分と、を含み、
前記第1の部分の前記第2方向における屈折力は、前記第2の部分の前記第2方向における屈折力よりも大きい、車両用灯具。
続きを表示(約 800 文字)
【請求項2】
前記第2の部分は、前記第2方向において、前記第1の部分よりも上方に位置する、請求項1に記載の車両用灯具。
【請求項3】
前記第1の部分は、前記第2方向において、前記第1方向における前記第1レンズの光軸よりも下方に位置する、請求項1又は請求項2に記載の車両用灯具。
【請求項4】
前記第2の部分は、前記第2方向において、前記第1レンズの光軸よりも下方に位置する部分を含む、請求項1又は請求項2に記載の車両用灯具。
【請求項5】
前記第2の部分は、前記第1方向に正の屈折力を有し、前記第2方向に屈折力を有さない円筒体である、請求項1又は請求項2に記載の車両用灯具。
【請求項6】
前記リフレクタの前記反射面は、前記第2方向に曲率を有し、かつ前記第1方向に曲率を有さない円筒面である、請求項1又は請求項2に記載の車両用灯具。
【請求項7】
前記複数の発光部は、前記第1方向に一列に並んでいる、請求項1又は請求項2に記載の車両用灯具。
【請求項8】
前記複数の発光部のうち、隣接する前記発光部のそれぞれが備える発光面の間の間隔は、0.05mm以下である、請求項7に記載の車両用灯具。
【請求項9】
前記複数の発光部のそれぞれに対応する複数のワイヤを有し、
前記複数のワイヤのそれぞれは、前記第2方向において、前記発光部を基準とし、同一方向に配置され、
前記リフレクタは、前記第2方向において、前記発光部を基準とし、前記複数のワイヤが位置する側とは反対側に配置される、請求項8に記載の車両用灯具。
【請求項10】
前記複数の発光部は、個別に点灯制御可能である、請求項1又は請求項2に記載の車両用灯具。
(【請求項11】以降は省略されています)
発明の詳細な説明
【技術分野】
【0001】
本開示は、車両用灯具に関する。
続きを表示(約 2,600 文字)
【背景技術】
【0002】
従来、LED(Light Emitting Diode)等の発光素子を有する車両用灯具が知られている。例えば、特許文献1には、発光チップを有する半導体型の光源部と、光源部の前方側に配置されたレンズと、レンズと光源部の間の位置であって、発光チップよりも鉛直方向下側に配置されたリフレクタと、を有する車両用灯具が開示されている。
【先行技術文献】
【特許文献】
【0003】
特開2017-195116号公報
【発明の概要】
【発明が解決しようとする課題】
【0004】
車両用灯具は、照射領域ごとに必要な光量の下限または上限が規格で決まっているため、配光角の制御が必要である。本開示に係る実施形態は、車両用灯具の照射領域に関する法規を満たすことができる配光角が大きい光を照射可能な車両用灯具を提供することを目的とする。
【課題を解決するための手段】
【0005】
本開示の一実施形態に係る車両用灯具は、第1方向に並んで配置される複数の発光部を含む光源部と、前記光源部と離隔して配置され、前記光源部から出射される光を透過させる第1レンズと、前記第1レンズと前記光源部との間であって、前記第1方向と直交する第2方向において、前記複数の発光部よりも下方に配置され、前記光源部から出射された光を反射する反射面を含むリフレクタと、を有し、前記第1レンズは、前記第1方向及び前記第2方向に正の屈折力を有する第1の部分と、前記第2方向における屈折力が前記第1方向における屈折力よりも小さい第2の部分と、を含み、前記第1の部分の前記第2方向における屈折力は、前記第2の部分の前記第2方向における屈折力よりも大きい。
【発明の効果】
【0006】
本開示に係る実施形態によれば、車両用灯具の照射領域に関する法規を満たすことができる配光角が大きい光を照射可能な車両用灯具を提供することができる。
【図面の簡単な説明】
【0007】
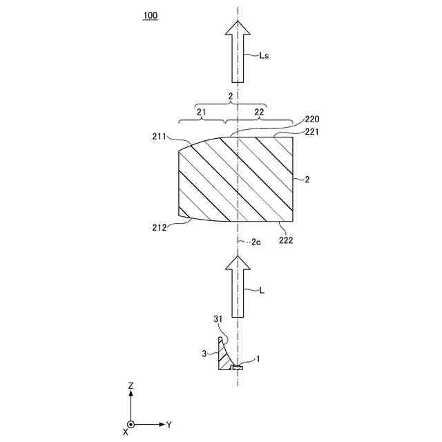
第1実施形態に係る車両用灯具の全体構成を示す模式的斜視図である。
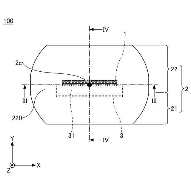
第1実施形態に係る車両用灯具の全体構成を示す模式的正面図である。
図2におけるIII-III線の模式的断面図である。
図2におけるIV-IV線の模式的断面図である。
第1実施形態に係る車両用灯具が備える光源部の周辺の構成を示す模式的正面図である。
図5におけるVI領域の模式的拡大図である。
図5におけるVII-VII線の模式的断面図である。
第1実施形態に係る車両用灯具における第1レンズの第1の部分及び第2の部分それぞれの焦点と光源部の発光部との位置関係を示す第1レンズ及び光源部の模式的側面図である。
第1実施形態に係る車両用灯具における第1レンズの第1の部分及び第2の部分それぞれの焦点と光源部の発光面との位置関係を示す光源部の模式的正面図である。
第1実施形態に係る車両用灯具が備えるリフレクタで反射された後、第1レンズの第1の部分を透過する光を示す車両用灯具の模式的側面図である。
第1実施形態に係る車両用灯具が備える第1レンズの第1の部分を透過して出射される第1照射光の模式的正面図である。
第1実施形態に係る車両用灯具が備えるリフレクタで反射された後、第1レンズの第2の部分を透過する光を示す車両用灯具の模式的側面図である。
第1実施形態に係る車両用灯具が備える第1レンズの第2の部分を透過して出射される第2照射光の模式的正面図である。
第1実施形態に係る車両用灯具による照射光の第1例を示す模式的正面図である。
第1実施形態に係る車両用灯具による照射光の第2例を示す模式的正面図である。
第1実施形態に係る車両用灯具による照射光の第2例を示す模式的上面図である。
第2実施形態に係る車両用灯具の全体構成を示す模式的正面図である。
図17におけるXVIII-XVIII線の断面図である。
第2実施形態に係る車両用灯具による照射光の第1例を示す模式的正面図である。
第2実施形態に係る車両用灯具による照射光の第2例を示す模式的正面図である。
【発明を実施するための形態】
【0008】
本開示の実施形態に係る車両用灯具について図面を参照しながら詳細に説明する。但し、以下に示す形態は、本開示の技術思想を具現化するための車両用灯具を例示するものであって、以下に限定するものではない。また、実施形態に記載されている構成部の寸法、材質、形状、その相対的配置等は、特定的な記載がない限り、本開示の範囲をそれのみに限定する趣旨ではなく、単なる説明例にすぎない。なお、各図面が示す部材の大きさ、位置関係等は、説明を明確にするため誇張していることがある。また、以下の説明において、同一の名称、符号については同一もしくは同質の部材を示しており詳細説明を適宜省略する。断面図として、切断面のみを示す端面図を用いる場合がある。
【0009】
各図面において、方向表現として、X軸、Y軸およびZ軸を有する直交座標を用いる。X軸、Y軸およびZ軸は、互いに直交する。X軸に沿うX方向は第1方向に対応する。Y軸に沿うY方向は第2方向に対応する。Z軸に沿うZ方向は、第1方向及び第2方向のそれぞれに交差する第3方向に対応する。以下、X方向を第1方向Xと表記する。Y方向を第2方向Yと表記する。Z方向を第3方向Zと表記する。X方向において矢印が向いている方向を側方と表記する。Y方向において矢印が向いている方向を上方、上方の反対方向を下方と表記する。Z方向において矢印が向いている方向を前方、前方の反対方向を後方とする。本明細書に示す例では、実施形態に係る車両用灯具は、前方に光を出射するものとする。
【0010】
本明細書において、上面図とは、対象物を上方から視た図をいう。正面図とは、対象物を前方から視た図をいう。側面図とは、対象物を側方から視た図をいう。本明細書において、X軸、Y軸およびZ軸に沿うとは、対象物がこれら軸に対して±20°の範囲内の傾きを有することを含む。
(【0011】以降は省略されています)
この特許をJ-PlatPat(特許庁公式サイト)で参照する
関連特許
日亜化学工業株式会社
発光装置
今日
日亜化学工業株式会社
発光素子
1日前
日亜化学工業株式会社
発光素子
9日前
日亜化学工業株式会社
光源及び基板
21日前
日亜化学工業株式会社
窒化物半導体発光素子
11日前
日亜化学工業株式会社
発光装置、および面状光源
1日前
日亜化学工業株式会社
配置部材、及び、発光装置
今日
日亜化学工業株式会社
半導体素子およびその製造方法
1日前
日亜化学工業株式会社
発光装置の製造方法及び発光装置
1日前
日亜化学工業株式会社
発光装置、および発光装置の製造方法
2日前
日亜化学工業株式会社
光源装置およびそれらを有する加熱システム
2日前
日亜化学工業株式会社
発光装置、発光モジュール、発光装置の製造方法
8日前
日亜化学工業株式会社
セラミックス基板の製造方法及び発光装置の製造方法
今日
日亜化学工業株式会社
ケイ酸塩蛍光体、発光装置及びケイ酸塩蛍光体の製造方法
15日前
日亜化学工業株式会社
発光装置
4日前
日亜化学工業株式会社
光源装置
11日前
日亜化学工業株式会社
基体部材および発光装置
23日前
日亜化学工業株式会社
光源装置およびレンズ構造体
9日前
日亜化学工業株式会社
発光装置、およびディスプレイ
3日前
日亜化学工業株式会社
非水電解質二次電池用正極活物質及びその製造方法
10日前
個人
室外機器
3か月前
個人
照明システム
3か月前
個人
LED光源基盤
7か月前
個人
気泡を用いた遊具。
5か月前
個人
車載機器の通気構造
1か月前
株式会社遠藤照明
照明装置
21日前
株式会社遠藤照明
照明器具
8か月前
株式会社遠藤照明
照明器具
4か月前
株式会社小糸製作所
車両用灯具
3日前
株式会社小糸製作所
車両用灯具
3日前
デンカ株式会社
照明装置
3か月前
個人
LEDライト
3か月前
能美防災株式会社
表示灯
1か月前
デンカ株式会社
道路用照明
3か月前
フルトラム株式会社
光学機器
2日前
スタンレー電気株式会社
照射用光源
7日前
続きを見る
他の特許を見る