TOP
|
特許
|
意匠
|
商標
特許ウォッチ
Twitter
他の特許を見る
公開番号
2025123700
公報種別
公開特許公報(A)
公開日
2025-08-25
出願番号
2024019315
出願日
2024-02-13
発明の名称
吸気マニホールド圧力センサの応答性診断方法
出願人
株式会社ニッキ
代理人
弁理士法人平和国際特許事務所
主分類
F02D
45/00 20060101AFI20250818BHJP(燃焼機関;熱ガスまたは燃焼生成物を利用する機関設備)
要約
【課題】運転者の操作に依存しないこと、診断精度を向上させることを共に実現可能な、吸気マニホールドに備えた圧力センサの応答性診断方法を提供する。
【解決手段】火花点火式エンジンの吸気マニホールドに備えた圧力センサの応答性診断方法であって、前記エンジンのアイドル時において吸気脈動により生じる圧力脈動振幅を前記圧力センサによって計測し、計測した圧力センサ信号情報から計測最大値と計測最小値を抽出し、前記圧力センサが正常時に前記エンジンの制御装置内に予め記憶した正常最大値および正常最小値と、前記計測最大値および前記計測最小値とから演算し、前記演算結果が所定の応答性劣化条件を満たす場合には、前記圧力センサの応答性劣化があると判断する。
【選択図】図5
特許請求の範囲
【請求項1】
火花点火式エンジンの吸気マニホールドに備えた圧力センサの応答性診断方法であって、
前記エンジンのアイドル時において吸気脈動により生じる圧力脈動振幅を前記圧力センサによって計測し、
計測した圧力センサ信号情報から計測最高値と計測最低値を抽出し、
前記圧力センサが正常時に前記エンジンの制御装置内に予め記憶した正常最高値および正常最低値と、前記計測最高値および前記計測最低値とから演算し、
前記演算結果が所定の応答性劣化条件を満たす場合には、前記圧力センサの応答性劣化があると判断する、
ことを特徴とする吸気マニホールド圧力センサの応答性診断方法。
続きを表示(約 1,000 文字)
【請求項2】
前記エンジンのクランク角度が前記圧力センサ信号情報をサンプル&ホールドしつつアナログ-デジタル変換して、1サイクル中に計測した圧力センサ信号情報から前記計測最高値と前記計測最低値を抽出する、
ことを特徴とする請求項1記載の吸気マニホールド圧力センサの応答性診断方法。
【請求項3】
前記エンジンの制御装置を介して得た前記エンジンの負荷情報を基にして前記計測最低値を参照する、
ことを特徴とする請求項1記載の吸気マニホールド圧力センサの応答性診断方法。
【請求項4】
前記エンジンの回転数と前記計測最低値を入力値として、前記エンジンの制御装置内に予め記憶した前記エンジンの回転数と前記計測最低値との対応を示すマップデータから補間して補正前基準値を得て、
前記参照値を入力値として、前記エンジンの制御装置内に予め記憶した大気圧力と補正前基準値との対応を示すテーブルデータから補間して補正後基準値を得て、
前記補正後基準値から前記計測最高値を引いて差分値を得て、
所定の判定開始条件を満たした際に、前記差分値が所定の許容上限値から許容下限値の範囲内にあるか否か判定し、判定結果が否定である場合、応答性劣化条件を満たし、前記圧力センサの応答性劣化があると判断する、
ことを特徴とする請求項1記載の吸気マニホールド圧力センサの応答性診断方法。
【請求項5】
前記判定において、所定の時間または所定の回数を超えて、判定結果が否定であることが連続して成立した場合、応答性劣化条件を満たし、前記圧力センサの応答性劣化があると判断する、
ことを特徴とする請求項4記載の吸気マニホールド圧力センサの応答性診断方法。
【請求項6】
前記判定開始条件は、前記エンジンの回転数が所定の回転数閾値以下であり、且つ、前記エンジンの温度が所定の温度閾値以下である、
ことを特徴とする請求項4記載の吸気マニホールド圧力センサの応答性診断方法。
【請求項7】
前記応答性劣化条件を満たした時点で仮故障判定を行い、
その後、前記エンジンのクランク角度,前記エンジンの回転数または前記エンジンの温度を測定する各センサの正常性が確認された段階で、故障確定判定を行い、前記圧力センサの応答性劣化があると判断する、
ことを特徴とする請求項1乃至請求項6のいずれか1項に記載の吸気マニホールド圧力センサの応答性診断方法。
発明の詳細な説明
【技術分野】
【0001】
本発明は、火花点火式エンジンの吸気マニホールドに備えた圧力センサの応答性診断方法に関する。
続きを表示(約 1,500 文字)
【背景技術】
【0002】
従来、例えば車両などに搭載される火花点火式エンジンにおいて燃費や走行性能の向上を図る手段として、運転者によるアクセル操作により機械的にスロットルを開閉動作させる代わりに電子式制御システムを用いてスロットルを電子的に開閉動作させる電子制御スロットル制御装置が普及しており、例えば特開平5-240073号公報(特許文献1)、特開2008-038872号公報(特許文献2)などに記載されている。
【0003】
そして、前記電子制御スロットル制御装置では、エンジン制御を高精度に行うために電子制御ユニット装置(以下「ECU」と言う)によるエンジンの空燃比を制御する目的で、エンジン内に取り入れられる燃料と空気とからなる混合気体の圧力や排気ガスの圧力を測定するために圧力センサが吸気系および排気系に使用されている。
【0004】
通常、火花点火式エンジンの吸気系には、吸気フィルタ、スロットル、吸気マニホールドが連続して設けられており、前記吸気マニホールドに備えられて吸気圧を電圧の大小による圧力センサ信号情報として出力する圧力センサを利用することで、エンジンの空燃比を制御するものとなっている。
【0005】
この圧力センサは、使用期間に応じて特性の変化や、応答性の低下などの機能性劣化故障が発生する場合がある。機能性劣化故障により正常な圧力値が検出できなくなり、エンジン制御の精度が低下することで、排出ガスが悪化し、最悪の場合エンストを引き起こす可能性がある。
【0006】
これに対し、例えば図8のように、ドライバーがアクセルペダルを踏んだ時の加速条件で、クランクポジションセンサ(CPS)の信号毎にサンプリングする圧力センサが出力する圧力センサ信号の立ち上がり時間(Δtr)または立下り時間(Δtd)から故障診断を行う方法が知られている。
【0007】
しかしながら、このような従来の故障診断方法では、アクセルペダルを踏むという運転者の操作が必要なために、運転期間(ドライビング・サイクル)中に診断条件を満たす保証がなく、診断実行率が不安定である点、人間の操作では毎回定まった加速度・定まった車速からの加速などを再現する事が困難であり、診断精度が悪化してしまう要因となる点の2つの問題があった。
【先行技術文献】
【特許文献】
【0008】
特開平5-240073号公報
特開2008-038872号公報
【発明の概要】
【発明が解決しようとする課題】
【0009】
本発明は、運転者の操作に依存しないこと、診断精度を向上させることを共に実現可能な、吸気マニホールドに備えた圧力センサの応答性診断方法を提供することを課題とする。
【課題を解決するための手段】
【0010】
上記課題を解決するためになされた本発明は、火花点火式エンジンの吸気マニホールドに備えた圧力センサの応答性診断方法であって、
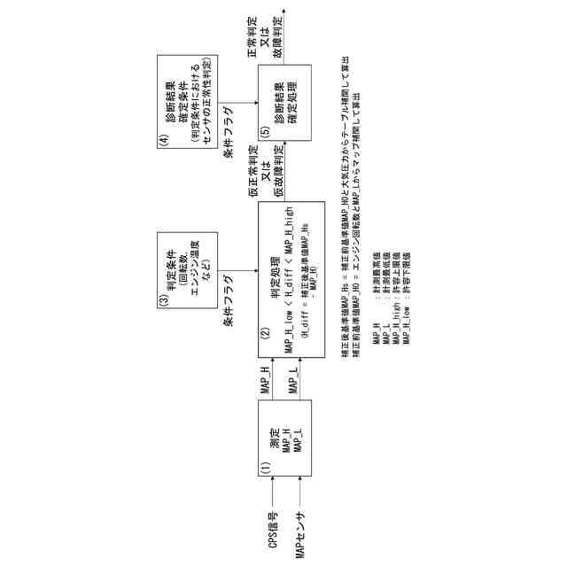
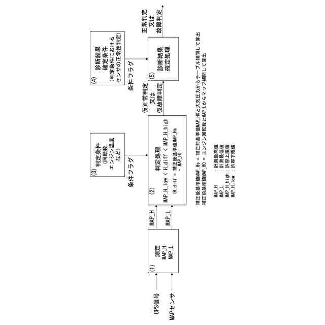
前記エンジンのアイドル時において吸気脈動により生じる圧力脈動振幅を前記圧力センサによって計測し、計測した圧力センサ信号情報から計測最大値と計測最小値を抽出し、前記圧力センサが正常時に前記エンジンの制御装置内に予め記憶した正常最大値および正常最小値と、前記計測最大値および前記計測最小値とから演算し、前記演算結果が所定の応答性劣化条件を満たす場合には、前記圧力センサの応答性劣化があると判断する、ことを特徴とする。
(【0011】以降は省略されています)
この特許をJ-PlatPat(特許庁公式サイト)で参照する
関連特許
個人
バンケル型内燃機関の改良
1か月前
個人
擬似オイル発電装置
14日前
個人
ガバナー
1日前
スズキ株式会社
車両の制御装置
1か月前
スズキ株式会社
車両の制御装置
1か月前
ダイハツ工業株式会社
発電装置
9日前
本田技研工業株式会社
車両
1か月前
本田技研工業株式会社
車両
1か月前
トヨタ自動車株式会社
電磁弁
1か月前
株式会社クボタ
作業車
1か月前
本田技研工業株式会社
内燃機関
1か月前
株式会社クボタ
作業車両
1か月前
本田技研工業株式会社
始動制御装置
1か月前
トヨタ自動車株式会社
車両制御装置
1か月前
本田技研工業株式会社
始動制御装置
1か月前
トヨタ自動車株式会社
制御装置
8日前
トヨタ自動車株式会社
電磁弁の制御装置
1か月前
トヨタ自動車株式会社
エンジン制御装置
1か月前
トヨタ自動車株式会社
燃料噴射制御装置
2日前
川崎重工業株式会社
ガスタービンエンジン
1か月前
トヨタ自動車株式会社
フレックス燃料車両
21日前
トヨタ自動車株式会社
内燃機関の制御装置
21日前
日産自動車株式会社
吸気装置
2日前
トヨタ自動車株式会社
V型8気筒エンジン
1か月前
本田技研工業株式会社
可変ファンネル装置
1か月前
トヨタ自動車株式会社
内燃機関の制御装置
8日前
Astemo株式会社
内燃機関の制御装置
8日前
大阪瓦斯株式会社
エンジンシステム
1か月前
マツダ株式会社
エンジン
1か月前
三菱重工業株式会社
燃焼筒の取付方法
1か月前
株式会社SUBARU
車両
1か月前
トヨタ自動車株式会社
水素エンジンの制御装置
29日前
富士電機株式会社
駆動回路
29日前
三菱重工業株式会社
動力装置
1か月前
スズキ株式会社
多気筒エンジンの制御装置
23日前
本田技研工業株式会社
内燃機関の制御装置
1か月前
続きを見る
他の特許を見る