TOP
|
特許
|
意匠
|
商標
特許ウォッチ
Twitter
他の特許を見る
公開番号
2025119306
公報種別
公開特許公報(A)
公開日
2025-08-14
出願番号
2024014127
出願日
2024-02-01
発明の名称
反射フィルム
出願人
日東電工株式会社
代理人
弁理士法人いくみ特許事務所
主分類
B32B
27/00 20060101AFI20250806BHJP(積層体)
要約
【課題】硬化樹脂層の外表面において、粘着剤に対する密着性と、受傷しにくさとを両立できる、反射フィルムを提供する。
【解決手段】本発明の反射フィルム100は、基材フィルム10と、金属反射層20と、硬化樹脂層50とを、反射フィルム厚み方向にこの順で備える。硬化樹脂層50における金属反射層20とは反対側の外表面51の算術平均高さSaが、0.17μm以上、0.30μm以下である。
【選択図】図1
特許請求の範囲
【請求項1】
基材フィルムと、金属反射層と、硬化樹脂層とを厚み方向にこの順で備える反射フィルムであって、
前記硬化樹脂層における前記金属反射層とは反対側の外表面の算術平均高さSaが、0.17μm以上、0.30μm以下である、反射フィルム。
続きを表示(約 260 文字)
【請求項2】
前記硬化樹脂層における前記金属反射層とは反対側の外表面の最大高さSzが、5.0μm以下である、請求項1に記載の反射フィルム。
【請求項3】
前記金属反射層が、アルミニウム層である、請求項1に記載の反射フィルム。
【請求項4】
前記金属反射層と前記硬化樹脂層との間に、金属酸化物層をさらに備える、請求項1から3のいずれか1項に記載の反射フィルム。
【請求項5】
前記金属酸化物層が、インジウムスズ酸化物層である、請求項4に記載の反射フィルム。
発明の詳細な説明
【技術分野】
【0001】
本発明は、反射フィルムに関する。
続きを表示(約 1,100 文字)
【背景技術】
【0002】
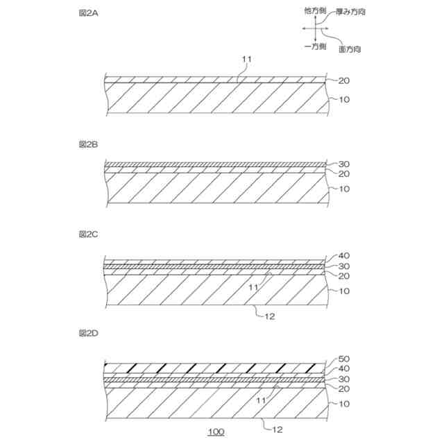
液晶表示装置は、画像表示面を有する液晶パネルと、液晶パネルの背面に向けて光を出射するバックライトと、これらを収容する筐体とを備える。筐体は、画像表示面まわりの枠としてのベゼル部を有する。ベゼル部内の内壁面には、反射フィルムが配置される。
【0003】
反射フィルムは、基材フィルムと、金属反射層と、オーバーコート(OC)としての硬化樹脂層とを、厚み方向にこの順で備える。反射フィルムのOC側が粘着剤を介して内壁面に接合されることにより、反射フィルムはベゼル部内に組み付けられる。反射フィルムは、ベゼル部内において、バックライトからの光を金属反射層によって液晶パネルに向けて反射する。これにより、バックライトからの光が有効活用される。このような反射フィルムとして、白色樹脂フィルムと、金属薄膜層と、コート層とを厚み方向にこの順で備える反射・遮光性粘着テープが知られている(例えば、下記特許文献1参照)。
【先行技術文献】
【特許文献】
【0004】
特開2004-184443号公報
【発明の概要】
【発明が解決しようとする課題】
【0005】
上記したように反射フィルムは、粘着剤を用いて内壁面に接合されるため、粘着剤に対する密着性が求められる。しかし、密着性が高すぎるOCは、滑り性に欠ける。滑り性に欠けるOCは、周辺部材との接触の際に受傷しやすくなる。
【0006】
本発明は、反射フィルムにおける硬化樹脂層の外表面において、粘着剤に対する密着性と、受傷しにくさとを両立できる、反射フィルムを提供する。
【課題を解決するための手段】
【0007】
本発明[1]は、基材フィルムと、金属反射層と、硬化樹脂層とを厚み方向にこの順で備える反射フィルムであって、前記硬化樹脂層における前記金属反射層とは反対側の外表面の算術平均高さSaが、0.17μm以上、0.30μm以下である、反射フィルムである。
【0008】
本発明[2]は、前記硬化樹脂層における前記金属反射層とは反対側の外表面の最大高さSzが、5.0μm以下である、上記[1]の反射フィルムである。
【0009】
本発明[3]は、前記金属反射層が、アルミニウム層である、上記[1]の反射フィルムである。
【0010】
本発明[4]は、前記金属反射層と前記硬化樹脂層との間に、金属酸化物層をさらに備える、上記[1]から[3]のいずれか1項の反射フィルムである。
(【0011】以降は省略されています)
この特許をJ-PlatPat(特許庁公式サイト)で参照する
関連特許
日東電工株式会社
積層体
4日前
日東電工株式会社
吸着材
10日前
日東電工株式会社
発光装置
11日前
日東電工株式会社
電子装置
6日前
日東電工株式会社
照明装置
3日前
日東電工株式会社
粘着シート
3日前
日東電工株式会社
光学積層体
1か月前
日東電工株式会社
粘着シート
3日前
日東電工株式会社
光学積層体
25日前
日東電工株式会社
光ファイバ
5日前
日東電工株式会社
調光フィルム
4日前
日東電工株式会社
スイッチ装置
11日前
日東電工株式会社
粘着剤組成物
5日前
日東電工株式会社
粘着剤組成物
5日前
日東電工株式会社
温度測定装置
5日前
日東電工株式会社
温度測定装置
5日前
日東電工株式会社
複合ケーブル
1か月前
日東電工株式会社
スイッチ装置
3日前
日東電工株式会社
偏光フィルム
1か月前
日東電工株式会社
光学粘着シート
12日前
日東電工株式会社
光学粘着シート
12日前
日東電工株式会社
光学粘着シート
12日前
日東電工株式会社
ガラス樹脂複合体
1か月前
日東電工株式会社
反射防止フィルム
10日前
日東電工株式会社
反射防止フィルム
10日前
日東電工株式会社
ロール体の製造方法
14日前
日東電工株式会社
調光用導電性フィルム
24日前
日東電工株式会社
導光体、及び照明装置
3日前
日東電工株式会社
光学積層体の製造方法
11日前
日東電工株式会社
光学積層体の製造方法
11日前
日東電工株式会社
光学積層体の製造方法
1か月前
日東電工株式会社
配線回路基板の製造方法
3日前
日東電工株式会社
積層フィルムの製造方法
4日前
日東電工株式会社
分離機能層、及び分離膜
3日前
日東電工株式会社
積層フィルムの製造方法
4日前
日東電工株式会社
ウレア化合物の製造方法
18日前
続きを見る
他の特許を見る