TOP
|
特許
|
意匠
|
商標
特許ウォッチ
Twitter
他の特許を見る
公開番号
2025115494
公報種別
公開特許公報(A)
公開日
2025-08-07
出願番号
2024009970
出願日
2024-01-26
発明の名称
電源システム、電源システムの制御方法及び電源システムの制御プログラム
出願人
日新電機株式会社
代理人
個人
,
個人
,
個人
,
個人
,
個人
,
個人
主分類
H02M
7/48 20070101AFI20250731BHJP(電力の発電,変換,配電)
要約
【課題】電力系統の異常時に負荷の電圧を補償するために交流電力を給電する三相電力変換器を備える電源システムにおいて、二線短絡時における補償時間をさらに延長させる。
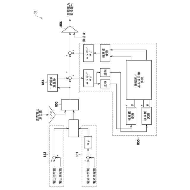
【解決手段】異常時に電力系統からの給電を遮断し、直流電源から給電する電源システムであって、電力系統から負荷の電力線を開閉するスイッチ、直流電源の電力を変換して電力線に給電する三相電力変換器及び三相電力変換器制御部85を備える。三相電力変換器制御部851は、電力系統の異常時にスイッチを開放し、負荷の補償電圧を算出する補償電圧算出部852、補償電圧と直流電圧に基づいて指令電圧を算出する指令電圧算出部853、重畳三次調波を算出して指令電圧に重畳する三次調波重畳部854及び重畳三次調波が重畳された重畳後指令電圧にて各相の振幅差を算出し、振幅差を低減する基本波を算出し、重畳後指令電圧に重畳させる基本波重畳部855を有する。
【選択図】図3
特許請求の範囲
【請求項1】
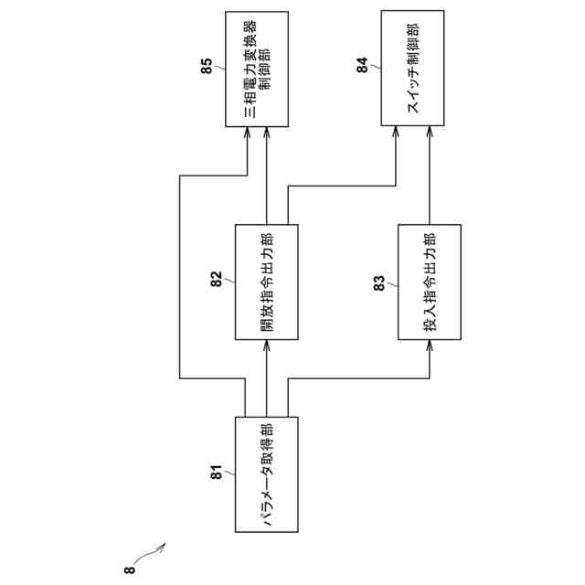
電力系統の正常時に電力系統から負荷に給電し、前記電力系統の異常時に前記電力系統から前記負荷への給電を遮断するとともに、直流電源から前記負荷に給電する電源システムであって、
前記電力系統から前記負荷に給電するための電力線に設けられ、前記電力線を開閉するスイッチと、
前記直流電源からの直流電力を三相の交流電力に変換して前記電力線に給電する三相電力変換器と、
前記三相電力変換器を制御する三相電力変換器制御部とを備え、
前記三相電力変換器制御部は、
前記電力系統の異常時に前記スイッチの開放が完了した場合に、前記負荷を補償する電圧である補償電圧を算出する補償電圧算出部と、
前記直流電源が出力する電圧である直流電圧を取得して、前記補償電圧及び前記直流電圧に基づいて、前記三相電力変換器に出力させる電圧である指令電圧を算出する指令電圧算出部と、
前記指令電圧に重畳させるための三次調波である重畳三次調波を算出し、前記重畳三次調波を前記指令電圧に重畳する三次調波重畳部と、
前記重畳三次調波が重畳された後の指令電圧である重畳後指令電圧における各相の振幅差を算出して、前記各相の振幅差を低減させる基本波を算出し、前記基本波を前記重畳後指令電圧に重畳させる基本波重畳部とを有する、電源システム。
続きを表示(約 1,600 文字)
【請求項2】
前記基本波重畳部は、前記各相の振幅差を0にする基本波を算出する、請求項1に記載の電源システム。
【請求項3】
前記基本波重畳部は、前記重畳後指令電圧を正相成分及び逆相成分に分離して、前記正相成分及び前記逆相成分に基づいて前記各相の振幅差を算出する、請求項1に記載の電源システム。
【請求項4】
前記三次調波重畳部は、前記指令電圧を正相成分及び逆相成分に分離して、前記正相成分の振幅及び位相に基づいて前記正相成分に対応する三次調波である正相三次調波を算出するとともに、前記逆相成分の振幅及び位相に基づいて前記逆相成分に対応する三次調波である逆相三次調波を算出し、前記正相三次調波及び前記逆相三次調波を合成することによって前記重畳三次調波を算出する、請求項1に記載の電源システム。
【請求項5】
前記三相電力変換器は、前記電力線に直列に接続される、請求項1に記載の電源システム。
【請求項6】
前記直流電源はコンデンサである、請求項1乃至5の何れか一項に記載の電源システム。
【請求項7】
電力系統の正常時に電力系統から負荷に給電し、前記電力系統の異常時に前記電力系統から前記負荷への給電を遮断するとともに、直流電源から前記負荷に給電する電源システムの制御方法であって、
前記電源システムは、
前記電力系統から前記負荷に給電するための電力線に設けられ、前記電力線を開閉するスイッチと、
前記直流電源からの直流電力を三相の交流電力に変換して前記電力線に給電する三相電力変換器とを備え、
前記電源システムの制御方法は、
前記電力系統の異常時に前記スイッチの開放が完了した場合に、前記負荷を補償する電圧である補償電圧を算出し、
前記直流電源が出力する電圧である直流電圧を取得して、前記補償電圧及び前記直流電圧に基づいて、前記三相電力変換器に出力し、
前記指令電圧に重畳させるための三次調波である重畳三次調波を算出し、前記重畳三次調波を前記指令電圧に重畳し、
前記重畳三次調波が重畳された後の指令電圧である重畳後指令電圧における各相の振幅差を算出して、前記各相の振幅差を低減させる基本波を算出し、前記基本波を前記重畳後指令電圧に重畳させる、電源システムの制御方法。
【請求項8】
電力系統の正常時に電力系統から負荷に給電し、前記電力系統の異常時に前記電力系統から前記負荷への給電を遮断するとともに、直流電源から前記負荷に給電する電源システムの制御プログラムであって、
前記電源システムは、
前記電力系統から前記負荷に給電するための電力線に設けられ、前記電力線を開閉するスイッチと、
前記直流電源からの直流電力を三相の交流電力に変換して前記電力線に給電する三相電力変換器とを備え、
前記電源システムの制御プログラムは、
前記電力系統の異常時に前記スイッチの開放が完了した場合に、前記負荷を補償する電圧である補償電圧を算出する補償電圧算出部としての機能と、
前記直流電源が出力する電圧である直流電圧を取得して、前記補償電圧及び前記直流電圧に基づいて、前記三相電力変換器に出力する指令電圧算出部としての機能と、
前記指令電圧に重畳させるための三次調波である重畳三次調波を算出し、前記重畳三次調波を前記指令電圧に重畳させる三次調波重畳部としての機能と、
前記重畳三次調波が重畳された後の指令電圧である重畳後指令電圧における各相の振幅差を算出して、前記各相の振幅差を低減させる基本波を算出し、前記基本波を前記重畳後指令電圧に重畳させる基本波重畳部としての機能とをコンピュータに発揮させる、電源システムの制御プログラム。
発明の詳細な説明
【技術分野】
【0001】
本発明は、電源システム、電源システムの制御方法及び電源システムの制御プログラムに関するものである。
続きを表示(約 1,300 文字)
【背景技術】
【0002】
従来の電源システムは、例えば特許文献1に示すように、電力系統から負荷に給電するための電力線に設けられた遮断器と、遮断器よりも負荷側に接続され、エネルギー貯蔵部のエネルギーを交流電力に変換する電力変換器とを備えている。
【0003】
この電源システムは、電力系統の正常時には、遮断器を介して電力系統から負荷に給電し、電力変換器は停止されている。一方、電力系統の異常時には、遮断器を開放して電力系統から負荷への給電を遮断して、エネルギー貯蔵部から電力変換器を介して負荷に交流電力を給電する。これにより、電力系統の異常時において、負荷の電圧を補償している。
【先行技術文献】
【特許文献】
【0004】
特許第6677916号公報
【発明の概要】
【発明が解決しようとする課題】
【0005】
ここで、上記の電源システムにおいて、電力変換器には三相電力変換器が用いられることがある。この場合、三相電力変換器が出力することができる最大電圧よりも三相電力変換器に出力させる指令電圧が大きくなると、電圧波形が歪んだり出力電圧が低下するので、負荷の電圧を補償する場合には、指令電圧が最大電圧よりも小さい状態で三相電力変換器から電圧が出力される必要がある。
【0006】
一方、最大電圧は、エネルギー貯蔵部から出力される電圧により決定される。ここで、負荷の電圧を補償する場合には、エネルギー貯蔵部から急激に放電されることによってエネルギー貯蔵部が出力する電圧が急激に低下して、最大電圧が急激に低下してしまう。その結果、指令電圧がすぐに最大電圧よりも大きくなってしまい、負荷の電圧を補償することができる補償時間が短くなってしまう。
【0007】
そこで、指令電圧の振幅を低減させるために、指令電圧に三次調波を重畳する構成が考えられる。この場合、三線短絡時では、三次調波を重畳させる前の指令電圧は三相平衡であるので、指令電圧の振幅を低減するための三次調波を正確に算出することができる。
【0008】
しかしながら、二線短絡時では、三次調波を重畳させる前の指令電圧は三相不平衡であるので、指令電圧の振幅を低減するための三次調波を正確に算出することができない。そのため、二線短絡時では、指令電圧に単に三次調波を重畳させるだけでは、補償時間を延長することができない。
【0009】
特に二線短絡時では、指令電圧が三相不平衡であるので、各相の振幅差が存在し、振幅の最大値によって補償時間の限界が決定される。本願発明者らは鋭意検討した結果、指令電圧の振幅の最大値を下げることができれば、二線短絡時における補償時間をさらに延長させることができると考え、本発明に至った。
【0010】
そこで、本発明は上記問題に鑑みてなされたものであり、電力系統の異常時に負荷の電圧を補償するために交流電力を給電する三相電力変換器を備える電源システムにおいて、二線短絡時における補償時間をさらに延長させることを主たる課題とするものである。
【課題を解決するための手段】
(【0011】以降は省略されています)
この特許をJ-PlatPat(特許庁公式サイト)で参照する
関連特許
日新電機株式会社
ベッセル
1か月前
日新電機株式会社
遮断装置
7日前
日新電機株式会社
電子除湿器
29日前
日新電機株式会社
ガス絶縁開閉装置
7日前
日新電機株式会社
プラズマ処理装置
1か月前
日新電機株式会社
DC-DCコンバータ
14日前
日新電機株式会社
刃先保護部材及び被膜除去方法
1か月前
日新電機株式会社
ガス絶縁機器およびその製造方法
17日前
日新電機株式会社
プラズマ処理装置及びプラズマ処理方法
1か月前
日新電機株式会社
表示装置、表示方法、およびプログラム
27日前
日新電機株式会社
配電システム、および、クラスタの制御方法
22日前
日新電機株式会社
汚泥処理制御システムおよび汚泥処理制御方法
20日前
日新電機株式会社
検出装置、電力供給システム、および検出方法
20日前
日新電機株式会社
通信ユニット、サーバ、通信システムおよび通信方法
1か月前
日新電機株式会社
加工方法、治具及び勾配面加工用3軸マシニングセンタ
29日前
日新電機株式会社
コーティング部品及びコーティング部品を備えるコーティング工具
9日前
日新電機株式会社
電源システム、電源システムの制御方法及び電源システムのプログラム
17日前
日新電機株式会社
ダイヤモンド薄膜、コーティングデバイス及びダイヤモンド薄膜の製造方法
6日前
日新電機株式会社
油入電気機器用の電気絶縁油基油、これを含有する電気絶縁油及び油入電気機器
20日前
個人
単極モータ
1か月前
個人
電気を重力で発電装置
7日前
キヤノン電子株式会社
モータ
6日前
キヤノン電子株式会社
モータ
14日前
株式会社アイシン
ロータ
1か月前
株式会社アイシン
ロータ
1か月前
日星電気株式会社
ケーブル組立体
22日前
コーセル株式会社
電源装置
15日前
トヨタ自動車株式会社
モータ
6日前
株式会社デンソー
回転機
28日前
株式会社アイシン
ステータ
1か月前
株式会社ダイヘン
充電装置
1か月前
株式会社アイシン
ステータ
1か月前
株式会社アイシン
ステータ
1か月前
株式会社アイシン
ステータ
1か月前
個人
二次電池繰返パルス放電器用印刷基板
20日前
株式会社kaisei
発電システム
1か月前
続きを見る
他の特許を見る