TOP
|
特許
|
意匠
|
商標
特許ウォッチ
Twitter
他の特許を見る
公開番号
2025080411
公報種別
公開特許公報(A)
公開日
2025-05-26
出願番号
2023193525
出願日
2023-11-14
発明の名称
給湯器
出願人
株式会社パロマ
代理人
弁理士法人暁合同特許事務所
主分類
F24D
3/10 20060101AFI20250519BHJP(加熱;レンジ;換気)
要約
【課題】注水弁から勢いよく注がれた熱媒がシスターンの隔壁に当たって給水口より漏れることを防止する。
【解決手段】本開示の給湯暖房機1は、暖房用の熱媒を貯留するシスターン70と、シスターン70に熱媒を自動補給するための注水弁100と、を備える給湯暖房機1であって、シスターン70は、シスターン70に熱媒を手動補水するための給水口80Bと、注水弁100が取り付けられる注水口80Aと、注水口80Aの下方に位置する隔壁90と、を有し、注水弁100は、熱媒が流れる第1流路P1を有する弁本体101と、弁本体101の下方に連なり第1流路P1に連通する第2流路P2を有する吐出部102と、を有し、吐出部102は、第2流路P2の下端に位置してシスターン70に向けて熱媒を吐出する吐出口102Aを有し、第2流路P2の内壁には、吐出口102Aに近づくにつれて給水口80Bから離れるように傾斜する傾斜面105が形成されている。
【選択図】図6
特許請求の範囲
【請求項1】
暖房用の熱媒を貯留するシスターンと、
前記シスターンに前記熱媒を自動補給するための注水弁と、を備える給湯器であって、
前記シスターンは、前記シスターンに前記熱媒を手動補水するための給水口と、前記注水弁が取り付けられる注水口と、前記注水口の下方に位置する隔壁と、を有し、
前記注水弁は、前記熱媒が流れる第1流路を有する弁本体と、前記弁本体の下方に連なり前記第1流路に連通する第2流路を有する吐出部と、を有し、
前記吐出部は、前記第2流路の下端に位置して前記シスターンに向けて前記熱媒を吐出する吐出口を有し、
前記第2流路の内壁には、前記吐出口に近づくにつれて前記給水口から離れるように傾斜する傾斜面が形成されている、給湯器。
続きを表示(約 140 文字)
【請求項2】
前記第2流路は、前記第1流路側から前記吐出口側に向かうにつれて長円状の断面から円形の断面に変化する先細り形状に形成され、
前記第2流路の内壁における前記吐出口側でかつ前記傾斜面と反対側にはR形状をなす吐出口端面が形成されている、請求項1に記載の給湯器。
発明の詳細な説明
【技術分野】
【0001】
本開示は、給湯器に関する。
続きを表示(約 2,200 文字)
【背景技術】
【0002】
給湯器に用いられるシスターンとして、特開2019-174049号公報(下記特許文献1)に記載のシスターンが知られている。このシスターンは、筐体と、第1水位電極と、第2水位電極と、を有している。筐体には、補水口と、排出口と、戻り接続口と、往き接続口と、が設けられている。補水口、排出口、戻り接続口及び往き接続口は、筐体の内部と連通している。戻り接続口から、暖房回路を循環した水が筐体内に戻り、往き接続口から、暖房回路を循環するように筐体内から水が送出される。筐体の内部には、流路が設けられている。流路は、一方端と、他方端と、を有している。流路は、一方端において、戻り接続口に接続されている。流路は、流路上壁と、流路底壁と、第1流路側壁と、第2流路側壁と、を有している。流路上壁の第1部分は、戻り接続口と対向している。このため、戻り接続口から筐体の内部に戻る水は、流路上壁の第1部分と衝突し、流速が低減される。
【先行技術文献】
【特許文献】
【0003】
特開2019-174049号公報
【発明の概要】
【発明が解決しようとする課題】
【0004】
上記のシスターンにおいて、戻り接続口の近傍に、熱媒としての水を手動補水するための補給口が設けられる場合がある。その場合、戻り接続口から筐体の内部に戻る水が流路上壁の第1部分に勢いよく当たり、水はねによって補給口から水が漏れるおそれがある。通常、補給口にはゴム栓がしてあるが、メンテナンスの際に付け忘れる可能性があり、その場合に補給口からシスターン外部に水漏れするおそれがある。
【課題を解決するための手段】
【0005】
本開示の給湯器は、暖房用の熱媒を貯留するシスターンと、前記シスターンに前記熱媒を自動補給するための注水弁と、を備える給湯器であって、前記シスターンは、前記シスターンに前記熱媒を手動補水するための給水口と、前記注水弁が取り付けられる注水口と、前記注水口の下方に位置する隔壁と、を有し、前記注水弁は、前記熱媒が流れる第1流路を有する弁本体と、前記弁本体の下方に連なり前記第1流路に連通する第2流路を有する吐出部と、を有し、前記吐出部は、前記第2流路の下端に位置して前記シスターンに向けて前記熱媒を吐出する吐出口を有し、前記第2流路の内壁には、前記吐出口に近づくにつれて前記給水口から離れるように傾斜する傾斜面が形成されている、給湯器である。
【発明の効果】
【0006】
本開示によれば、注水弁から勢いよく注がれた熱媒がシスターンの隔壁に当たって給水口より漏れることを防止できる。
【図面の簡単な説明】
【0007】
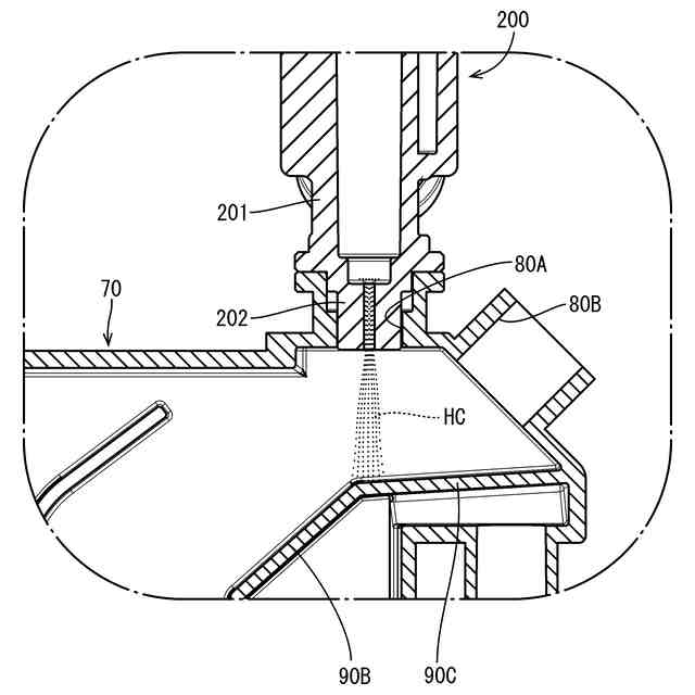
図1は、実施形態にかかるシスターンを備える給湯暖房機の概略回路図である。
図2は、シスターンと注水弁の斜視図である。
図3は、注水弁が取り付けられたシスターンの平面図である。
図4は、図3のA-A断面図である。
図5は、図4の一部拡大断面図である。
図6は、実施形態にかかる注水弁に熱媒を流した状態を示した断面図である。
図7は、従来の注水弁に熱媒を流した状態を示した断面図である。
【発明を実施するための形態】
【0008】
[本開示の実施形態の説明]
最初に本開示の実施態様を列挙して説明する。
(1)本開示の給湯器は、暖房用の熱媒を貯留するシスターンと、前記シスターンに前記熱媒を自動補給するための注水弁と、を備える給湯器であって、前記シスターンは、前記シスターンに前記熱媒を手動補水するための給水口と、前記注水弁が取り付けられる注水口と、前記注水口の下方に位置する隔壁と、を有し、前記注水弁は、前記熱媒が流れる第1流路を有する弁本体と、前記弁本体の下方に連なり前記第1流路に連通する第2流路を有する吐出部と、を有し、前記吐出部は、前記第2流路の下端に位置して前記シスターンに向けて前記熱媒を吐出する吐出口を有し、前記第2流路の内壁には、前記吐出口に近づくにつれて前記給水口から離れるように傾斜する傾斜面が形成されている。
【0009】
熱媒は、注水弁の第1流路から吐出部の第2流路に流入した後、傾斜面によって向きを変えながら吐出口から隔壁に向けて吐出される。その際、熱媒を隔壁に対して給水口から離れるように斜めに入射させることで隔壁に当たった際のはね返りを防止しやすくなる。したがって、注水弁から勢いよく注がれた熱媒がシスターンの隔壁に当たって給水口より漏れることを防止できる。
【0010】
(2)(1)に記載の給湯器において、前記第2流路は、前記第1流路側から前記吐出口側に向かうにつれて長円状の断面から円形の断面に変化する先細り形状に形成され、前記第2流路の内壁における前記吐出口側でかつ前記傾斜面と反対側にはR形状をなす吐出口端面が形成されている。
第1流路を形成するスライド型を用いて第2流路を形成できるため、金型の構造を複雑にしなくてもよい。第2流路が先細り形状となることで乱流が発生しやすくなり、さらに吐出口端面にR形状をとることでコアンダ効果によって熱媒の入射角度をさらに浅くすることが可能である。
(【0011】以降は省略されています)
この特許をJ-PlatPat(特許庁公式サイト)で参照する
関連特許
株式会社パロマ
給湯器
4か月前
株式会社パロマ
給湯器
4か月前
株式会社パロマ
湯沸器
1か月前
株式会社パロマ
給湯器
3か月前
株式会社パロマ
給湯器
2か月前
株式会社パロマ
給湯器
4か月前
株式会社パロマ
燃焼装置
3か月前
株式会社パロマ
給湯暖房機
3か月前
株式会社パロマ
給湯暖房機
3か月前
株式会社パロマ
給湯暖房機
3か月前
株式会社パロマ
給湯暖房機
3か月前
株式会社パロマ
ガスコンロ
4日前
株式会社パロマ
給湯暖房機
3か月前
株式会社パロマ
給湯暖房機
3か月前
株式会社パロマ
給湯暖房機
3か月前
株式会社パロマ
ガスコンロ
4日前
株式会社パロマ
給湯暖房機
3か月前
株式会社パロマ
給湯暖房機
3か月前
株式会社パロマ
ガスコンロ
4日前
株式会社パロマ
加熱調理装置
1か月前
株式会社パロマ
加熱調理装置
1か月前
株式会社パロマ
加熱調理装置
8日前
株式会社パロマ
加熱調理装置
5日前
株式会社パロマ
加熱調理装置
1か月前
株式会社パロマ
食器洗浄機用ブースター
1か月前
株式会社パロマ
食器洗浄機用ブースター
1か月前
株式会社パロマ
食器洗浄機用ブースター
1か月前
株式会社パロマ
食器洗浄機用ブースター
1か月前
株式会社パロマ
食器洗浄機用ブースター
1か月前
株式会社パロマ
食器洗浄機用ブースター
25日前
株式会社パロマ
食器洗浄機用ブースター
12日前
株式会社パロマ
加熱調理装置及び製造方法
28日前
株式会社パロマ
給湯器の製造方法及び給湯器
1か月前
株式会社パロマ
アフターバーナ及び加熱調理装置
5日前
株式会社パロマ
ヒートポンプ熱源機及び給湯システム
5日前
株式会社パロマ
ヒートポンプ熱源機及び給湯システム
5日前
続きを見る
他の特許を見る