TOP
|
特許
|
意匠
|
商標
特許ウォッチ
Twitter
他の特許を見る
10個以上の画像は省略されています。
公開番号
2025071159
公報種別
公開特許公報(A)
公開日
2025-05-02
出願番号
2025023904,2020150173
出願日
2025-02-18,2020-09-07
発明の名称
芳香カートリッジ
出願人
Future Technology株式会社
代理人
主分類
A24B
15/16 20200101AFI20250424BHJP(たばこ;葉巻たばこ;紙巻たばこ;喫煙具)
要約
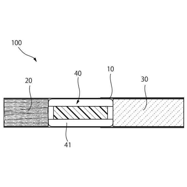
【課題】加熱式タバコの風味を向上させることが可能な芳香カートリッジを提供する。
【解決手段】 芳香カートリッジは、筒状のカバーと、カバーの一端側に収容された、加熱されることによって芳香成分を含有するエアロゾルを発生させる芳香基材と、カバーの他端側に収容されたフィルタと、を有し、芳香基材は、植物の粉砕乾燥物、エアロゾルフォーマ、0.1mg~135mgのカテキンを含む。
【選択図】 図1
特許請求の範囲
【請求項1】
筒状のカバーと、
前記カバーの一端側に収容された、加熱されることによって芳香成分を含有するエアロゾルを発生させる芳香基材と、
前記カバーの他端側に収容されたフィルタと、を有し、
前記芳香基材は、0.1mg~135mgのカテキンを含むことを特徴とする芳香カートリッジ。
続きを表示(約 520 文字)
【請求項2】
筒状のカバーと、
前記カバーの一端側に収容された、加熱されることによって芳香成分を含有するエアロゾルを発生させる芳香基材と、
前記カバーの他端側に収容されたフィルタと、を有し、
前記芳香基材は、少なくとも20質量%以上のカテキンを含有する粉末を含むことを特徴とする芳香カートリッジ。
【請求項3】
前記芳香基材は、テアニン及びカフェインを少なくとも含有する粉末を含む請求項1または2のいずれかに一項の記載の芳香カートリッジ。
【請求項4】
前記芳香基材は、前記芳香成分としてメントールを含む請求項1から3のいずれか一項に記載の芳香カートリッジ。
【請求項5】
前記芳香基材は、前記芳香成分としてコーヒー豆から抽出した成分を含む請求項1から4のいずれか一項に記載の芳香カートリッジ。
【請求項6】
植物の粉砕乾燥物として、非タバコの植物の粉砕乾燥物を含む請求項1から5のいずれか一項に記載の芳香カートリッジ。
【請求項7】
前記芳香基材は、熱融解物質を含む請求項1から6のいずれかに記載の芳香カートリッジ。
発明の詳細な説明
【技術分野】
【0001】
本発明は、電気的加熱手段を有する吸引器具に装着され、当該電気的加熱手段によって加熱されることによって芳香成分を含有するエアロゾルを発生させることが可能な芳香カートリッジに関する。
続きを表示(約 1,300 文字)
【背景技術】
【0002】
ポリフェノールの一種であるカテキン類は、例えば、消臭作用などを有する。カテキン類の消臭作用を利用してタバコから発せられる匂い低減させることが行われている。例えば、特許文献1には、フィルタにカテキンを附着させて消臭効果を高めた煙草のフィルタが開示されている。
【先行技術文献】
【特許文献】
【0003】
特開2005-80641号公報
【発明の概要】
【発明が解決しようとする課題】
【0004】
タバコの主流煙及び副流煙には、ユーザにとって心地のよい香り及び不快な匂いが含まれている。しかしながら、主流煙及び副流煙に含まれているこれらの成分を一律に取り除くと、喫煙時の風味が減少する問題がある。
【0005】
すなわち、主流煙及び副流煙に含まれている不快な匂いの成分のみを取り除き、ユーザにとって好ましい香りのみを残すことが望ましく、風味に関する改善が望まれている。
【0006】
また、近年、加熱式タバコの利用が増加している。加熱式タバコの加熱温度は、紙巻きタバコの燃焼温度よりも数百℃低い。このため、加熱式タバコの主流煙及び副流煙に含まれている成分や、その成分の含有量も、紙巻きタバコとは異なる。したがって、加熱式タバコに対しては、紙巻きタバコとは異なる方法で改善することが求められている。
本発明は、上記問題に鑑みてなされたものであり、加熱式タバコの風味を向上させることが可能な芳香カートリッジを提供することを目的とする。
【課題を解決するための手段】
【0007】
本発明は、電気的加熱手段を有する吸引器具に装着され、前記電気的加熱手段によって加熱されることによって芳香成分を含有するエアロゾルを発生させる芳香カートリッジにおいて、筒状のカバーと、前記カバーの一端側に収容された、加熱されることによって芳香成分を含有するエアロゾルを発生させる芳香基材と、前記カバーの他端側に収容されたフィルタと、を有し、前記芳香基材は、植物の粉砕乾燥物、エアロゾルフォーマ、カテキン、架橋ポリビニルピロリドン及び/又はポリビニルピロリドンを含むことを特徴とする。
【0008】
本発明の芳香カートリッジによれば、吸引器具の電気的加熱手段によって芳香基材が加熱されると、植物の粉砕乾燥物から発生される成分及びカテキンを含むエアロゾルが発生する。当該エアロゾルは、植物の粉砕乾燥物の成分、カテキン、架橋ポリビニルピロリドン及び/又はポリビニルピロリドンを含むため、主流煙の雑味を低減させ、かつ主流煙及び副流煙の不快な匂いを低減させることができる。
【0009】
本発明の芳香カートリッジにおいて、前記芳香基材は、前記カテキンを0.1mg~135mg含むことが好ましい。
【0010】
本発明の芳香カートリッジにおいて、前記芳香基材は、前記カテキンを少なくとも20質量%以上含有する粉末を含むことが好ましい。
(【0011】以降は省略されています)
この特許をJ-PlatPat(特許庁公式サイト)で参照する
関連特許
日本たばこ産業株式会社
香味吸引物品
2か月前
日本たばこ産業株式会社
香味吸引物品
2日前
日本たばこ産業株式会社
香味発生物品
2か月前
日本たばこ産業株式会社
口腔用組成物
3か月前
日本たばこ産業株式会社
喫煙システム
3か月前
東莞市佳かい精密金属制品有限公司
充電可能な電子タバコケース
4か月前
日本たばこ産業株式会社
香味吸引システム
3か月前
日本たばこ産業株式会社
香味吸引システム
3か月前
Future Technology株式会社
エアロゾル吸引カートリッジ
2か月前
日本たばこ産業株式会社
低香味原料を含むたばこセグメント
2か月前
Future Technology株式会社
たばこ用組成物、E-リキッド、たばこ製品
1か月前
日本たばこ産業株式会社
粒状再生セルロースを含有する口腔用組成物
3か月前
日本たばこ産業株式会社
香味発生物品および香味吸引システム
3か月前
日本たばこ産業株式会社
電子装置
4か月前
日本たばこ産業株式会社
吸引器
4か月前
Future Technology株式会社
喫煙器具
2か月前
Future Technology株式会社
芳香基材
4か月前
日本たばこ産業株式会社
たばこ材料、その製造方法、および非燃焼加熱型喫煙物品
2か月前
Future Technology株式会社
芳香カートリッジ
1か月前
Future Technology株式会社
被加熱芳香発生基材
16日前
Future Technology株式会社
タバコ充填物集積体
2か月前
Future Technology株式会社
喫煙具用カートリッジ
3か月前
Future Technology株式会社
喫煙具用カートリッジ
2か月前
Future Technology株式会社
喫煙具用カートリッジ
4か月前
Future Technology株式会社
喫煙具用カートリッジ
4か月前
Future Technology株式会社
喫煙具用カートリッジ
2か月前
Future Technology株式会社
喫煙具用カートリッジ
3か月前
Future Technology株式会社
被加熱芳香カートリッジ
2か月前
Future Technology株式会社
電子タバコカートリッジ
2か月前
Future Technology株式会社
電子タバコカートリッジ
3か月前
Future Technology株式会社
電子タバコカートリッジ
3か月前
Future Technology株式会社
電子タバコカートリッジ
1か月前
Future Technology株式会社
被加熱芳香カートリッジ
4日前
Future Technology株式会社
電子タバコカートリッジ
3か月前
シェンチェン ギークベイプ テクノロジー カンパニー リミテッド
電子霧化装置
4か月前
日本たばこ産業株式会社
吸引装置、基材、及び制御方法
16日前
続きを見る
他の特許を見る