TOP
|
特許
|
意匠
|
商標
特許ウォッチ
Twitter
他の特許を見る
10個以上の画像は省略されています。
公開番号
2025064219
公報種別
公開特許公報(A)
公開日
2025-04-17
出願番号
2023173799
出願日
2023-10-05
発明の名称
携帯用灰皿
出願人
株式会社ルック
代理人
個人
主分類
A24F
19/00 20060101AFI20250410BHJP(たばこ;葉巻たばこ;紙巻たばこ;喫煙具)
要約
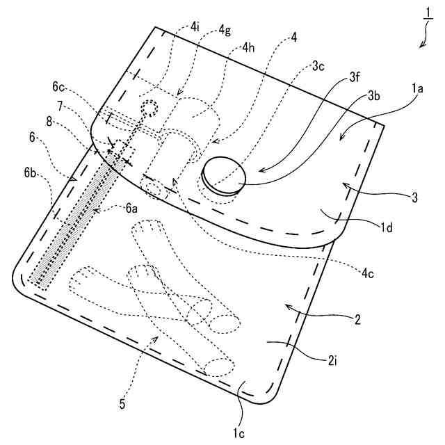
【課題】レギュラーサイズの煙草とスリムサイズの煙草とを共に速やかに消火することができる消火部と、この消火部に詰まった灰を掃除できる掃除具を備えた携帯用灰皿を提供する。
【解決手段】全体が互いに重ね合わされたところの外側を構成する軟質の合成樹脂製シートと内側を構成する軟質の金属製フィルムから成り、煙草の吸殻を収容する収容部と、この収容部の開口部を開閉可能な蓋部と、筒状を呈し、前記収容部内に設けられ、前記蓋部を開いて前記収容部に挿入された煙草の先端部を収容して消火する消火部と、を備え、前記消火部は、レギュラーサイズの煙草の先端側を収容消火する第1消火部と、この第1消火部に連通して設けられたスリムサイズの煙草の先端側を収容消火する前記第1消火部よりも小径の第2消火部とで構成すると共に、前記消火部の掃除具を備えている。
【選択図】 図1
特許請求の範囲
【請求項1】
全体が互いに重ね合わされたところの外側を構成する軟質の合成樹脂製シートと内側を構成する軟質の金属製フィルムから成り、煙草の吸殻を収容する収容部と、この収容部の開口部を開閉可能な蓋部と、筒状を呈し、前記収容部内に設けられ、前記蓋部を開いて前記収容部に挿入された煙草の先端部を収容して消火する消火部と、を備え、前記消火部は、レギュラーサイズの煙草の先端側を収容消火する第1消火部と、この第1消火部に連通して設けられたスリムサイズの煙草の先端側を収容消火する前記第1消火部よりも小径の第2消火部とで構成すると共に、前記消火部の掃除具を備えていることを特徴とする、携帯用灰皿。
続きを表示(約 670 文字)
【請求項2】
前記消火部は、その内径を軸方向に二段階に変化させた第1消火部と第2消火部を有する金属製パイプ部材から成り、ベルト部材を介して前記収容部内に取り付けられていることを特徴とする、請求項1に記載の携帯用灰皿。
【請求項3】
前記第1消火部と前記第2消火部の間にはレギュラーサイズの煙草の先端に突き当たる第1突き当て部を有し、前記第2消火部にはスリムサイズの煙草の先端に突き当たる第2突き当て部を有することを特徴とする、請求項2に記載の携帯用灰皿。
【請求項4】
前記第1突き当て部が、滑らかな曲面に形成されていることを特徴とする、請求項3に記載の携帯用灰皿。
【請求項5】
前記第2突き当て部には、挿入されたスリムサイズの煙草の灰を収容部内へ落下させる排出孔が設けられていることを特徴とする、請求項3に記載の携帯用灰皿。
【請求項6】
前記掃除具は、ブラシ部と柄部を有するブラシ部材と、このブラシ部材を収容する収容パイプから成り、前記収容パイプを介して前記収容部に設けた収容孔へ着脱可能に設置されることを特徴とする、請求項1に記載の携帯用灰皿。
【請求項7】
前記金属製パイプ部材は、前記収容部内部に貼着されていることを特徴とする、請求項2に記載の携帯用灰皿。
【請求項8】
前記収容部の前記開口部には、前記金属性フィルムを当該開口部の縁部で折り返して成る折り返し部が設けられていることを特徴とする、請求項1に記載の携帯用灰皿。
発明の詳細な説明
【技術分野】
【0001】
本発明は、喫煙時には灰皿として利用でき、喫煙後は火のついたタバコの火を消すことができ、その上、その後灰や吸殻を内部に収容させた状態で携帯できる携帯用灰皿に関する。
続きを表示(約 1,400 文字)
【背景技術】
【0002】
嫌煙傾向の高まりに伴って喫煙が禁止される場所が増加し、公園や商業施設に設けられる固定の灰皿の数が減少している。このため、喫煙者は、各自がそれぞれポケットやバッグに入れて携帯用灰皿を携帯する必要性が高まっている。
【0003】
下記特許文献1には、収容部の内側に設けられた消火部で消火した煙草の吸殻を収容部に収容する携帯用灰皿が開示されている。消火部は、収容部と同じ材料(アルミニウムシート)を両面に貼付した樹脂シートを用いて折り畳み式の袋状に形成されている。
【0004】
下記特許文献2には、収容部の開口部にワンタッチ式の開口金具を設けた携帯用灰皿において、収容部の内側に設けられた消火部で消火した煙草の吸殻を収容部に収容する携帯用灰皿が開示されている。消火部は、レギュラーサイズの煙草とほぼ同径の内径を持つ消火用筒状具となっている。
【先行技術文献】
【特許文献】
【0005】
特開2005-87103号公報
登録実用新案第3093608号公報
【発明の概要】
【発明が解決しようとする課題】
【0006】
近年、直径が7mmと8mmのレギュラーサイズと言われる煙草に対して、直径が6mmと5mmのスリムサイズと言われる煙草を喫煙する人が増えている。スリムサイズの煙草はレギュラーサイズの煙草に比較して直径が小さいため、上記した公知のレギュラーサイズの煙草用に設計された消火部では消火するまでに時間を要する上に、消火をし損なう虞もあった。
【0007】
本発明は、このような問題点を解決するためになされたものであり、その目的とするところは、レギュラーサイズの煙草とスリムサイズの煙草とを共に速やかに消火することができる消火部と、この消火部に詰まった灰を掃除できる掃除具を備えた携帯用灰皿を提供することを目的としている。
【課題を解決するための手段】
【0008】
上述した目的を達成するため、請求項1に記載された本発明の携帯用灰皿は、全体が互いに重ね合わされたところの外側を構成する軟質の合成樹脂製シートと内側を構成する軟質の金属製フィルムから成り、煙草の吸殻を収容する収容部と、この収容部の開口部を開閉可能な蓋部と、筒状を呈し、前記収容部内に設けられ、前記蓋部を開いて前記収容部に挿入された煙草の先端部を収容して消火する消火部と、を備え、前記消火部は、レギュラーサイズの煙草の先端側を収容消火する第1消火部と、この第1消火部に連通して設けられたスリムサイズの煙草の先端側を収容消火する前記第1消火部よりも小径の第2消火部とで構成すると共に、前記消火部の掃除具を備えているこを特徴とする。
【0009】
請求項2に記載の本発明に係る携帯用灰皿は、前記消火部が、その内径を軸方向に二段階に変化させた第1消火部と第2消火部を有する金属製パイプ部材から成り、ベルト部材を介して前記収容部内に取り付けられていることを特徴とする。
【0010】
請求項3に記載された本発明の携帯用灰皿は、前記第1消火部と前記第2消火部の間にレギュラーサイズの煙草の先端に突き当たる第1突き当て部を有し、前記第2消火部にはスリムサイズの煙草の先端に突き当たる第2突き当て部を有することを特徴とする。
(【0011】以降は省略されています)
この特許をJ-PlatPat(特許庁公式サイト)で参照する
関連特許
個人
ヒートスティック除去具
3か月前
日本たばこ産業株式会社
香味吸引物品
1か月前
個人
電子タバコの加熱素子
3か月前
日本たばこ産業株式会社
口腔用組成物
2か月前
日本たばこ産業株式会社
喫煙システム
2か月前
日本たばこ産業株式会社
香味発生物品
1か月前
個人
フレーバ用ブースター器具およびシーシャ装置
3か月前
東莞市佳かい精密金属制品有限公司
充電可能な電子タバコケース
2か月前
日本たばこ産業株式会社
香味吸引システム
2か月前
日本たばこ産業株式会社
香味吸引システム
2か月前
Future Technology株式会社
エアロゾル吸引カートリッジ
1か月前
エム・クリエイト株式会社
灰皿装置及び灰皿管理システム
4か月前
日本たばこ産業株式会社
低香味原料を含むたばこセグメント
1か月前
日本たばこ産業株式会社
非燃焼加熱型香味吸引物品用フィルタ
4か月前
日本たばこ産業株式会社
粒状再生セルロースを含有する口腔用組成物
2か月前
日本たばこ産業株式会社
香味発生物品および香味吸引システム
2か月前
日本たばこ産業株式会社
電子装置
2か月前
日本たばこ産業株式会社
吸引器
2か月前
Future Technology株式会社
喫煙器具
1か月前
Future Technology株式会社
芳香基材
3か月前
日本たばこ産業株式会社
たばこ材料、その製造方法、および非燃焼加熱型喫煙物品
1か月前
Future Technology株式会社
芳香カートリッジ
3か月前
Future Technology株式会社
芳香カートリッジ
4か月前
Future Technology株式会社
芳香カートリッジ
3か月前
Future Technology株式会社
芳香カートリッジ
4日前
Future Technology株式会社
芳香カートリッジ
5か月前
Future Technology株式会社
タバコ充填物集積体
1か月前
Future Technology株式会社
喫煙具用カートリッジ
3か月前
Future Technology株式会社
喫煙具用カートリッジ
3か月前
Future Technology株式会社
喫煙具用カートリッジ
1か月前
日本たばこ産業株式会社
たばこ用の組成物
4か月前
Future Technology株式会社
喫煙具用カートリッジ
1か月前
Future Technology株式会社
喫煙具用カートリッジ
3か月前
Future Technology株式会社
喫煙具用カートリッジ
2か月前
Future Technology株式会社
喫煙具用カートリッジ
18日前
Future Technology株式会社
喫煙具用カートリッジ
2か月前
続きを見る
他の特許を見る