TOP
|
特許
|
意匠
|
商標
特許ウォッチ
Twitter
他の特許を見る
公開番号
2025064651
公報種別
公開特許公報(A)
公開日
2025-04-17
出願番号
2023174570
出願日
2023-10-06
発明の名称
汎用コンバインの脱穀装置
出願人
井関農機株式会社
代理人
弁理士法人新大阪国際特許事務所
主分類
A01F
12/22 20060101AFI20250410BHJP(農業;林業;畜産;狩猟;捕獲;漁業)
要約
【課題】本発明は、汎用コンバインに搭載する脱穀装置において、扱胴の脱穀処理効率を良好に維持すると共に消耗した扱胴の補修を容易に行えるようにすることを課題とする。
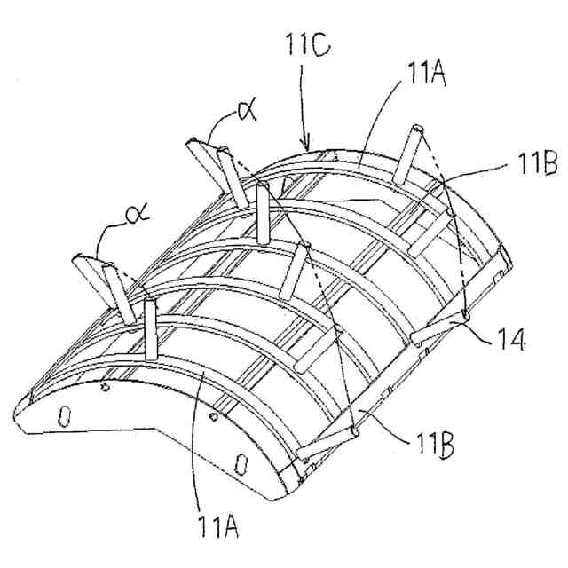
【解決手段】複数の円弧筒片11Aを円弧筒片(11A)と交差する複数の連結杆11Bで一体にした格子扱胴部材11Cを構成し、前記格子扱胴部材(11C)を組み合わせて一体の筒状扱胴11を構成し、円弧筒片11Aには放射方向に突出し筒状扱胴11の回転で仮想線の送螺旋αを描く位置に扱歯14を立設して構成し、筒状扱胴(11)の円周方向に等配で格子扱胴部材(11C)を配置したことを特徴とする汎用コンバインの脱穀装置とする。
【選択図】図5
特許請求の範囲
【請求項1】
複数の円弧筒片(11A)を円弧筒片(11A)と交差する複数の連結杆(11B)で一体にした格子扱胴部材(11C)を構成し、前記格子扱胴部材(11C)を組み合わせて一体の筒状扱胴(11)を構成し、円弧筒片(11A)には放射方向に突出し筒状扱胴(11)の回転で仮想線の送螺旋(α)を描く位置に扱歯(14)を立設して構成し、筒状扱胴(11)の円周方向に等配で格子扱胴部材(11C)を配置したことを特徴とする汎用コンバインの脱穀装置。
続きを表示(約 190 文字)
【請求項2】
筒状扱胴(11)の格子扱胴部材(11C)を分離して同じ新部品に交換可能にしたことを特徴とする請求項1に記載の汎用コンバインの脱穀装置。
【請求項3】
前記円弧筒片(11A)を格子扱胴部材(11C)から着脱自在に構成し、円弧筒片(11A)に立設する扱歯(14)を着脱可能にしたことを特徴とする請求項1或いは請求項2に記載の汎用コンバインの脱穀装置。
発明の詳細な説明
【技術分野】
【0001】
本発明は、汎用コンバインに搭載する脱穀装置の扱胴に関する。
続きを表示(約 1,200 文字)
【背景技術】
【0002】
汎用コンバインは、特開2008―263913号公報(特許文献1)に記載されているように、圃場に植生する穀稈を刈取前処理装置で刈り取って、脱穀装置に投入し穀粒を脱穀分離してその穀粒をグレンタンクに溜めて収穫し、脱穀済みの排桿を圃場に排出するようにしている。
【0003】
そして、脱穀装置は、外周に扱歯が立設された扱胴が扱室内に軸支され、その扱胴と扱胴の下半部に設けた扱網と間で後方へ送られながら穀稈が扱かれて穀粒を含んだ脱穀物が扱網から下方の揺動選別装置上に漏下して穀粒が選別され、その穀粒がグレンタンクに溜められて収穫される。
【先行技術文献】
【特許文献】
【0004】
特開2008―263913号公報
【発明の概要】
【発明が解決しようとする課題】
【0005】
前記従来の汎用コンバインの脱穀装置の扱胴内に軸支される扱胴は、前後の扱胴側板に6本の筒状フレームを駆動軸と平行に円筒状に配置し、その筒状フレームに扱歯を放射状に配設した構成で、扱室内へ送り込まれた穀稈を扱歯と筒状フレームで扱いて穀粒を脱穀する。このために、扱歯が摩耗して短くなったり脱穀物が6本の筒状フレーム内側に入り込んで滞留したりして脱穀処理効率が低下する傾向がある。
【0006】
本発明は、汎用コンバインに搭載する脱穀装置において、扱胴の脱穀処理効率を良好に維持すると共に消耗した扱胴の補修を容易に行えるようにすることを課題とする。
【課題を解決するための手段】
【0007】
上記本発明の課題は、次の技術手段により解決される。
【0008】
請求項1の発明は、複数の円弧筒片11Aを円弧筒片(11A)と交差する複数の連結杆11Bで一体にした格子扱胴部材11Cを構成し、前記格子扱胴部材11Cを組み合わせて一体の筒状扱胴11を構成し、円弧筒片11Aには放射方向に突出し筒状扱胴11の回転で仮想線の送螺旋αを描く位置に扱歯14を立設して構成し、筒状扱胴(11)の円周方向に等配で格子扱胴部材(11C)を配置したことを特徴とする汎用コンバインの脱穀装置とする。
【0009】
請求項2の発明は、筒状扱胴11の格子扱胴部材11Cを分離して同じ新部品に交換可能にしたことを特徴とする請求項1に記載の汎用コンバインの脱穀装置とする。
【0010】
請求項3の発明は、前記円弧筒片(11A)を格子扱胴部材(11C)から着脱自在に構成し、円弧筒片11Aに立設する扱歯14を着脱可能にしたことを特徴とする請求項1或いは請求項2に記載の汎用コンバインの脱穀装置とする。
【発明の効果】
(【0011】以降は省略されています)
この特許をJ-PlatPat(特許庁公式サイト)で参照する
関連特許
他の特許を見る