TOP
|
特許
|
意匠
|
商標
特許ウォッチ
Twitter
他の特許を見る
10個以上の画像は省略されています。
公開番号
2025063481
公報種別
公開特許公報(A)
公開日
2025-04-16
出願番号
2023172715
出願日
2023-10-04
発明の名称
導光板及びそれを用いた画像表示装置
出願人
キヤノン株式会社
代理人
個人
,
個人
,
個人
主分類
G02B
27/02 20060101AFI20250409BHJP(光学)
要約
【課題】高い光利用効率で光量ムラを低減しつつ、外界の光の透過率を向上させることが可能な導光板を提供すること。
【解決手段】導光板は、互いに平行な第1面と第2面、及び第1面に対して傾斜した第1乃至第3の分離面を有し、第1面の法線に対する各分離面の角度[°]、第1面に入射する第n(n:自然数)の光線の入射角[°]、入射角が90-θ
n
+ψ[°]で入射する主波長の光に対する第m(m:1,2,3)の分離面の反射率を各々適切に設定すること。
【選択図】図1
特許請求の範囲
【請求項1】
互いに平行な第1面と第2面、及び前記第1面に対して傾斜した第1乃至第3の分離面を有し、
前記第1面の法線に対する各分離面の角度[°]をψ、前記第1面に入射する第n(n:自然数)の光線の入射角[°]をθ
n
(θ
1
+5<θ
2
<θ
3
-5)、入射角が90-θ
n
+ψ[°]で入射する主波長の光に対する第m(m:1,2,3)の分離面の反射率をRs1
mn
とするとき、
Rs1
21
>Rs1
22
>Rs1
23
Rs1
31
<Rs1
32
Rs1
31
<Rs1
32
なる条件式を満足することを特徴とする導光板。
続きを表示(約 1,200 文字)
【請求項2】
入射角が90-θ
n
-ψ[°]で入射する前記主波長の光に対する第mの分離面の反射率をRs2
mn
とするとき、
Rs2
m3
<0.05
なる条件式を満足することを特徴とする請求項1に記載の導光板。
【請求項3】
前記第1の分離面の反射率は、
Rs1
11
>Rs1
12
>Rs1
13
なる条件式を満足することを特徴とする請求項1又は2に記載の導光板。
【請求項4】
入射角が90-θ
n
+ψ[°]で入射する前記主波長の光に対する第mの分離面の反射率、及び入射角が90-θ
n
-ψ[°]で入射する前記主波長の光に対する第mの分離面の反射率は、S偏光の反射率であり、
入射角が90-θ
n
+ψ[°]で入射する前記主波長の光のP偏光に対する第mの分離面の反射率をRp1
mn
とするとき、
Rs1
22
>2×Rp1
22
なる条件式を満足することを特徴とする請求項1又は2に記載の導光板。
【請求項5】
前記第1乃至第3の分離面は、複数の誘電体膜により構成され、
前記第2の分離面において膜厚の合計が1番目と2番目の膜のうち前記主波長の光に対する屈折率が高い膜を第1の膜、屈折率が低い膜を第2の膜とし、前記第1の膜の屈折率をn
H
、前記第2の膜の屈折率をn
L
、前記導光板の前記主波長の光に対する屈折率をn
G
とするとき、
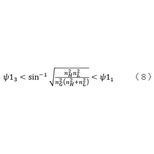
JPEG
2025063481000008.jpg
18
137
なる条件式を満足することを特徴とする請求項1又は2に記載の導光板。
【請求項6】
前記第1の膜の膜厚の合計をM
H
[nm]、前記第2の膜の膜厚の合計をM
H
[nm]とするとき、
M
H
>400
M
L
>300
なる条件式を満足することを特徴とする請求項5に記載の導光板。
【請求項7】
前記第2の分離面の膜層数は、20層以上であることを特徴とする請求項5に記載の導光板。
【請求項8】
請求項1又は2に記載の導光板と、
前記導光板に入射する所定の偏光の光束を射出する光源とを有することを特徴とする画像表示装置。
【請求項9】
前記光源から射出される光束の少なくとも1つのスペクトルの中心波長をR[nm]、前記スペクトルの半値幅をW[nm]とするとき、
0.00<W/R<0.03
なる条件式を満足することを特徴とする請求項8に記載の画像表示装置。
発明の詳細な説明
【技術分野】
【0001】
本発明は、表示画像を観察者の瞳に導光する導光板に関する。
続きを表示(約 1,900 文字)
【背景技術】
【0002】
従来、表示画像を観察者の瞳に導光する導光板を備える画像表示装置が知られている。図12は、従来例の画像表示装置の導光板の内部を伝搬する光束の概念図である。画像表示素子110の画素から射出される光L10,L20,L30は投影光学系120を通過し、異なる入射角で入射部131に入射し、偏向された後、導光板130の内部を異なる全反射角α10,α20,α30(α10<α20<α30)で伝搬する。射出部132に入射した一部の光束は偏向され観察者の瞳SPに向かい、他の光束は導光板130の内部を全反射により伝搬し射出部132に入射する。従来例の画像表示装置では、観察者の瞳SPの位置で光L10,L20,L30が重なっている領域(有効領域)の幅は射出部132から射出される光束の幅に比較して小さく、有効領域に対して不要光が多く発生して光利用効率が大きく低下してしまう。
【0003】
特許文献1には、観察者の瞳に入射する各光線の強度を高めるために、複数の分離面に対して、反射率が高く、入射角依存性が低い適正入射角度範囲を設定する構成が開示されている。また、特許文献2には、導光効率を高めるために、複数の半透過層に対して、観察者の瞳に入射する角度成分の光のみを反射し、それ以外の角度成分の光を透過するように、角度依存性に基づいて異なる光反射率を設定する構成が開示されている。
【先行技術文献】
【特許文献】
【0004】
特開2018-165743号公報
国際公開2018/221026号
【発明の概要】
【発明が解決しようとする課題】
【0005】
しかしながら、特許文献1及び特許文献2の構成では、画像表示素子からの光が観察者の瞳に偏向する光路における分離面の入射角度範囲における反射率が一定である。これにより、分離面で反射される異なる射出角の光束が均一にならず、観察者の瞳に入射する視野角度範囲で輝度が不均一になり、外界の光の透過率が低下してしまう。
【0006】
本発明は、高い光利用効率で光量ムラを低減しつつ、外界の光の透過率を向上させることが可能な導光板を提供することを目的とする。
【課題を解決するための手段】
【0007】
本発明の一側面としての導光板は、互いに平行な第1面と第2面、及び第1面に対して傾斜した第1乃至第3の分離面を有し、第1面の法線に対する各分離面の角度[°]をψ、第1面に入射する第n(n:自然数)の光線の入射角[°]をθ
n
(θ
1
+5<θ
2
<θ
3
-5)、入射角が90-θ
n
+ψ[°]で入射する主波長の光に対する第m(m:1,2,3)の分離面の反射率をRs1
mn
とするとき、
Rs1
21
>Rs1
22
>Rs1
23
Rs1
31
<Rs1
32
Rs1
31
<Rs1
32
なる条件式を満足することを特徴とする。
【発明の効果】
【0008】
本発明によれば、高い光利用効率で光量ムラを低減しつつ、外界の光の透過率を向上させることが可能な導光板を提供することが可能である。
【図面の簡単な説明】
【0009】
実施例1の導光板の構成図である。
実施例1の光源ユニットの構成図である。
実施例1の誘電体膜の入射角に対するS偏光の反射率を示す図である。
実施例1の各誘電体膜のS偏光の反射率を示す図である。
実施例1の外界の光のS偏光の透過率を示す図である。
実施例1の誘電体膜の入射角に対するP偏光の反射率を示す図である。
実施例1の外界の光の無偏光の透過率を示す図である。
実施例1の第1~3の分離面のS偏光の反射率を示す図である。
実施例1の第4~5の分離面のS偏光の反射率を示す図である。
実施例2の導光板の構成図である。
実施例3の導光板の構成図である。
従来例の画像表示装置の導光板の内部を伝搬する光束の概念図である。
【発明を実施するための形態】
【0010】
以下、本発明の実施例について、図面を参照しながら詳細に説明する。各図において、同一の部材については同一の参照番号を付し、重複する説明は省略する。
【実施例】
(【0011】以降は省略されています)
この特許をJ-PlatPat(特許庁公式サイト)で参照する
関連特許
キヤノン株式会社
容器
1か月前
キヤノン株式会社
容器
24日前
キヤノン株式会社
トナー
1か月前
キヤノン株式会社
トナー
16日前
キヤノン株式会社
電子機器
16日前
キヤノン株式会社
電子機器
11日前
キヤノン株式会社
定着装置
9日前
キヤノン株式会社
撮像装置
17日前
キヤノン株式会社
撮像装置
11日前
キヤノン株式会社
記録装置
16日前
キヤノン株式会社
電子機器
16日前
キヤノン株式会社
撮像装置
1か月前
キヤノン株式会社
記録装置
1か月前
キヤノン株式会社
記録装置
16日前
キヤノン株式会社
測距装置
18日前
キヤノン株式会社
撮像装置
1か月前
キヤノン株式会社
撮像装置
3日前
キヤノン株式会社
撮像装置
3日前
キヤノン株式会社
撮像装置
1か月前
キヤノン株式会社
雲台装置
16日前
キヤノン株式会社
定着装置
3日前
キヤノン株式会社
現像装置
1か月前
キヤノン株式会社
撮像装置
16日前
キヤノン株式会社
定着装置
9日前
キヤノン株式会社
定着装置
9日前
キヤノン株式会社
記録装置
9日前
キヤノン株式会社
定着装置
3日前
キヤノン株式会社
撮像装置
24日前
キヤノン株式会社
表示装置
24日前
キヤノン株式会社
露光ヘッド
9日前
キヤノン株式会社
液体収容体
19日前
キヤノン株式会社
液体収容体
18日前
キヤノン株式会社
画像形成装置
9日前
キヤノン株式会社
画像形成装置
9日前
キヤノン株式会社
画像形成装置
9日前
キヤノン株式会社
画像形成装置
9日前
続きを見る
他の特許を見る