TOP
|
特許
|
意匠
|
商標
特許ウォッチ
Twitter
他の特許を見る
公開番号
2025060056
公報種別
公開特許公報(A)
公開日
2025-04-10
出願番号
2023170546
出願日
2023-09-29
発明の名称
液体吐出器
出願人
株式会社吉野工業所
代理人
個人
,
個人
,
個人
主分類
B65D
47/34 20060101AFI20250403BHJP(運搬;包装;貯蔵;薄板状または線条材料の取扱い)
要約
【課題】ポンプに抉る方向の力を加えてもポンプがベースキャップから外れにくい、新たな液体吐出器を提供する。
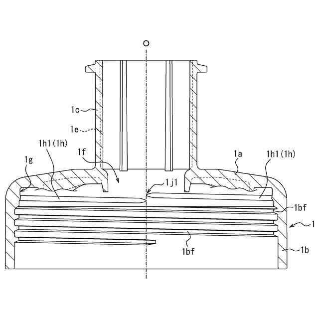
【解決手段】本開示の液体吐出器100は、容器本体Cにねじ係合する雌ねじ部1bfを有する筒状の外壁1bを有し、口部C2に装着されるベースキャップ1と、ベースキャップ1により容器本体Cの口部C2に垂下保持されるポンプと、内容液を外部へ吐出させるノズルヘッド14とを備える液体吐出器100であって、筒状のシリンダー4には、径方向外側に延在するフランジ4gが設けられており、フランジ4gの径方向外側端がベースキャップ1の外壁1bの内側面から径方向内側に突出する係合突起1hと係合することでシリンダー4はベースキャップ1に装着されており、係合突起1hは、複数の周方向位置から下方に向かって螺旋形状を描く複数の螺旋状突起1h1を有し、螺旋形状は雌ねじ部1bfと等しい傾斜角を有することを特徴とする。
【選択図】図3
特許請求の範囲
【請求項1】
容器本体の口部に設けた雄ねじ部にねじ係合する雌ねじ部を有する筒状の外壁を有し、前記口部に装着されるベースキャップと、
該ベースキャップにより容器本体の口部に垂下保持され内容液を吸引、加圧、圧送するポンプと、
内容液を内部通路を通して外部へ吐出させるノズルヘッドとを備える液体吐出器であって、
前記ポンプの外形を画する筒状のシリンダーには、上部から径方向外側に延在するフランジが設けられており、該フランジの径方向外側端が前記ベースキャップの前記外壁における前記雌ねじ部の上方の内側面から径方向内側に突出する係合突起と係合することで前記シリンダーは前記ベースキャップに装着されており、
前記係合突起は、該係合突起の上端部における複数の周方向位置から下方に向かって螺旋形状を描く複数の螺旋状突起を有し、前記螺旋形状は、前記雌ねじ部と等しい傾斜角を有する、液体吐出器。
続きを表示(約 57 文字)
【請求項2】
前記複数の螺旋状突起は、互いに周方向に重なっていない、請求項1に記載の液体吐出器。
発明の詳細な説明
【技術分野】
【0001】
本開示は、内容液を吐出させる液体吐出器に関するものである。
続きを表示(約 1,600 文字)
【背景技術】
【0002】
シャンプー、ボディソープ、ハンドソープ、洗顔料等を充填した容器では、内容液の簡便な使用を図る観点から、ノズルヘッドの押下によりポンプを作動させて容器内の内容液を吐出することができる液体吐出器を装備したものが多用されている。
【0003】
かかる液体吐出器は、容器の口部に保持されるベースキャップに、内容液の吸引、加圧、圧送を行うピストンを配置したシリンダーが取り付けられている。そして、ノズルヘッドを押圧してポンプ内のピストンを駆動させることで、内容液をシリンダー内に吸引するとともに加圧、圧送し、ノズルから吐出させる仕組みになっている(例えば、特許文献1参照)。
【先行技術文献】
【特許文献】
【0004】
特開2015- 67354号公報
【発明の概要】
【発明が解決しようとする課題】
【0005】
ところで、特許文献1に示す液体吐出器においては、ポンプを構成するシリンダーの上端部から径方向外側に延びるフランジがベースキャップの内面に設けた環状突起にアンダーカット係合することによってポンプがベースキャップに保持されるように構成されている。しかし、容器本体に装着する前の液体吐出器において、ポンプを抉るような力(ポンプをベースキャップを支点に傾ける方向の力)がかかると、ポンプとベースキャップとのアンダーカット係合における一部の周方向に強い引き抜き力がかかり、ポンプを軸線方向に引っ張った場合よりもベースキャップから容易に外れてしまう。
【0006】
上述のポンプとベースキャップとのアンダーカット係合は、ベースキャップ側の環状突起の径方向の高さを大きくすることで強固になるが、当該環状突起は、金型の無理抜きにより形成されるため、径方向の高さを大きくすると、無理抜きの際に環状突起を塑性変形させてしまう場合がある。そのため、環状突起の径方向の高さを大きくすることには限界があった。
【0007】
本開示は、ポンプに抉る方向の力を加えてもポンプがベースキャップから外れにくい、新たな液体吐出器を提供することにある。
【課題を解決するための手段】
【0008】
上述の課題を解決するために、本開示の液体吐出器は、
[1]
容器本体の口部に設けた雄ねじ部にねじ係合する雌ねじ部を有する筒状の外壁を有し、前記口部に装着されるベースキャップと、
該ベースキャップにより容器本体の口部に垂下保持され内容液を吸引、加圧、圧送するポンプと、
内容液を内部通路を通して外部へ吐出させるノズルヘッドとを備える液体吐出器であって、
前記ポンプの外形を画する筒状のシリンダーには、上部から径方向外側に延在するフランジが設けられており、該フランジの径方向外側端が前記ベースキャップの前記外壁における前記雌ねじ部の上方の内側面から径方向内側に突出する係合突起と係合することで前記シリンダーは前記ベースキャップに装着されており、
前記係合突起は、該係合突起の上端部における複数の周方向位置から下方に向かって螺旋形状を描く複数の螺旋状突起を有し、前記螺旋形状は、前記雌ねじ部と等しい傾斜角を有することを特徴とする。
【0009】
また、本開示の液体吐出器は、
[2]
上記[1]に記載の構成において、前記複数の螺旋状突起は、互いに周方向に重なっていないことが好ましい。
【発明の効果】
【0010】
本開示によれば、ポンプに抉る方向の力を加えてもポンプがベースキャップから外れにくい、新たな液体吐出器を提供することができる。
【図面の簡単な説明】
(【0011】以降は省略されています)
この特許をJ-PlatPat(特許庁公式サイト)で参照する
関連特許
他の特許を見る