TOP
|
特許
|
意匠
|
商標
特許ウォッチ
Twitter
他の特許を見る
10個以上の画像は省略されています。
公開番号
2025057008
公報種別
公開特許公報(A)
公開日
2025-04-09
出願番号
2023166606
出願日
2023-09-28
発明の名称
シートの切り出し装置
出願人
三菱重工機械システム株式会社
代理人
弁理士法人大場国際特許事務所
,
個人
,
個人
,
個人
,
個人
主分類
B31B
50/16 20170101AFI20250402BHJP(紙,板紙または紙と同様の方法で加工される材料からなる物品の製造;紙,板紙または紙と同様の方法で加工される材料の加工)
要約
【課題】寸法差が大い段ボールシート材であっても、シートを効率よく切り出すことのできる装置を提供すること。
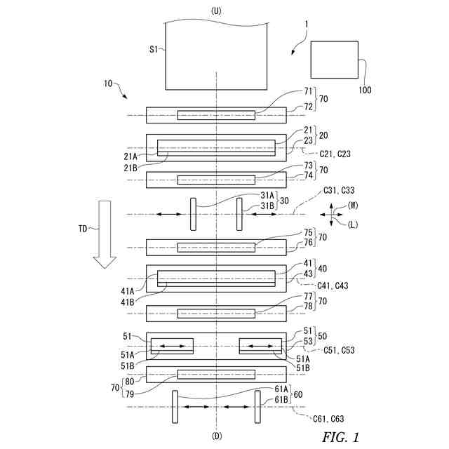
【解決手段】シートの切り出し装置1は、搬送方向に直交する横方向にシート材S1を切断してシートを分割するシート切断機20と、シートを搬送方向TDに平行な縦方向に縦罫線を形成する縦罫線機30と、シートにスロットを形成するスロット形成機50と、シートの横方向の両側を縦方向に切断してトリミングするトリミング機60と、を備える。縦罫線機は、横方向に間隔を空けて設けられ、横方向にそれぞれが独立して移動可能な一対の縦罫線ローラ31A、31Bを備え、スロット形成機は、横方向に間隔を空けて設けられ、横方向にそれぞれが独立して移動可能な一対のスロットローラ51を備え、トリミング機は、横方向に間隔を空けて設けられ、横方向にそれぞれが独立して移動可能な一対のトリミングナイフ61A,61Bと、を備える。
【選択図】図1
特許請求の範囲
【請求項1】
搬送方向に直交する横方向にシート材を切断してシートを分割するシート切断機と、
前記シートを搬送方向に平行な縦方向に縦罫線を形成する縦罫線機と、
前記縦罫線が形成された前記シートにスロットを形成するスロット形成機と、
前記スロットが形成された前記シートの前記横方向の両側を前記縦方向に切断してトリミングするトリミング機と、を備え、
前記縦罫線機は、
前記横方向に間隔を空けて設けられ、前記横方向にそれぞれが独立して移動可能な一対の縦罫線ローラを備え、
前記スロット形成機は、
前記横方向に間隔を空けて設けられ、前記横方向にそれぞれが独立して移動可能な一対のスロットローラを備え、
前記トリミング機は、
前記横方向に間隔を空けて設けられ、前記横方向にそれぞれが独立して移動可能な一対のトリミングナイフと、を備える、
シートの切り出し装置。
続きを表示(約 1,000 文字)
【請求項2】
前記縦罫線機において、
一対の縦罫線ローラにより前記シートに一対の前記縦罫線を形成した後に、一対の縦罫線ローラの前記間隔が変更されるか維持される、
請求項1に記載のシートの切り出し装置。
【請求項3】
前記スロット形成機において、
一対の前記スロットローラにより前記前記シートに複数の前記スロットを形成した後に、
一対の前記スロットローラの前記間隔が変更されるか維持される、
請求項1に記載のシートの切り出し装置。
【請求項4】
前記トリミング機において、
一対の前記トリミングナイフにより前記トリミングを行った後に、
一対の前記トリミングナイフの前記間隔が変更されるか維持される、
請求項1に記載のシートの切り出し装置。
【請求項5】
前記シート切断機で切断された後の前記シートは、
前記縦罫線機、前記スロット形成機および前記トリミング機を停止することなく通過して、前記縦罫線の形成、前記スロットの形成および前記トリミングのそれぞれの処理が順に行われる、
請求項1~請求項4のいずれか一項に記載のシートの切り出し装置。
【請求項6】
前記シート切断機で前記シートが切断された前記シート材の搬送が一旦は停止され、
前記縦罫線機において、
一対の縦罫線ローラの前記間隔が変更された後に、
前記シート材の搬送が再開され、前記シート切断機により、前記シート材を切断される、
請求項5に記載のシートの切り出し装置。
【請求項7】
前記シート切断機と前記縦罫線機の間、または、
前記縦罫線機と前記スロット形成機の間に、
前記シートの前記横方向に横罫線を形成する横罫線機が設けられる、請求項1に記載のシートの切り出し装置。
【請求項8】
前記シート切断機、前記縦罫線機、前記横罫線機、前記スロット形成機および前記トリミング機は、
前記搬送方向の位置が固定される、
請求項7に記載のシートの切り出し装置。
【請求項9】
一対の前記縦罫線ローラ、
一対の前記スロットローラ、および、
前記シートの前記横方向に横罫線を形成する横罫線機を構成する横罫線ローラは、鉛直方向に昇降可能とされる、
請求項1に記載のシートの切り出し装置。
発明の詳細な説明
【技術分野】
【0001】
本開示は、長尺なシート材から様々な寸法のシートを切り出す装置に関する。
続きを表示(約 2,100 文字)
【背景技術】
【0002】
物流業界で使用される段ボール梱包は、定型の段ボールシートを複数手配し、収容される商品に併せて箱詰後に出荷される。多種多様の商品、数量の商品の梱包を行う場合、事前に準備された定型段ボールシートによる梱包では、商品の周囲に無駄な空隙が生じることがあり、輸送効率の低下や余分な緩衝材のコストが発生する。
【0003】
シート材から段ボールシートを切り出す際には、以下の(1)~(5)の5つの工程を経る。なお、以下の工程の順番は一例であり、順番を入れ替えることができる工程がある。
(1)シート切断:シート材を必要な長さで切断して段ボールシートを得る。
(2)縦方向罫線入れ:段ボールシートに縦方向に罫線(折り目)を形成する。
(3)幅方向罫線入れ:段ボールシートに幅方向に罫線(折り目)を形成する。
(4)スロット形成機:段ボールシートにおけるフラップとフラップの間の切れ目であるスロットを形成する。
(5)トリミング:幅方向の両側の余剰分を切断して排除する。
【0004】
特許文献1は、シート材から様々な寸法の箱テンプレート(段ボールシート)を切り出して作製するシステム(装置)を提供する。特許文献1の装置は、それぞれが回転可能な3本のツールローラをシート材の上に隣接して配置し、かつ、3本のツールローラのそれぞれに対応する支持ローラを備えている。3本のツールローラのそれぞれに、箱テンプレートを作製するのに必要な機能を有するカッタ、ナイフなどのツールが備えられる。具体的には、シート材の搬送方向を基準にして、上流側のツールローラは切断および横罫線のためのツールを備え、中間のツールローラは縦罫線のためのツールおよびトリミングのためのツールを備え、下流側のツールローラはスロット形成のためのツールおよびシーム形成のためのツールを備える。
【0005】
特許文献1のシステムにおいて、中間ツールローラは、縦罫線(VL)のための一対のツールの間隔およびトリミングのための一対のツールの間隔が変更可能とされる。また、下流側ツールローラも、スロット形成およびシーム形成のための一対のツールの間隔が変更可能とされる。特許文献1のシステムは、中間ツールローラおよび下流側ツールローラにおけるツールの間隔を変更することにより、異なる寸法の段ボールシートを作製することができる。
【先行技術文献】
【特許文献】
【0006】
特表2022-524082号公報
【発明の概要】
【発明が解決しようとする課題】
【0007】
特許文献1のシステムにおいて、中間ツールローラは同軸上に縦罫線(VL)のためのツールおよびトリミングのためツールの二つのツールを備える。
したがって、特許文献1のシステムにおいては、縦罫線(VL)のためのツールとトリミングのためツールとが軸方向に相互に干渉してしまい、所望する間隔の変更ができないことがある。これにより、取り扱う段ボールシートの寸法に大きな差がある場合には、ツールローラおよびツールの一方または双方の交換が必要になる。
また、同軸上に二つのツールを備える特許文献1のシステムにおいては、厚さの異なるシート材を受け入れるには、やはりツールの交換を伴う。
【0008】
そこで、本開示は、寸法の差が大きく異なる段ボールシートであり、かつ、厚さの異なるシート材からシートを効率よく切り出すことのできる装置を提供することを目的とする。
【課題を解決するための手段】
【0009】
本開示に係るシートの切り出し装置は、
搬送方向に直交する横方向にシート材を切断してシートを分割するシート切断機と、
シートを搬送方向に平行な縦方向に縦罫線を形成する縦罫線機と、
縦罫線が形成されたシートにスロットを形成するスロット形成機と、
スロットが形成されたシートの横方向の両側を縦方向に切断してトリミングするトリミング機と、を備える。
縦罫線機は、
横方向に間隔を空けて設けられ、横方向にそれぞれが独立して移動可能な一対の縦罫線ローラを備え、
スロット形成機は、
横方向に間隔を空けて設けられ、横方向にそれぞれが独立して移動可能な一対のスロットローラを備え、
トリミング機は、
横方向に間隔を空けて設けられ、横方向にそれぞれが独立して移動可能な一対のトリミングナイフと、を備える。
【発明の効果】
【0010】
本開示の切り出し装置によれば、横方向に移動可能なツールを含むローラについて、独立して移動可能であることから、互いに移動を制約しない。したがって、寸法の差が大きく異なる段ボールシートであっても、シート材から効率よく切り出すことができる。加えて、必要なツールを鉛直方向に独立して移動することができるので、シート材の厚さの変更にも容易に対応できる。
【図面の簡単な説明】
(【0011】以降は省略されています)
この特許をJ-PlatPat(特許庁公式サイト)で参照する
関連特許
個人
高剛性段ボール
9か月前
デュプロ精工株式会社
加工機
2日前
大森機械工業株式会社
箱詰め装置
2日前
個人
紙製ダンボールの加工器具、成形方法
5か月前
株式会社メタルクリエイション
窓貼機
6か月前
エントラスト株式会社
袋体の製造方法
7か月前
株式会社メタルクリエイション
貼合機
1か月前
デュプロ精工株式会社
塗布装置及び加工機
2日前
東罐興業株式会社
シート状部材搬送装置
2か月前
個人
パッケージ箱作成用具およびパッケージ箱作成方法
4か月前
株式会社ユーシン
段ボール部材、
5か月前
サクラパックス株式会社
矯正装置
6か月前
株式会社ユウコス
シート加工装置
6か月前
三菱重工機械システム株式会社
処理装置
8か月前
株式会社アプリス
カップ容器及び製造方法
4か月前
東罐興業株式会社
テープ搬送装置およびテープ搬送方法
2か月前
株式会社ダイワハイテックス
箱型製造装置、及び箱型製造方法
8か月前
トヨタ自動車株式会社
フィルム製造装置及びフィルム製造方法
8か月前
TOPPANホールディングス株式会社
トレー製造装置
9か月前
カモ井加工紙株式会社
付箋及び付箋の製造方法
1か月前
東洋アルミエコープロダクツ株式会社
保持枠付き容器の組み立て治具
3か月前
株式会社東京自働機械製作所
ジッパ貼り付け装置
6か月前
エステー産業株式会社
収容容器の製造方法及び製造装置
8か月前
三菱重工機械システム株式会社
搬送装置、搬送方法
2か月前
王子ホールディングス株式会社
キッチンタオルロール
8か月前
株式会社協和製作所
積層段ボールシート及び製造方法
2か月前
株式会社トーモク
封筒型パッケージの製造方法
8か月前
株式会社トーモク
封筒型パッケージの製造方法
5か月前
株式会社トーモク
封筒型パッケージの製造方法
5か月前
株式会社トーモク
封筒型パッケージの製造方法
8か月前
富士フイルム株式会社
加工装置、及び袋状部材の製造方法
5か月前
サクラパックス株式会社
包装用箱の製造方法および包装用箱
5か月前
東罐興業株式会社
カップ容器製造装置およびカップ容器製造方法
9か月前
東洋製罐株式会社
フィルム搬送装置およびフィルム搬送方法
9か月前
株式会社トッパンインフォメディア
ラベル集積治具及びラベル集積装置
6か月前
押尾産業株式会社
注出口具の製造方法
6か月前
続きを見る
他の特許を見る