TOP
|
特許
|
意匠
|
商標
特許ウォッチ
Twitter
他の特許を見る
公開番号
2025050568
公報種別
公開特許公報(A)
公開日
2025-04-04
出願番号
2023159434
出願日
2023-09-25
発明の名称
装着判定システム、装着判定装置及び装着判定方法
出願人
株式会社JVCケンウッド
代理人
個人
主分類
A42B
3/30 20060101AFI20250328BHJP(頭部に着用するもの)
要約
【課題】ヘルメットの装着を適切に検出し、通知を行うことができる装着判定システム、装着判定装置及び装着判定方法を提供する。
【解決手段】装着判定システム100は、1以上のヘルメット200と、ヘルメット200と通信可能な装着判定装置300を備え、装着判定装置300は、ヘルメット200を装着する人物に対してヘルメット200を装着することが求められている状態であるか否かを判断する状態判断部311と、当該人物がヘルメット200を適切に装着しているか否かを判断する装着判断部312と、ヘルメット200を装着することが求められている状態であって、当該人物がヘルメット200を適切に装着していない場合に、所定の通知を行う通知制御部313と、を備える。
【選択図】図1
特許請求の範囲
【請求項1】
1以上の装着部材と、前記装着部材と通信可能な装着判定装置を備え、
前記装着判定装置は、
前記装着部材を装着する人物に対して前記装着部材を装着することが求められている状態であるか否かを判断する状態判断部と、
前記人物が前記装着部材を適切に装着しているか否かを判断する装着判断部と、
前記装着部材を装着することが求められている状態であって、前記人物が前記装着部材を適切に装着していない場合に、所定の通知を行う通知制御部と、
を備える、装着判定システム。
続きを表示(約 690 文字)
【請求項2】
装着部材を装着する人物に対して前記装着部材を装着することが求められている状態であるか否かを判断する状態判断部と、
前記人物が前記装着部材を適切に装着しているか否かを判断する装着判断部と、
前記装着部材を装着することが求められている状態であって、前記人物が前記装着部材を適切に装着していない場合に、所定の通知を行う通知制御部と、
を備える、装着判定装置。
【請求項3】
前記状態判断部は、前記装着部材の位置が、前記装着部材を装着することが求められる位置にある場合に、前記人物に対して前記装着部材を装着することが求められている状態であると判断する、
請求項2に記載の装着判定装置。
【請求項4】
前記状態判断部は、前記装着部材の移動速度が、前記装着部材を装着することが求められる移動速度である場合に、前記人物に対して前記装着部材を装着することが求められている状態であると判断する、
請求項2に記載の装着判定装置。
【請求項5】
装着判定装置を制御するコンピュータが、
装着部材を装着する人物に対して前記装着部材を装着することが求められている状態であるか否かを判断する状態判断ステップと、
前記人物が前記装着部材を適切に装着しているか否かを判断する装着判断ステップと、
前記装着部材を装着することが求められている状態であって、前記人物が前記装着部材を適切に装着していない場合に、所定の通知を行う通知制御ステップと、
を実行する、装着判定方法。
発明の詳細な説明
【技術分野】
【0001】
本発明は、装着判定システム、装着判定装置及び装着判定方法に関する。
続きを表示(約 1,500 文字)
【背景技術】
【0002】
工事現場や二輪車乗車時等、ヘルメット着用が義務付けられている状況において、ヘルメットが適切に装着されていることを確認することが必要となる。特許文献1には、画像に対して学習モデルを用いた画像処理を行って、ヘルメット装着判定を行う技術が開示されている。
【先行技術文献】
【特許文献】
【0003】
特開2022-140519号公報
【発明の概要】
【発明が解決しようとする課題】
【0004】
このような技術は、頭部を撮影する必要があるため、二輪車に対しての判定は車両外から撮影する必要がある。また、工事現場などにおいては、カメラ設置場所でしか判定できない。また、フルフェイス型のヘルメット以外では、顎紐が適切に連結されているか否かを、映像からは適切に判定できない場合もある。
【0005】
本発明は、ヘルメットの装着を適切に検出し、通知を行うことができる装着判定システム、装着判定装置及び装着判定方法を提供することを目的とする。
【課題を解決するための手段】
【0006】
本発明に係る装着判定システムは、1以上の装着部材と、前記装着部材と通信可能な装着判定装置を備え、前記装着判定装置は、前記装着部材を装着する人物に対して前記装着部材を装着することが求められている状態であるか否かを判断する状態判断部と、前記人物が前記装着部材を適切に装着しているか否かを判断する装着判断部と、前記装着部材を装着することが求められている状態であって、前記人物が前記装着部材を適切に装着していない場合に、所定の通知を行う通知制御部と、を備える。
【0007】
本発明に係る装着判定装置は、装着部材を装着する人物に対して前記装着部材を装着することが求められている状態であるか否かを判断する状態判断部と、前記人物が前記装着部材を適切に装着しているか否かを判断する装着判断部と、前記装着部材を装着することが求められている状態であって、前記人物が前記装着部材を適切に装着していない場合に、所定の通知を行う通知制御部と、を備える。
【0008】
本発明に係る装着判定方法は、装着判定装置を制御するコンピュータが、装着部材を装着する人物に対して前記装着部材を装着することが求められている状態であるか否かを判断する状態判断ステップと、前記人物が前記装着部材を適切に装着しているか否かを判断する装着判断ステップと、前記装着部材を装着することが求められている状態であって、前記人物が前記装着部材を適切に装着していない場合に、所定の通知を行う通知制御ステップと、を実行する方法である。
【発明の効果】
【0009】
本発明によれば、ヘルメットの装着を適切に検出し、通知を行うことができる装着判定システム、装着判定装置及び装着判定方法を提供することができる。
【図面の簡単な説明】
【0010】
実施形態1に係る装着判定システムの構成の一例を示すブロック図である。
実施形態1に係るヘルメットの構成の一例を示すブロック図である。
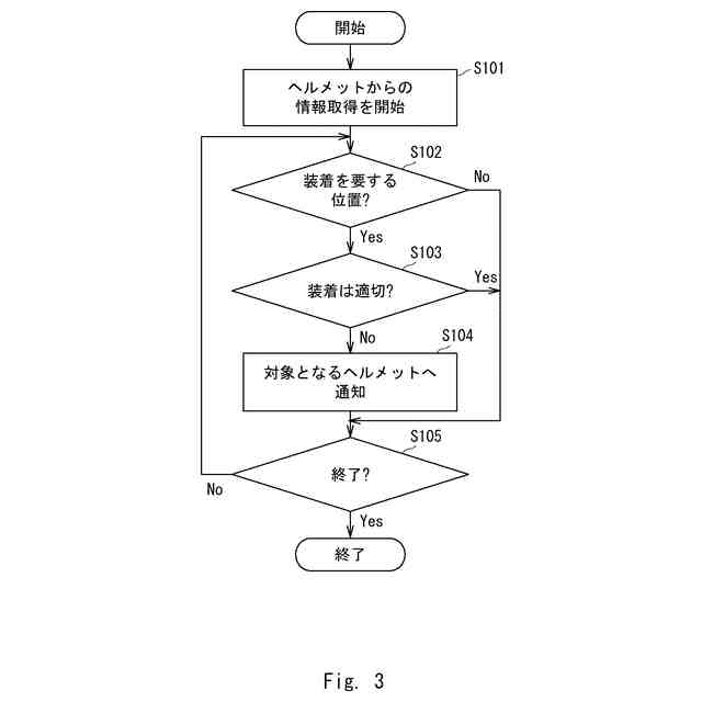
実施形態1に係る装着判定方法の一例を示すフローチャートである。
実施形態2に係る装着判定装置の構成の一例を示すブロック図である。
実施形態2に係る装着判定方法の一例を示すフローチャートである。
実施形態3に係る装着判定装置の構成の一例を示すブロック図である。
実施形態3に係る装着判定方法の一例を示すフローチャートである。
【発明を実施するための形態】
(【0011】以降は省略されています)
この特許をJ-PlatPat(特許庁公式サイト)で参照する
関連特許
個人
帽子
6か月前
個人
瞬間日陰
7か月前
個人
頭部装着具
8か月前
個人
頭部保護具
1か月前
個人
熱中症対策帽子
6か月前
個人
肩車補助ヘルメット
21日前
株式会社TAT
冷却具
9か月前
有限会社トラッド
冷却装置付きヘルメット
5か月前
個人
制振機能を有する疲労軽減ヘルメット
7か月前
株式会社スペースシーファイブ
帽子
6か月前
東洋物産工業株式会社
分割ヘルメット
4か月前
有限会社トップエンタープライズ
帽子
3か月前
株式会社トーヨーセーフティ
ヘルメット
2か月前
パイオニア株式会社
通信装置
2か月前
パイオニア株式会社
通信装置
2か月前
株式会社イエロー
頭部保護具用内装材
6か月前
ミドリ安全株式会社
インナーキャップ
6か月前
ミドリ安全株式会社
帽体、ヘルメット
8か月前
個人
圧縮収納できるレインコートを付けたヘルメット
1か月前
個人
スマートあご紐を有するヘルメット
3か月前
ミドリ安全株式会社
保護帽
8か月前
株式会社日曜発明ギャラリー
帽子等に用いる冷却構造
5か月前
ミドリ安全株式会社
保護帽
9か月前
株式会社ダイセル
保護装置
3か月前
補装具工房スタンス株式会社
頭蓋形状誘導ヘルメット
6か月前
株式会社谷沢製作所
ヘルメット
4か月前
パイオニア株式会社
通信装置、ヘルメット
2か月前
株式会社谷沢製作所
ヘルメット
4か月前
株式会社オリエンタルミラクル
帯体および帯体の製造方法
6か月前
株式会社セフト研究所
スペーサ及びスペーサ付帽子
10か月前
ジェントス株式会社
ヘルメット及びその器具類取付装置
8か月前
株式会社コジット
ヘルメットカバー、及びカバー付きヘルメット
7か月前
個人
自転車の鍵を用いてあご紐のバックルを解錠、施錠するヘルメット
1か月前
株式会社谷沢製作所
自転車用ヘルメット
2か月前
株式会社JVCケンウッド
制御システム、ヘルメット、及び制御方法
5か月前
ミドリ安全株式会社
保護帽、帽体および衝撃吸収体
1か月前
続きを見る
他の特許を見る