TOP
|
特許
|
意匠
|
商標
特許ウォッチ
Twitter
他の特許を見る
10個以上の画像は省略されています。
公開番号
2025049885
公報種別
公開特許公報(A)
公開日
2025-04-04
出願番号
2023158370
出願日
2023-09-22
発明の名称
半導体装置
出願人
株式会社東芝
,
東芝デバイス&ストレージ株式会社
代理人
弁理士法人iX
主分類
H10D
30/66 20250101AFI20250327BHJP()
要約
【課題】リーク電流を低減可能な半導体装置を提供する。
【解決手段】実施形態に係る半導体装置は、第1電極、第1導電形の第1半導体領域、第2導電形の第2半導体領域、第1導電形の第3半導体領域、ゲート電極、第2導電形の第4半導体領域、第2電極、及び第2導電形の第5半導体領域を備える。第1半導体領域は、第1部分と、第1部分の周りに設けられた第2部分と、を含む。第2半導体領域は、第1部分の上に設けられている。第4半導体領域は、第2部分の上に設けられている。第2電極は、第1金属部と第2金属部を含む。第1金属部は、第1部分及び第2半導体領域と接する。第2金属部は、第2部分及び第4半導体領域と接する。第1金属部と第2金属部は、チタン、モリブデン、及びバナジウムからなる群より選択される少なくとも1つの第1元素を含む。第5半導体領域は、第4半導体領域よりも下方に設けられ、第2金属部の直下に位置する。
【選択図】図1
特許請求の範囲
【請求項1】
第1電極と、
前記第1電極の上に設けられ、第1部分と、前記第1電極から前記第1部分に向かう第1方向に垂直な第1面に沿って前記第1部分の周りに設けられた第2部分と、を含む第1導電形の第1半導体領域と、
前記第1部分の上に設けられた第2導電形の第2半導体領域と、
前記第2半導体領域の上に設けられた第1導電形の第3半導体領域と、
前記第2半導体領域とゲート絶縁層を介して対面するゲート電極と、
前記第2部分の上に設けられ、前記第1面に沿って前記第2半導体領域の周りに位置する第2導電形の第4半導体領域と、
前記第1部分及び前記第2半導体領域と接し、チタン、モリブデン、及びバナジウムからなる群より選択される少なくとも1つの第1元素を含む第1金属部と、
前記第2部分及び前記第4半導体領域と接し、前記第1元素を含む第2金属部と、
を含み、前記第2半導体領域、前記第3半導体領域、及び前記第4半導体領域の上に設けられた第2電極と、
前記第4半導体領域よりも下方に設けられ、前記第2金属部の直下に位置する第2導電形の第5半導体領域と、
を備えた半導体装置。
続きを表示(約 960 文字)
【請求項2】
前記第5半導体領域の第2導電形の不純物濃度は、前記第4半導体領域の第2導電形の不純物濃度よりも低い、請求項1に記載の半導体装置。
【請求項3】
前記第5半導体領域は、前記第4半導体領域と接する、請求項1又は2に記載の半導体装置。
【請求項4】
前記第2半導体領域、前記第3半導体領域、前記ゲート電極、及び前記第1金属部のそれぞれは、前記第1部分の上方において、前記第1方向に垂直な第2方向に複数設けられ、
前記第4半導体領域は、前記第1面に沿って、複数の前記第2半導体領域の周りに設けられ、
前記第2金属部は、前記第1面に沿って、複数の前記第1金属部の周りに設けられた、請求項1又は2に記載の半導体装置。
【請求項5】
前記第4半導体領域は、前記第1部分から前記第2部分に向かう方向において複数設けられ、
前記第2金属部は、前記複数の第4半導体領域と、前記複数の第4半導体領域同士の間に位置する前記第2部分の一部と、に接し、
前記第5半導体領域は、前記第2部分の前記一部の下に位置する、請求項4に記載の半導体装置。
【請求項6】
前記第1部分は、
前記第2半導体領域及び前記第1金属部と接する第1領域と、
前記第1電極と前記第1領域との間に位置する第2領域と、
を含み、
前記第1領域の第1導電形の不純物濃度は、前記第2領域の第1導電形の不純物濃度よりも高い、請求項1又は2に記載の半導体装置。
【請求項7】
前記第2部分は、
前記第4半導体領域及び前記第2金属部と接し、前記第5半導体領域と前記第2金属部との間に位置する第3領域と、
前記第1電極と前記第3領域との間に位置する第4領域と、
を含み、
前記第3領域の第1導電形の不純物濃度は、前記第4領域の第1導電形の不純物濃度よりも高い、請求項1又は2に記載の半導体装置。
【請求項8】
前記第1半導体領域、前記第2半導体領域、前記第3半導体領域、前記第4半導体領域、及び前記第5半導体領域は、炭化珪素を含む、請求項1又は2に記載の半導体装置。
発明の詳細な説明
【技術分野】
【0001】
本発明の実施形態は、半導体装置に関する。
続きを表示(約 2,700 文字)
【背景技術】
【0002】
Metal Oxide Semiconductor Field Effect Transistor(MOSFET)などの半導体装置は、電力変換等の用途に用いられる。半導体装置のリーク電流は、小さいことが望ましい。
【先行技術文献】
【特許文献】
【0003】
特許第6649183号公報
【発明の概要】
【発明が解決しようとする課題】
【0004】
本発明が解決しようとする課題は、リーク電流を低減可能な半導体装置を提供することである。
【課題を解決するための手段】
【0005】
実施形態に係る半導体装置は、第1電極と、第1導電形の第1半導体領域と、第2導電形の第2半導体領域と、第1導電形の第3半導体領域と、ゲート電極と、第2導電形の第4半導体領域と、第2電極と、第2導電形の第5半導体領域と、を備える。前記第1半導体領域は、前記第1電極の上に設けられている。前記第1半導体領域は、第1部分と、前記第1電極から前記第1部分に向かう第1方向に垂直な第1面に沿って前記第1部分の周りに設けられた第2部分と、を含む。前記第2半導体領域は、前記第1部分の上に設けられている。前記第3半導体領域は、前記第2半導体領域の上に設けられている。前記ゲート電極は、前記第2半導体領域とゲート絶縁層を介して対面する。前記第4半導体領域は、前記第2部分の上に設けられ、前記第1面に沿って前記第2半導体領域の周りに位置する。前記第2電極は、第1金属部と第2金属部を含む。前記第1金属部は、前記第1部分及び前記第2半導体領域と接し、チタン、モリブデン、及びバナジウムからなる群より選択される少なくとも1つの第1元素を含む。前記第2金属部は、前記第2部分及び前記第4半導体領域と接し、前記第1元素を含む。前記第2電極は、前記第2半導体領域、前記第3半導体領域、及び前記第4半導体領域の上に設けられている。前記第5半導体領域は、前記第4半導体領域よりも下方に設けられ、前記第2金属部の直下に位置する。
【図面の簡単な説明】
【0006】
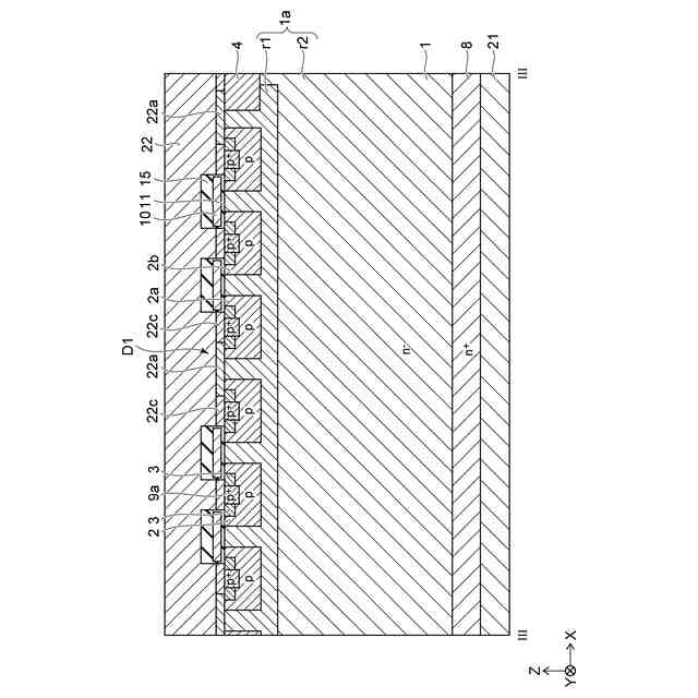
図1は、実施形態に係る半導体装置を示す平面図である。
図2は、図1の部分IIの拡大平面図である。
図3は、図2のIII-III断面図である。
図4は、図2のIV-IV断面図である。
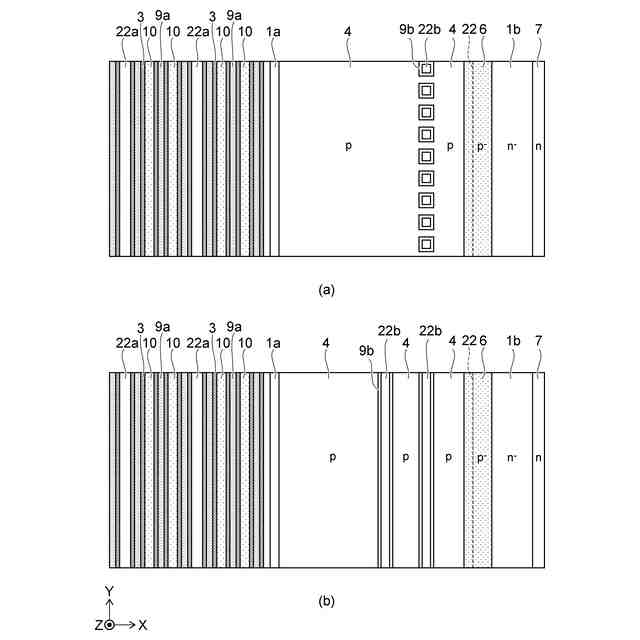
図5(a)及び図5(b)は、実施形態に係る半導体装置の製造方法を示す断面図である。
図6(a)及び図6(b)は、実施形態に係る半導体装置の製造方法を示す断面図である。
図7(a)及び図7(b)は、実施形態に係る半導体装置の製造方法を示す断面図である。
図8(a)及び図8(b)は、実施形態に係る半導体装置の別の一例を示す平面図である。
図9は、実施形態の第1変形例に係る半導体装置の一部を示す断面図である。
図10は、実施形態の第1変形例に係る半導体装置の一部を示す断面図である。
図11は、実施形態の第2変形例に係る半導体装置の一部を示す断面図である。
【発明を実施するための形態】
【0007】
以下に、本発明の各実施形態について図面を参照しつつ説明する。図面は模式的または概念的なものであり、各部分の厚みと幅との関係、部分間の大きさの比率などは、必ずしも現実のものと同一とは限らない。また、同じ部分を表す場合であっても、図面により互いの寸法や比率が異なって表される場合もある。本願明細書と各図において、既に説明したものと同様の要素には同一の符号を付して詳細な説明は適宜省略する。
以下の説明において、n
+
、n、n
-
及びp
+
、p、p
-
の表記は、各導電形における不純物濃度の相対的な高低を表す。すなわち、n
+
はnよりもn形の不純物濃度が相対的に高く、n
-
はnよりもn形の不純物濃度が相対的に低いことを示す。また、p
+
はpよりもp形の不純物濃度が相対的に高く、p
-
はpよりもp形の不純物濃度が相対的に低いことを示す。以下で説明する各実施形態について、各半導体領域のp形とn形を反転させて各実施形態を実施してもよい。
【0008】
図1は、実施形態に係る半導体装置を示す平面図である。図2は、図1の部分IIの拡大平面図である。図3は、図2のIII-III断面図である。図4は、図2のIV-IV断面図である。
実施形態に係る半導体装置は、MOSFETである。図1~図4に示すように、実施形態に係る半導体装置100は、n
-
形(第1導電形)ドリフト領域1(第1半導体領域)、p形(第2導電形)ベース領域2(第2半導体領域)、n
+
形ソース領域3(第3半導体領域)、p形半導体領域4(第4半導体領域)、p
-
形シールド領域5(第5半導体領域)、p
-
形リサーフ領域6、n形半導体領域7、n
+
形ドレイン領域8、p
+
形コンタクト領域9a、p
+
形コンタクト領域9b、ゲート電極10、絶縁層15、ドレイン電極21(第1電極)、ソース電極22(第2電極)、及びゲートパッド23を備える。なお、図1では、絶縁層15が省略されている。図2では、絶縁層15とソース電極22の一部とが省略されている。
【0009】
実施形態の説明では、XYZ直交座標系を用いる。ドレイン電極21からn
-
形ドリフト領域1の一部(第1部分1a)に向かう方向をZ方向(第1方向)とする。Z方向に対して垂直であり、相互に直交する二方向をX方向(第2方向)及びY方向(第3方向)とする。また、説明のために、ドレイン電極21からn
-
形ドリフト領域1に向かう方向を「上」と言い、その反対方向を「下」と言う。これらの方向は、ドレイン電極21とn
-
形ドリフト領域1との相対的な位置関係に基づき、重力の方向とは無関係である。
【0010】
図1に示すように、半導体装置100の上面には、ソース電極22及びゲートパッド23が設けられている。ソース電極22及びゲートパッド23は、互いに離れている。
(【0011】以降は省略されています)
この特許をJ-PlatPat(特許庁公式サイト)で参照する
関連特許
株式会社東芝
センサ
1か月前
株式会社東芝
モータ
1か月前
株式会社東芝
センサ
1か月前
株式会社東芝
端子台
8日前
株式会社東芝
電子回路
17日前
株式会社東芝
除去装置
1日前
株式会社東芝
電子装置
1か月前
株式会社東芝
吸音装置
1か月前
株式会社東芝
電子装置
21日前
株式会社東芝
金型構造
1か月前
株式会社東芝
高周波回路
17日前
株式会社東芝
半導体装置
17日前
株式会社東芝
半導体装置
17日前
株式会社東芝
半導体装置
17日前
株式会社東芝
半導体装置
17日前
株式会社東芝
半導体装置
17日前
株式会社東芝
半導体装置
1か月前
株式会社東芝
半導体装置
1か月前
株式会社東芝
半導体装置
1か月前
株式会社東芝
半導体装置
1か月前
株式会社東芝
半導体装置
23日前
株式会社東芝
半導体装置
1か月前
株式会社東芝
半導体装置
23日前
株式会社東芝
半導体装置
24日前
株式会社東芝
真空バルブ
16日前
株式会社東芝
半導体装置
23日前
株式会社東芝
半導体装置
1か月前
株式会社東芝
真空バルブ
22日前
株式会社東芝
半導体装置
22日前
株式会社東芝
半導体装置
23日前
株式会社東芝
半導体装置
23日前
株式会社東芝
粒子加速器
1か月前
株式会社東芝
半導体装置
1か月前
株式会社東芝
半導体装置
21日前
株式会社東芝
半導体装置
21日前
株式会社東芝
半導体装置
1か月前
続きを見る
他の特許を見る