TOP
|
特許
|
意匠
|
商標
特許ウォッチ
Twitter
他の特許を見る
10個以上の画像は省略されています。
公開番号
2025041212
公報種別
公開特許公報(A)
公開日
2025-03-26
出願番号
2023148372
出願日
2023-09-13
発明の名称
折り畳み式台車
出願人
株式会社 サスダ
代理人
個人
主分類
B62B
3/02 20060101AFI20250318BHJP(鉄道以外の路面車両)
要約
【課題】折り畳まれた状態での取り扱い及び収納が容易な折り畳み式台車を提供する。
【解決手段】折り畳み及び展開が可能な折り畳み式台車10であって、使用場所に接地される第1脚部11及び第2脚部12と、第1脚部11と第2脚部12との間に設けられ、かつ、第1脚部11と第2脚部12とを第1方向D1に沿って接近及び離間できるように接続するベースリンク13と、第1脚部11及び第2脚部12へ取り付け及び取り外し可能であり、かつ、第1脚部11と第2脚部12とが第1方向D1に沿って離間された距離を固定する第1スタンドフレーム14及び第2スタンドフレーム15と、第1脚部11及び第2脚部12へ取り付け及び取り外しが可能であり、かつ、物体を支持する第1スタンドフレーム14及び第2スタンドフレーム15と、を有する。
【選択図】図2
特許請求の範囲
【請求項1】
折り畳み及び展開が可能な折り畳み式台車であって、
使用場所に接地される第1脚部及び第2脚部と、
前記第1脚部と前記第2脚部との間に設けられ、かつ、前記第1脚部と前記第2脚部とを第1方向に沿って接近及び離間できるように接続する接続部材と、
前記第1脚部及び前記第2脚部へ取り付け及び取り外し可能であり、かつ、前記第1脚部及び前記第2脚部へ取り付けられて前記第1脚部と前記第2脚部とが前記第1方向に沿って離間された距離を固定する距離固定部材と、
前記第1脚部及び前記第2脚部へ取り付け及び取り外しが可能であり、かつ、前記第1脚部及び前記第2脚部へ取り付けられて物体を支持する物体支持部材と、
を有する、折り畳み式台車。
続きを表示(約 1,100 文字)
【請求項2】
請求項1記載の折り畳み式台車であって、
前記第1脚部から前記第1方向とは異なる第2方向に突出された第1連結部と、
前記第2脚部から前記第2方向に突出された第2連結部を有し、
を有し、
前記物体支持部材は、
前記第1連結部に取り付け及び取り外しされる第1支柱と、
前記第2連結部に取り付け及び取り外しされる第2支柱と、
前記第1支柱と前記第2支柱とを接続し、かつ、前記物体を支持する支持台と、
を有する、折り畳み式台車。
【請求項3】
請求項1記載の折り畳み式台車であって、
前記物体支持部材は、前記距離固定部材を兼ねている、折り畳み式台車。
【請求項4】
請求項1記載の折り畳み式台車であって、
前記第1脚部と前記第2脚部とが前記第1方向に沿って最も接近された折り畳み状態で、前記第1脚部と前記第2脚部との距離を固定する補助固定部材が、更に設けられている、折り畳み式台車。
【請求項5】
請求項2記載の折り畳み式台車であって、
前記第1支柱に取り付け及び取り外しされる第1連結部材と、
前記第2支柱に取り付け及び取り外しされる第2連結部材と、
前記第1連結部材及び前記第2連結部材に取り付け及び取り外しされる補助物体支持部材と、
が更に設けられている、折り畳み式台車。
【請求項6】
請求項2記載の折り畳み式台車であって、
前記第1脚部及び前記第2脚部は、使用場所に接地されるキャスタをそれぞれ有する、折り畳み式台車。
【請求項7】
請求項6記載の折り畳み式台車であって、
前記第1脚部、前記第2脚部及び前記接続部材により、折り畳み及び展開が可能なユニットが構成され、
前記第1脚部に設けられる前記キャスタは、前記第1脚部に固定される第1取り付け座を有し、
前記第2脚部に設けられる前記キャスタは、前記第2脚部に固定される第2取り付け座を有し、
前記第1脚部に固定される第1規制板と、
前記第2脚部に固定される第2規制板と、
が更に設けられ、
前記ユニットの折り畳み状態で、前記第1規制板及び前記第2規制板と、前記第1取り付け座及び前記第2取り付け座とにより前記接続部材が挟まれて、前記接続部材が、前記第1脚部及び前記第2脚部に対して前記第2方向に位置決めされる、折り畳み式台車。
【請求項8】
請求項3記載の折り畳み式台車であって、
前記物体支持部材を複数収納する収納器が、更に設けられている、折り畳み式台車。
発明の詳細な説明
【技術分野】
【0001】
本開示は、折り畳み及び展開が可能な折り畳み式台車に関する。
続きを表示(約 2,100 文字)
【背景技術】
【0002】
折り畳み及び展開が可能な折り畳み式台車の一例が、特許文献1に記載されている。特許文献1に記載された折り畳み式台車は、対向する遊端側が上下方向に回動可能に枢着された左右一対の物品載置板を上下複数段備えている。また、特許文献1に記載された折畳み式台車は、左右の物品載置板の基端側を下端部に車輪を有する前後一対の脚柱に枢着することにより、山折り状に折り畳み可能としてある。さらに、特許文献1に記載された折畳み式台車は、各段に左右一対の物品載置板の谷折り方向への回動を規制する規制手段が設けられている。さらに、特許文献1に記載された折畳み式台車は、複数段の左右一対の物品載置板の遊端が、前後方向の何れか一方において上下方向に延びる連結杆に、それぞれ回動可能に枢着されている。
【先行技術文献】
【特許文献】
【0003】
特開2023-7258号公報
【発明の概要】
【発明が解決しようとする課題】
【0004】
本願発明者は、特許文献1に記載された折り畳み式台車は、折り畳まれた状態において、一対の脚注が立てられ、かつ、一対の脚注の間に、上下方向に延びる杆が位置する。このため、特許文献1に記載された折り畳み式台車は、折り畳まれた状態での取り扱い及び収納が面倒である、課題を認識した。
【0005】
本開示の目的は、折り畳まれた状態での取り扱い及び収納が容易な折り畳み式台車を提供することにある。
【課題を解決するための手段】
【0006】
本開示は、折り畳み及び展開が可能な折り畳み式台車であって、使用場所に接地される第1脚部及び第2脚部と、前記第1脚部と前記第2脚部との間に設けられ、かつ、前記第1脚部と前記第2脚部とを第1方向に沿って接近及び離間できるように接続する接続部材と、前記第1脚部及び前記第2脚部へ取り付け及び取り外し可能であり、かつ、前記第1脚部及び前記第2脚部へ取り付けられて前記第1脚部と前記第2脚部とが前記第1方向に沿って離間された距離を固定する距離固定部材と、前記第1脚部及び前記第2脚部へ取り付け及び取り外しが可能であり、かつ、前記第1脚部及び前記第2脚部へ取り付けられて物体を支持する物体支持部材と、を有する。
【発明の効果】
【0007】
本開示の折り畳み式台車は、折り畳まれた状態の取り扱い及び収納が容易である。
【図面の簡単な説明】
【0008】
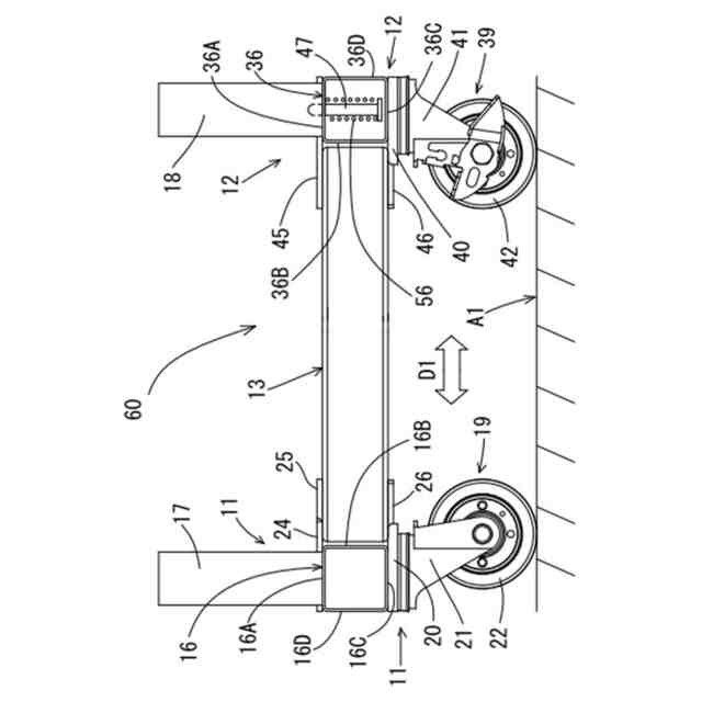
折り畳み式台車の使用状態を示す斜視図である。
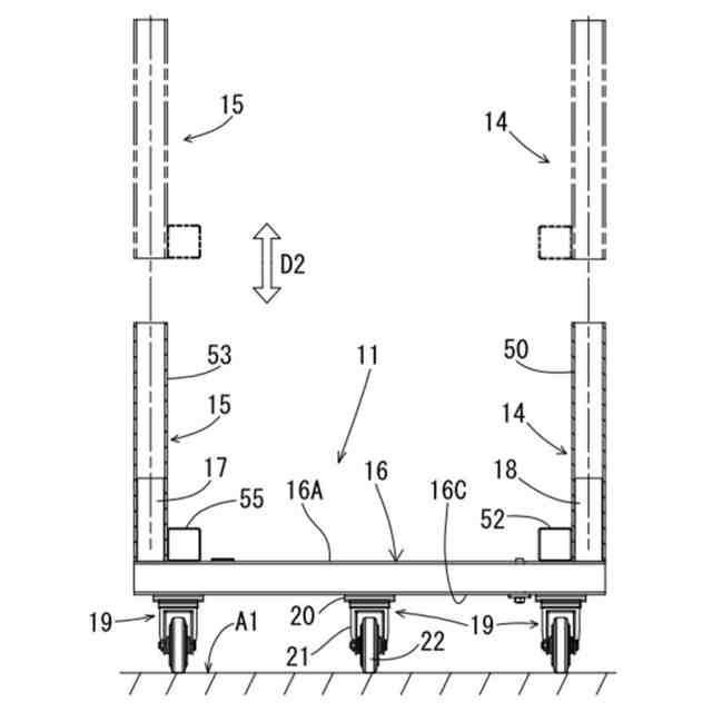
折り畳み式台車が有する支持ユニットと、第1スタンドフレーム及び第2スタンドフレームとが分離された状態の斜視図である。
支持ユニットが折り畳まれた状態の斜視図である。
折り畳み式台車が有する第1ベースフレームの側面図である。
支持ユニットが展開された状態の側面図である。
支持ユニットが折り畳まれた状態の側面図である。
折り畳み式台車の使用状態を示す平面図である。
支持ユニットが折り畳まれた状態の底面図である。
折り畳み式台車が有する第2ベースフレームの側面図である。
支持ユニットが折り畳まれた状態の平面図である。
折り畳み式台車の応用例を示す分解斜視図である。
図11の折り畳み式台車が組み立てられた状態を示す斜視図である。
3個のスタンドフレーム、及び支持器の分解斜視図である。
3個のスタンドフレームを、支持器で支持した状態の斜視図である。
【発明を実施するための形態】
【0009】
(概要)
折り畳み式台車に含まれるいくつかの実施形態が、図面に基づいて説明されている。折り畳み式台車の状態は、折り畳まれた収納状態と、展開された使用状態とに切り替え可能である。折り畳み式台車は、使用場所に置かれて物体を支持する。使用場所は、建築現場、工事現場、等における地面、路面、仮設床、等を含む。折り畳み式台車により支持される物体は、建築資材、足場要素、等を含む。使用者は、フォークリフトで折り畳み式台車を持ち上げた状態とし、折り畳み台車を運搬できる。折り畳み式台車の実施形態を説明するための図において、同一部には原則として同一の符号を付し、その繰り返しの説明は省略する。
【0010】
(折り畳み式台車の具体例)
図1及び図2に示された折り畳み式台車10は、第1脚部11、第2脚部12、ベースリンク13、第1スタンドフレーム14、第2スタンドフレーム15を有する。また、図3のように、第1脚部11、第2脚部12及びベースリンク13が接続されて支持ユニット60が構成されている。第1スタンドフレーム14と第2スタンドフレーム15とは、別々の部品である。また、第1スタンドフレーム14及び第2スタンドフレーム15は、支持ユニット60に対し、それぞれ取り付け及び取り外しされる。
(【0011】以降は省略されています)
この特許をJ-PlatPat(特許庁公式サイト)で参照する
関連特許
個人
カート
3か月前
個人
走行装置
4か月前
個人
三輪バイク
3日前
個人
乗り物
5か月前
個人
電動走行車両
4か月前
個人
駐輪設備
1か月前
個人
折り畳み自転車
10か月前
個人
電動モビリティ
7か月前
個人
自転車用歩数計
11日前
個人
閂式ハンドル錠
4か月前
個人
発音装置
7か月前
個人
ボギー・フレーム
2か月前
個人
自転車用傘捕捉具
12か月前
個人
ルーフ付きトライク
1か月前
個人
体重掛けリフト台車
11か月前
個人
自由方向乗車自転車
7か月前
個人
“zen-go.”
2か月前
個人
ルーフ付きトライク
3か月前
個人
三輪電動車両
11日前
個人
パワーアシスト自転車
2か月前
個人
自転車用荷物台
11か月前
個人
キャンピングトライク
9か月前
個人
アタッチメント
12か月前
個人
ステアリングの操向部材
9か月前
個人
フロントフットブレーキ。
4か月前
株式会社豊田自動織機
産業車両
4か月前
株式会社三五
リアサブフレーム
10か月前
個人
ホイールハブ駆動構造
4か月前
個人
乗用自動車のディフューザー
1か月前
学校法人千葉工業大学
車両
10か月前
学校法人千葉工業大学
車両
10か月前
学校法人千葉工業大学
車両
10か月前
豊田鉄工株式会社
小型車両
3か月前
個人
自転車の駐輪場システム
6か月前
ヤマハ発動機株式会社
自転車
4か月前
株式会社カインズ
台車
10か月前
続きを見る
他の特許を見る