TOP
|
特許
|
意匠
|
商標
特許ウォッチ
Twitter
他の特許を見る
10個以上の画像は省略されています。
公開番号
2024138468
公報種別
公開特許公報(A)
公開日
2024-10-08
出願番号
2024112096,2020555500
出願日
2024-07-12,2019-04-09
発明の名称
薬物送達デバイス
出願人
サノフイ
,
SANOFI
代理人
個人
,
個人
主分類
A61M
5/145 20060101AFI20241001BHJP(医学または獣医学;衛生学)
要約
【課題】薬物送達デバイスを提供する。
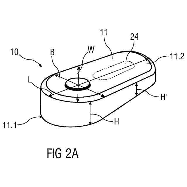
【解決手段】薬物送達デバイス10であって、一次パッケージ24を受けるように適用されたハウジング11を含み、ハウジング11は、注射部位に当接して配置されるように適用された遠位面11.1と、遠位面11.1とは反対側の近位面11.2とを含み、近位面11.2は、薬物送達中にユーザの手のひらに保持されるように適用され、ハウジング11は、遠位面11.1と近位面11.2との間のハウジング11の第1の延在域は、第1の延在域に対して直角の少なくとも1つの延在域よりも小さいような平坦フォームファクタを有する。
【選択図】図2B
特許請求の範囲
【請求項1】
薬物送達デバイス(10)であって、
一次パッケージ(24)を受けるように適用されたハウジング(11)を含み、
該ハウジング(11)は、
注射部位に接して配置されるように適用された遠位面(11.1)と、
該遠位面(11.1)とは反対側の近位面(11.2)とを含み、
該近位面(11.2)は、薬物送達中にユーザの手のひらに保持されるように適用され、ハウジング(11)は、遠位面(11.1)と近位面(11.2)との間のハウジング(11)の第1の延在域が、第1の延在域に対して直角の少なくとも1つの延在域よりも小さいような平坦フォームファクタを有する、前記薬物送達デバイス。
続きを表示(約 1,200 文字)
【請求項2】
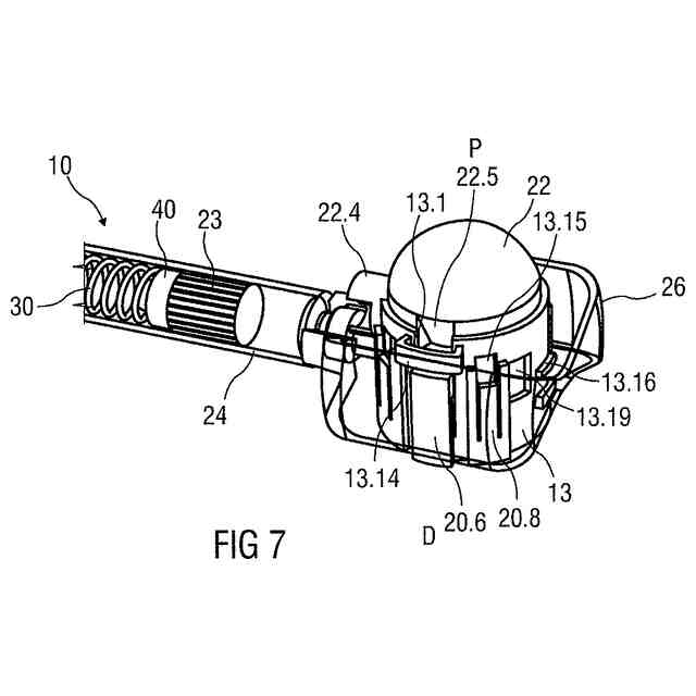
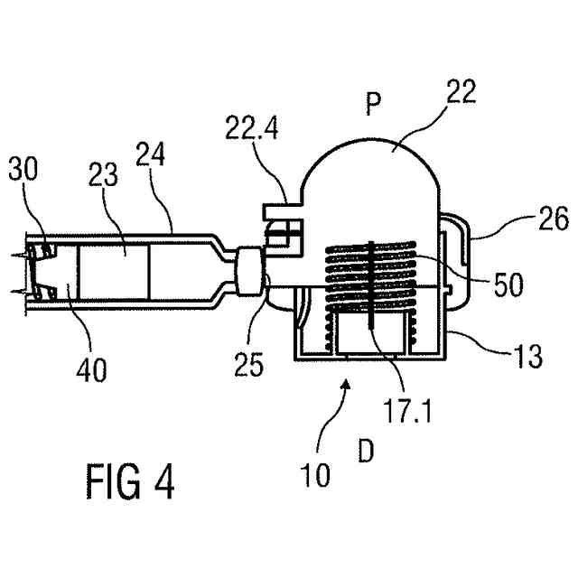
ハウジング(11)内部に受けられた一次パッケージ(24)に接続されるように、または接続可能であるように構成された注射針(17)を含み、該針(17)は、第1の先端(17.1)を含み、該第1の先端(17.1)は、
手動操作によって遠位面(11.1)を越えて延ばされるように構成される、または
遠位面(11.1)を越えて延び、シュラウド(13)によって覆われるように構成され、シュラウド(13)は、手動操作によって第1の先端(17.1)を露出するように後退されるように構成される、
請求項1に記載の薬物送達デバイス(10)。
【請求項3】
一次パッケージ(24)の取付軸は、第1の延在域に対して本質的に直角である、請求項1または2に記載の薬物送達デバイス(10)。
【請求項4】
遠位面(11.1)は非接着性である、請求項1~3のいずれか1項に記載の薬物送達デバイス(10)。
【請求項5】
遠位面(11.1)は剛性である、請求項1~4のいずれか1項に記載の薬物送達デバイス(10)。
【請求項6】
針(17)は、ハウジング(11)内部に受けられた一次パッケージ(24)のセプタム(25)を穿孔するように適用された第2の先端(17.2)を含む、請求項2~5のいずれか1項に記載の薬物送達デバイス(10)。
【請求項7】
針(17)は約90度に曲げられた単一の針であるか、または第1の先端(17.1)と第2の先端(17.2)とは互いに別個であり、互いに約90度に配置され、中実ブロック(19)内部でまたは可撓管(28)を介して接続される、請求項6に記載の薬物送達デバイス(10)。
【請求項8】
トリガを手動操作したとき針(17)を後退位置から伸長位置に移動させるように適用されたトリガ、特にシュラウド(13)、少なくとも1つのボタン(22)、および身体接触センサ(27)のうちの少なくとも1つを含むトリガを含む、請求項2~7のいずれか1項に記載の薬物送達デバイス(10)。
【請求項9】
少なくとも1つのボタン(22)は、ハウジング(11)の近位面(11.2)または少なくとも1つの側面もしくは後面に配設される、請求項8に記載の薬物送達デバイス(10)。
【請求項10】
一次パッケージ(24)を取り付けるように適用され、第2の先端(17.2)がセプタム(25)から離間されている後方位置と、第2の先端(17.2)がセプタム(25
)を穿孔する前方位置との間で、遠位面(11.1)と実質的に平行に可動であるキャリア(70)を含む、請求項6~9のいずれか1項に記載の薬物送達デバイス(10)。
(【請求項11】以降は省略されています)
発明の詳細な説明
【技術分野】
【0001】
本開示は、一般的に薬物送達デバイスに関する。
続きを表示(約 1,400 文字)
【背景技術】
【0002】
薬物送達デバイス(すなわち、薬剤容器から薬剤を送達することが可能なデバイス)は、通常、手動デバイスと自動注射器の2つのカテゴリに分類される。
【0003】
手動デバイスでは、ユーザは、流体を針に押し通すための機械的エネルギーを提供しなければならない。これは通常、注射中にユーザが継続的に押す必要がある何らかの形のボタン/プランジャによって行われる。この手法には、ユーザにとっていくつかの欠点がある。ユーザがボタン/プランジャを押すのをやめると、注射も停止する。これは、デバイスが適切に使用されない場合(すなわち、プランジャがその終了位置まで完全には押されていない場合)、ユーザが過少投与量しか提供できないことを意味する。特に患者が高齢者である、または細かい作業が行えない場合、注射力はユーザにとって高すぎることがある。
【0004】
自動注射器は、非経口薬物送達に関連する活動を、標準的なシリンジから完全にまたは部分的に置き換えるデバイスである。これらの活動には、保護シリンジキャップの取外し、患者の皮膚への針の挿入、薬剤の注射、針の取外し、針の遮蔽、およびデバイスの再利用の防止が含まれることがある。これにより、手動デバイスの多くの欠点が克服される。注射力/ボタンの延長、手振れ、および不完全な用量の送達の可能性が低減される。トリガは、多くの手段、たとえばトリガボタン、または針がその注射深さに到達する作用によって実施される。いくつかのデバイスでは、流体を供給するためのエネルギーがばねによって提供される。
【発明の概要】
【発明が解決しようとする課題】
【0005】
本開示の目的は、改良された薬物送達デバイスを提供することである。
【課題を解決するための手段】
【0006】
この目的は、請求項1に記載の薬物送達デバイスによって達成される。
【0007】
例示的実施形態は、従属請求項において提示されている。
【0008】
本開示によれば、薬物送達デバイスは、一次パッケージを受けるように適用されたハウジングを含み、ハウジングは、注射部位に当接して配置されるように適用された遠位面と、遠位面とは反対側の近位面とを含み、近位面は、薬物送達中にユーザの手のひらに保持されるように適用され、ハウジングは、遠位面と近位面との間のハウジングの第1の延在域が、第1の延在域に対して直角の少なくとも1つの延在域よりも小さいような平坦フォームファクタを有する。
【0009】
例示的実施形態では、薬物送達デバイスは、ハウジング内部に受けられた一次パッケージに接続されるようにまたは接続可能であるように構成された注射針を含む。特に、針は、ハウジング内部に隠された後退位置とハウジングの遠位面を通って延びる伸長位置との間でハウジングに対して自動的に相対的に可動の第1の先端を含む。
【0010】
本開示によれば、針は第1の先端を含み、第1の先端は、
- 手動操作によって遠位面を越えて延ばされる、または
- 遠位面を越えて延び、シュラウドによって覆われるように構成され、シュラウドは、手動操作によって第1の先端を露出するように後退されるように構成される。
(【0011】以降は省略されています)
この特許をJ-PlatPat(特許庁公式サイト)で参照する
関連特許
サノフイ
薬物送達デバイス
1か月前
サノフイ
投与量測定システム
3か月前
サノフイ
投与量検知用の電子機器
2か月前
サノフイ
埋込可能なグルコースモニタ
2か月前
サノフイ
注射デバイスのための補助デバイス
10日前
サノフイ
安定な低粘度抗体製剤およびその使用
3か月前
サノフィ・バイオテクノロジー
ヒト化抗IL-1R3抗体及び使用方法
1か月前
サノフイ
注射デバイスに取り付けるための補助デバイス
3か月前
サノフィ パスツール インコーポレイティッド
多価肺炎球菌多糖体-タンパク質複合体組成物
1か月前
サノフイ
ブラジキニンB1受容体リガンドに対する抗体
18日前
サノフイ
ヒトのがんを治療するための特異的抗CD38抗体
9日前
サノフイ
ヒト化抗CXCR5抗体を使用するループスの処置
3か月前
サノフイ
機械学習システムによって低血糖の率を予測すること
10日前
サノフイ
既存薬物を再開発するためのデータ処理システムおよび方法
2か月前
サノフィ・バイオテクノロジー
IL-4R拮抗薬の投与により喘息を処置または予防するための方法
26日前
サノフィ・バイオテクノロジー
IL-4R拮抗薬の投与により喘息を処置または予防するための方法
4か月前
サノフィ-アベンティス・ドイチュラント・ゲゼルシャフト・ミット・ベシュレンクテル・ハフツング
医療デバイスで実行可能な作動動作を検出するためのデバイス及び方法
18日前
サノフイ
CD38およびTGF-ベータを標的とする、がんに対する組合せ療法
4か月前
サノフィ・バイオテクノロジー
関節リウマチを有する対象における疼痛を治療するための組成物および方法
19日前
サノフィ-アベンティス・ユー・エス・エルエルシー
再発性および/または不応性の多発性骨髄腫の処置のためのイサツキシマブの使用
10日前
サノフィ・バイオテクノロジー
IL-33アンタゴニストを投与することにより喘息を治療するまたは予防するための方法
1か月前
サノフィ ワクチン テクノロジーズ エス.エー.エス.
微細藻類における異種ポリペプチド、微細藻類細胞外体、組成物の産生、ならびにそれらの作製および使用の方法
2か月前
アブリンクス エン.ヴェー.
IL-13およびTSLPを標的化する免疫グロブリン単一可変ドメインを含むポリペプチド
4か月前
メドイミューン・リミテッド
抗RSV抗体の投与レジメン及び抗RSV抗体を含む組成物
4か月前
東レ株式会社
ポリエステルフィルム
10日前
三菱瓦斯化学株式会社
樹脂組成物、フィルム、偏光シート、および、サングラス
25日前
三菱瓦斯化学株式会社
樹脂組成物、フィルム、偏光シート、および、サングラス
4か月前
三菱瓦斯化学株式会社
樹脂組成物、フィルム、偏光シート、および、サングラス
1か月前
リンテック株式会社
積層体の製造方法
3か月前
学校法人光産業創成大学院大学
咽喉マイク
3か月前
株式会社サタケ
集塵機における圧力計測配管の取付構造
16日前
株式会社エアウィーヴ
マットレス、およびマットレスの注文受付方法
3か月前
サンスター株式会社
歯間ブラシ
3か月前
イマジン インテリジェント マテリアルズ リミテッド
グラフェンを組み込んだ圧電反応性テキスタイル
1か月前
セイコーエプソン株式会社
支持装置及び印刷装置
16日前
プライムプラネットエナジー&ソリューションズ株式会社
電極圧延装置
4か月前
続きを見る
他の特許を見る