TOP
|
特許
|
意匠
|
商標
特許ウォッチ
Twitter
他の特許を見る
公開番号
2025181004
公報種別
公開特許公報(A)
公開日
2025-12-11
出願番号
2024088738
出願日
2024-05-31
発明の名称
タイヤ
出願人
横浜ゴム株式会社
代理人
清流国際弁理士法人
,
個人
,
個人
主分類
B60C
11/03 20060101AFI20251204BHJP(車両一般)
要約
【課題】摩耗初期に優れた氷上制動性能を発揮することを可能にしたタイヤを提供する。
【解決手段】トレッド部1に形成された複数の陸部40のうち少なくとも1つが、踏面にタイヤ幅方向に沿って延在する少なくとも1本のサイプsと、サイプsと交差する方向に延在する複数本の細溝gとを備えた特定陸部であり、細溝gはサイプsよりも浅く且つ1.5mm以下の溝深さを有し、この特定陸部の踏面の面積S〔単位:mm
2
〕と複数本の細溝gの溝容積の総和V〔単位:mm
3
〕とが0.25×10
-2
≦V/S≦7.00×10
-2
の関係を満たすようにする。
【選択図】図3
特許請求の範囲
【請求項1】
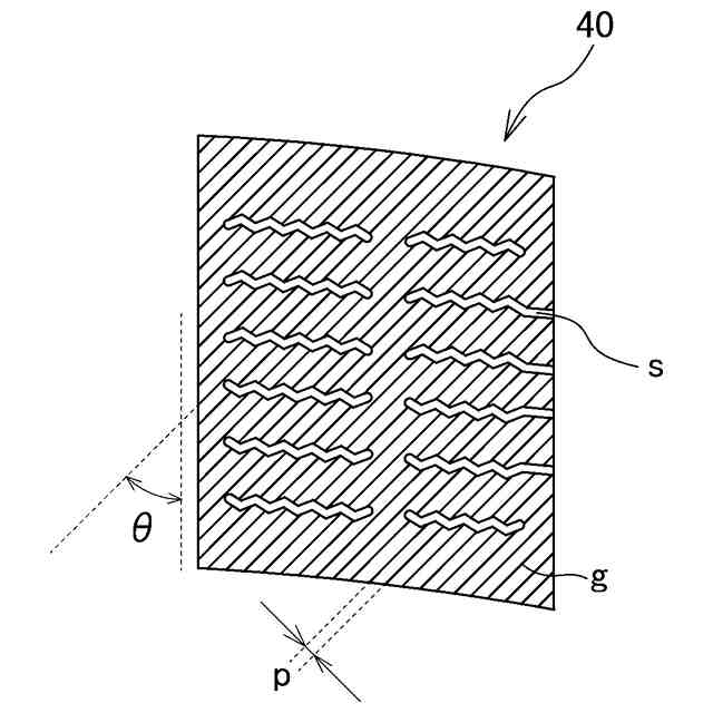
タイヤ周方向に延在して環状をなすトレッド部を備えたタイヤにおいて、
前記トレッド部に、タイヤ周方向に沿って延在する複数本の周方向主溝と、前記周方向主溝と交差する方向に延在する複数本のラグ溝と、前記周方向主溝および/または前記ラグ溝によって区画された複数の陸部とが形成され、
これら複数の陸部のうち少なくとも1つが、踏面にタイヤ幅方向に沿って延在する少なくとも1本のサイプと、前記サイプと交差する方向に延在する複数本の細溝とを備えた特定陸部であり、前記細溝は前記サイプよりも浅く且つ1.5mm以下の溝深さを有し、
前記特定陸部の踏面の面積S〔単位:mm
2
〕と前記複数本の細溝の溝容積の総和V〔単位:mm
3
〕とが0.25×10
-2
≦V/S≦7.00×10
-2
の関係を満たすことを特徴とするタイヤ。
続きを表示(約 730 文字)
【請求項2】
前記複数本の細溝のピッチが0.5mm~5.0mmであり、前記細溝のそれぞれの溝幅が0.05mm~1.0mmであることを特徴とする請求項1に記載のタイヤ。
【請求項3】
前記特定陸部の踏面の面積Sに対する前記複数本の細溝の総面積の割合が5%~19%であることを特徴とする請求項1または2に記載のタイヤ。
【請求項4】
前記細溝のタイヤ周方向に対する傾斜角度が30°~70°であることを特徴とする請求項1または2に記載のタイヤ。
【請求項5】
前記特定陸部のタイヤ幅方向中央側を中央領域とし、前記中央領域のタイヤ幅方向両側を端部領域としたとき、少なくとも一方の前記端部領域における前記細溝の傾斜方向が、前記中央領域における前記細溝の傾斜方向と異なることを特徴とする請求項1または2に記載のタイヤ。
【請求項6】
前記中央領域における前記細溝の傾斜方向と異なる傾斜方向を有する前記細溝が設けられた前記端部領域の面積が前記中央領域の面積よりも小さいことを特徴とする請求項5に記載のタイヤ。
【請求項7】
前記細溝のタイヤ周方向に対する傾斜角度が、前記特定陸部のタイヤ幅方向における中央領域において30°~60°であり、且つ前記特定陸部のタイヤ幅方向における端部領域において30°~70°であることを特徴とする請求項5に記載のタイヤ。
【請求項8】
前記トレッド部の接地領域の面積に対する、前記サイプおよび前記細溝を含む前記トレッド部に形成されたすべての溝の溝面積の合計の割合が20%~60%であることを特徴とする請求項1または2に記載のタイヤ。
発明の詳細な説明
【技術分野】
【0001】
本発明は、トレッド面に少なくとも1本のサイプと複数の細溝が設けられたタイヤに関する。
続きを表示(約 1,900 文字)
【背景技術】
【0002】
スタッドレスタイヤに代表される氷雪路用のタイヤでは、例えば、トレッドゴムに充填剤や気泡を混入することにより、トレッド表面に微細な凹凸を形成し、これら凹凸による水膜除去効果を発揮し、氷雪路での優れた走行性能を確保している。ところが、慣らし走行前のタイヤではトレッド表面に上記凹凸が十分に現れていないため、摩耗初期において本来の走行性能を十分に発揮することができないという不都合があった。
【0003】
このような不都合を解決するために、例えば特許文献1は、トレッド部に区画された陸部の踏面に、複数のサイプと多数の細溝(サイプよりも溝深さが小さい微細な溝)を形成することを提案している。このようなタイヤでは、上記凹凸が十分に発現していない状態でも陸部表面のサイプや細溝によってエッジ効果や水膜除去効果が付加されるので、摩耗初期であっても氷路での走行性能を確保することができる。しかしながら、近年、タイヤに要求される性能が高度化しており、摩耗初期における氷上制動性能の更なる改善が求められている。
【先行技術文献】
【特許文献】
【0004】
特開2004‐034903号公報
【発明の概要】
【発明が解決しようとする課題】
【0005】
本発明の目的は、摩耗初期に優れた氷上制動性能を発揮することを可能にしたタイヤを提供することにある。
【課題を解決するための手段】
【0006】
上記目的を達成するための本発明のタイヤは、タイヤ周方向に延在して環状をなすトレッド部を備えたタイヤにおいて、前記トレッド部に、タイヤ周方向に沿って延在する複数本の周方向主溝と、前記周方向主溝と交差する方向に延在する複数本のラグ溝と、前記周方向主溝および/または前記ラグ溝によって区画された複数の陸部とが形成され、これら複数の陸部のうち少なくとも1つが、踏面にタイヤ幅方向に沿って延在する少なくとも1本のサイプと、前記サイプと交差する方向に延在する複数本の細溝とを備えた特定陸部であり、前記細溝は前記サイプよりも浅く且つ1.5mm以下の溝深さを有し、前記特定陸部の踏面の面積S〔単位:mm
2
〕と前記複数本の細溝の溝容積の総和V〔単位:mm
3
〕とが0.25×10
-2
≦V/S≦7.00×10
-2
の関係を満たすことを特徴とする。
【発明の効果】
【0007】
本発明では、陸部踏面に少なくとも1本のサイプと複数本の細溝(溝深さが1.5mm以下の微細な溝)とが形成された特定陸部によって摩耗初期の氷上性能を向上するに当たって、この特定陸部の踏面の面積S〔単位:mm
2
〕と、この特定陸部に設けられた複数本の細溝の溝容積の総和V〔単位:mm
3
〕とが0.25×10
-2
≦V/S≦7.00×10
-2
の関係を満たすようにしているため、細溝による水膜除去効果を十分に確保する一方で、細溝によって特定陸部の実接地面積(サイプや細溝を除いた実際に路面と当接する陸部踏面の面積)が減少することを抑制することができ、優れた氷上制動性能を発揮することができる。尚、特定陸部の踏面の面積Sは、特定陸部の外輪郭の内側(サイプや細溝を含む全体)の面積である。
【0008】
本発明においては、複数本の細溝のピッチが0.5mm~5.0mmであり、細溝のそれぞれの溝幅が0.05mm~1.0mmであることが好ましい。これにより、特定陸部の実接地面積を十分に確保して氷上制動性能を確保し、更に細溝による水膜除去効果によって氷上制動性能を確保することができるため、氷上性能を向上するには有利になる。
【0009】
本発明においては、特定陸部の踏面の面積Sに対する複数本の細溝の総面積の割合が5%~19%であることが好ましい。これにより、特定陸部の実接地面積を十分に確保して氷上制動性能を確保し、更に細溝による水膜除去効果によって氷上制動性能を確保することができるため、氷上性能を向上するには有利になる。
【0010】
本発明においては、細溝のタイヤ周方向に対する傾斜角度が30°~70°であることが好ましい。これにより、細溝によるエッジ効果と排水性能とをバランスよく発揮することができるため、氷上性能を向上するには有利になる。尚、細溝の傾斜角度は、細溝とタイヤ周方向とが成す角度のうち鋭角部分の角度である。
(【0011】以降は省略されています)
この特許をJ-PlatPat(特許庁公式サイト)で参照する
関連特許
横浜ゴム株式会社
タイヤ
1日前
横浜ゴム株式会社
タイヤ
1か月前
横浜ゴム株式会社
タイヤ
1か月前
横浜ゴム株式会社
タイヤ
1か月前
横浜ゴム株式会社
タイヤ
1日前
横浜ゴム株式会社
タイヤ
1か月前
横浜ゴム株式会社
タイヤ
1か月前
横浜ゴム株式会社
タイヤ
1か月前
横浜ゴム株式会社
タイヤ
1か月前
横浜ゴム株式会社
タイヤ
1か月前
横浜ゴム株式会社
タイヤ
1か月前
横浜ゴム株式会社
タイヤ
16日前
横浜ゴム株式会社
タイヤ
1か月前
横浜ゴム株式会社
タイヤ
2か月前
横浜ゴム株式会社
タイヤ
2か月前
横浜ゴム株式会社
タイヤ
2か月前
横浜ゴム株式会社
タイヤ
2か月前
横浜ゴム株式会社
タイヤ
2か月前
横浜ゴム株式会社
タイヤ
2か月前
横浜ゴム株式会社
タイヤ
2か月前
横浜ゴム株式会社
タイヤ
2か月前
横浜ゴム株式会社
音響材
28日前
横浜ゴム株式会社
タイヤ
2か月前
横浜ゴム株式会社
タイヤ
14日前
横浜ゴム株式会社
タイヤ
7日前
横浜ゴム株式会社
タイヤ
8日前
横浜ゴム株式会社
タイヤ
14日前
横浜ゴム株式会社
タイヤ
2日前
横浜ゴム株式会社
タイヤ
1日前
横浜ゴム株式会社
タイヤ
1日前
横浜ゴム株式会社
ゴム組成物
15日前
横浜ゴム株式会社
ゴム組成物
16日前
横浜ゴム株式会社
ゴム組成物
15日前
横浜ゴム株式会社
ゴム組成物
16日前
横浜ゴム株式会社
重荷重タイヤ
2か月前
横浜ゴム株式会社
空気入りタイヤ
1か月前
続きを見る
他の特許を見る