TOP
|
特許
|
意匠
|
商標
特許ウォッチ
Twitter
他の特許を見る
公開番号
2025176544
公報種別
公開特許公報(A)
公開日
2025-12-04
出願番号
2024082773
出願日
2024-05-21
発明の名称
タイヤ
出願人
横浜ゴム株式会社
代理人
個人
,
個人
,
個人
,
個人
,
個人
主分類
B60C
11/13 20060101AFI20251127BHJP(車両一般)
要約
【課題】排水性能を向上させたタイヤを提供すること。
【解決手段】トレッド表面(14)に複数の溝(16、18、20、22、24、26)を備え、溝の少なくとも一つ(16a、22b)の、溝底(17a、23a)及び溝壁(17b、23b)の少なくともいずれかに、疎水性酸化物微粒子が3次元網目状に積層されてなる多孔質層(30a、30b)が形成され、疎水性酸化物微粒子の一次粒子平均径が3nm以上100nm以下である。
【選択図】図2
特許請求の範囲
【請求項1】
トレッド表面に複数の溝を備えるタイヤであって、
前記溝の少なくとも一つの、溝底及び溝壁の少なくともいずれかに、疎水性酸化物微粒子が3次元網目状に積層されてなる多孔質層が形成され、前記疎水性酸化物微粒子の一次粒子平均径が3nm以上100nm以下であることを特徴とするタイヤ。
続きを表示(約 620 文字)
【請求項2】
前記溝底表面及び/又は前記溝壁表面への前記多孔質層の付着量が0.05g/mm
2
以上50g/m
2
以下であり、かつ、前記多孔質層の厚みが0.5μm以上30μm以下である、請求項1に記載のタイヤ。
【請求項3】
前記多孔質層のBET法で測定した比表面積が50m
2
/g以上300m
2
/g以下である、請求項1又は2に記載のタイヤ。
【請求項4】
前記疎水性酸化物微粒子が疎水性シリカである、請求項1又は2に記載のタイヤ。
【請求項5】
前記疎水性シリカがその表面にトリメチルシリル基を有する、請求項4に記載のタイヤ。
【請求項6】
前記溝底及び/又は前記溝壁と、前記多孔質層と、の間に、プライマー層が形成されている、請求項1又は2に記載のタイヤ。
【請求項7】
前記多孔質層は少なくとも周方向主溝に形成され、
トレッド表面位置を0%の深さ位置とするとともに、溝底位置を100%の深さ位置とした場合に、前記多孔質層は、少なくとも、50%の深さ位置から100%の深さ位置までの範囲に形成されている、請求項1又は2に記載のタイヤ。
【請求項8】
前記多孔質層が、タイヤ展開幅の中央50%の領域に形成された主溝に形成されている、請求項1又は2に記載のタイヤ。
発明の詳細な説明
【技術分野】
【0001】
本発明は、溝表面に多孔質層が形成されたタイヤに関する。
続きを表示(約 1,900 文字)
【背景技術】
【0002】
従来、溝底又は溝壁の少なくとも一部にセルフクリーニング性の高い表面層を有するタイヤが知られている(特許文献1)。特許文献1に開示されたタイヤでは、表面層がフッ素系樹脂の微粒子で構成されていることから、陸部のパターンや溝形状に関わらずタイヤの接地面における排水能力を高めることが可能であり、雨天時に安定した高速走行が行える、とされている。
【先行技術文献】
【特許文献】
【0003】
特開平9-99712号公報
【発明の概要】
【発明が解決しようとする課題】
【0004】
近年では、ハイドロプレーニング現象を高いレベルで抑制すべく、さらに排水性能を向上させたタイヤの開発が望まれている。
【0005】
本発明は、上記事情に鑑みてなされたものであって、排水性能を向上させたタイヤを提供することを目的とする。
【課題を解決するための手段】
【0006】
本発明に係るタイヤは、トレッド表面に複数の溝を備え、前記溝の少なくとも一つの、溝底及び溝壁の少なくともいずれかに、疎水性酸化物微粒子が3次元網目状に積層されてなる多孔質層が形成され、前記疎水性酸化物微粒子の一次粒子平均径が3nm以上100nm以下であることを特徴とする。
【発明の効果】
【0007】
本発明に係るタイヤでは、溝底及び溝壁の少なくともいずれかに、特定の一次粒子平均径を有する疎水性酸化物微粒子が3次元網目状に積層されてなる多孔質層が形成されている。これにより、溝底及び/又は溝壁において、いわゆるロータス効果を発揮することができ、ひいては排水性能を高いレベルで発揮することができる。
【図面の簡単な説明】
【0008】
図1は、本実施形態に係るタイヤのトレッドパターンの一例を示す、平面図である。
図2は、図1に示すタイヤに形成された周方向主溝のタイヤ子午断面図である。
図3は、図1に示すタイヤに形成されたラグ溝のタイヤ子午断面図である。
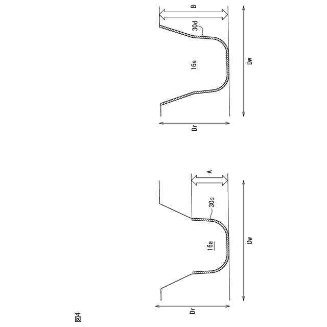
図4は、図2に示す周方向主溝への、多孔質層の形成領域を示すタイヤ子午断面図である。
図5は、本実施形態に係るタイヤのトレッドパターンの他の一例において、多孔質層の好適な形成領域を示す平面図である。
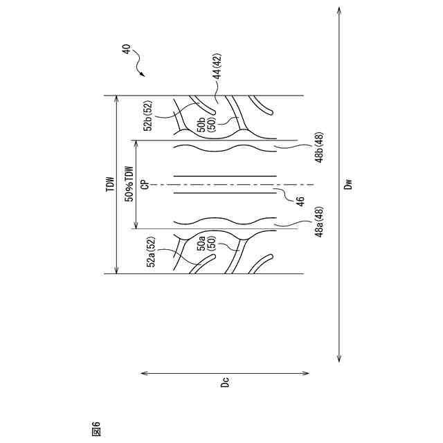
図6は、図5に示すタイヤとは異なるトレッドパターンを有するタイヤにおいて、多孔質層の好適な形成領域を示す平面図である。
【発明を実施するための形態】
【0009】
<本発明の態様>
本発明の実施形態は、以下の態様に関する。
【0010】
[態様1]
トレッド表面に複数の溝を備えるタイヤであって、
前記溝の少なくとも一つの、溝底及び溝壁の少なくともいずれかに、疎水性酸化物微粒子が3次元網目状に積層されてなる多孔質層が形成され、前記酸化物微微粒子の一次粒子平均径が3nm以上100nm以下であることを特徴とするタイヤ。
[態様2]
前記溝底及び/又は前記溝壁への前記多孔質層の付着量が0.05g/mm
2
以上50g/m
2
以下であり、かつ、前記多孔質層の厚みが0.5μm以上30μm以下である、態様1に記載のタイヤ。
[態様3]
前記多孔質層のBET法で測定した比表面積が50m
2
/g以上300m
2
/g以下である、態様1又は2に記載のタイヤ。
[態様4]
前記疎水性酸化物微粒子が疎水性シリカである、態様1から3のいずれか1つに記載のタイヤ。
[態様5]
前記疎水性シリカがその表面にトリメチルシリル基を有する、態様4に記載のタイヤ。
[態様6]
前記溝底及び/又は前記溝壁と、前記多孔質層と、の間に、プライマー層が形成されている、態様1から5のいずれか1つに記載のタイヤ。
[態様7]
前記多孔質層は少なくとも周方向主溝に形成され、
トレッド表面位置を0%の深さ位置とするとともに、溝底位置を100%の深さ位置とした場合に、前記多孔質層は、少なくとも、50%の深さ位置から100%の深さ位置までの範囲に形成されている、態様1から6のいずれか1つに記載のタイヤ。
[態様8]
前記多孔質層の少なくとも一部が、タイヤ展開幅の中央50%の領域に形成された主溝に形成されている、態様1から7のいずれか1つに記載のタイヤ。
(【0011】以降は省略されています)
この特許をJ-PlatPat(特許庁公式サイト)で参照する
関連特許
横浜ゴム株式会社
タイヤ
今日
横浜ゴム株式会社
タイヤ
1か月前
横浜ゴム株式会社
タイヤ
2か月前
横浜ゴム株式会社
タイヤ
2か月前
横浜ゴム株式会社
タイヤ
2か月前
横浜ゴム株式会社
タイヤ
2か月前
横浜ゴム株式会社
タイヤ
2か月前
横浜ゴム株式会社
タイヤ
2か月前
横浜ゴム株式会社
タイヤ
1か月前
横浜ゴム株式会社
タイヤ
2か月前
横浜ゴム株式会社
タイヤ
1か月前
横浜ゴム株式会社
タイヤ
1か月前
横浜ゴム株式会社
タイヤ
1か月前
横浜ゴム株式会社
タイヤ
1か月前
横浜ゴム株式会社
タイヤ
1か月前
横浜ゴム株式会社
タイヤ
1か月前
横浜ゴム株式会社
タイヤ
2か月前
横浜ゴム株式会社
タイヤ
2か月前
横浜ゴム株式会社
タイヤ
1か月前
横浜ゴム株式会社
タイヤ
3か月前
横浜ゴム株式会社
タイヤ
3か月前
横浜ゴム株式会社
タイヤ
3か月前
横浜ゴム株式会社
タイヤ
3か月前
横浜ゴム株式会社
タイヤ
3か月前
横浜ゴム株式会社
タイヤ
3か月前
横浜ゴム株式会社
タイヤ
3か月前
横浜ゴム株式会社
タイヤ
3か月前
横浜ゴム株式会社
タイヤ
2か月前
横浜ゴム株式会社
タイヤ
3か月前
横浜ゴム株式会社
タイヤ
2か月前
横浜ゴム株式会社
タイヤ
2か月前
横浜ゴム株式会社
タイヤ
2か月前
横浜ゴム株式会社
タイヤ
2か月前
横浜ゴム株式会社
タイヤ
2か月前
横浜ゴム株式会社
タイヤ
2か月前
横浜ゴム株式会社
タイヤ
1か月前
続きを見る
他の特許を見る