TOP
|
特許
|
意匠
|
商標
特許ウォッチ
Twitter
他の特許を見る
公開番号
2025179895
公報種別
公開特許公報(A)
公開日
2025-12-11
出願番号
2024086807
出願日
2024-05-29
発明の名称
光学フィルム及びフレキシブルディスプレイ
出願人
株式会社日本触媒
代理人
個人
,
個人
,
個人
主分類
B32B
27/30 20060101AFI20251204BHJP(積層体)
要約
【課題】優れた耐折り曲げ性を有する、α-メチレンラクトン由来の構造単位を有する共重合体を含有する光学フィルムを提供すること。
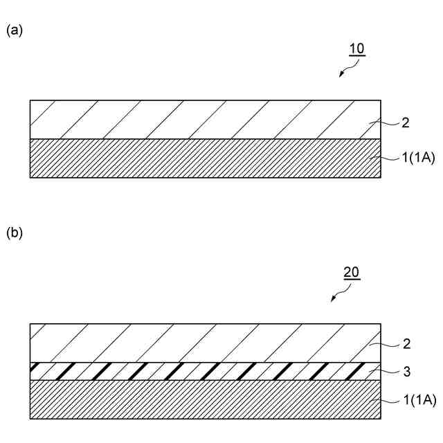
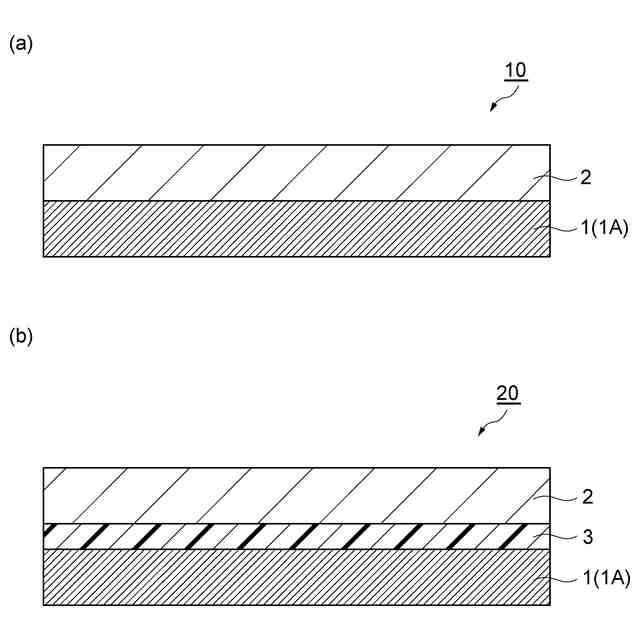
【解決手段】光学フィルム10,20が提供される。当該光学フィルム10,20は、α-メチレンラクトン由来の構造単位及び(メタ)アクリル酸アルキル由来の構造単位を有する共重合体を含有する基材層1と、基材層1の片側に配置された、熱可塑性樹脂を含有する被覆層2とを備える。光学フィルム10,20の全光線透過率は90%以上である。
【選択図】図1
特許請求の範囲
【請求項1】
α-メチレンラクトン由来の構造単位及び(メタ)アクリル酸アルキル由来の構造単位を有する共重合体を含有する基材層と、
前記基材層の片側に配置された、熱可塑性樹脂を含有する被覆層と、
を備え、
全光線透過率が90%以上である、光学フィルム。
続きを表示(約 680 文字)
【請求項2】
前記熱可塑性樹脂が主鎖に芳香環を有する樹脂を含む、請求項1に記載の光学フィルム。
【請求項3】
前記主鎖に芳香環を有する樹脂が、ポリアリレート樹脂、フェノキシ樹脂及び芳香族ポリカーボネート樹脂からなる群より選ばれる少なくとも1種である、請求項2に記載の光学フィルム。
【請求項4】
前記熱可塑性樹脂がメチルエチルケトン及びテトラヒドロフランの少なくとも一方に対して可溶な樹脂を含む、請求項1に記載の光学フィルム。
【請求項5】
前記熱可塑性樹脂のガラス転移温度が120℃以上である、請求項1に記載の光学フィルム。
【請求項6】
前記α-メチレンラクトン由来の構造単位がα-メチレン-γ-ブチロラクトン由来の構造単位を含む、請求項1~5のいずれか一項に記載の光学フィルム。
【請求項7】
前記(メタ)アクリル酸アルキル由来の構造単位がメタクリル酸メチル由来の構造単位を含む、請求項1~5のいずれか一項に記載の光学フィルム。
【請求項8】
前記共重合体のガラス転移温度が110~160℃である、請求項1~5のいずれか一項に記載の光学フィルム。
【請求項9】
前記共重合体の重量平均分子量が200000~1000000である、請求項1~5のいずれか一項に記載の光学フィルム。
【請求項10】
前記基材層の厚さが20~70μmである、請求項1~5のいずれか一項に記載の光学フィルム。
(【請求項11】以降は省略されています)
発明の詳細な説明
【技術分野】
【0001】
本開示は、光学フィルム及びフレキシブルディスプレイに関する。
続きを表示(約 1,900 文字)
【背景技術】
【0002】
α-メチレンラクトン由来の構造単位を有する共重合体は、透明性等に優れ、光学部材への適用が期待されている。例えば、特許文献1には、α-メチレンラクトン由来の構造単位を有する共重合体を含有する光学フィルムが開示されている。
【先行技術文献】
【特許文献】
【0003】
特開2009-041007号公報
【発明の概要】
【発明が解決しようとする課題】
【0004】
近年、スマートフォン、タブレット端末等のモバイル用途において、折り畳み又は巻き取り可能なフレキシブルディスプレイの需要が高まっている。フレキシブルディスプレイに用いられる光学フィルムにおいても、透明性等の他、耐折り曲げ性に優れることが求められている。
【0005】
しかしながら、従来のα-メチレンラクトン由来の構造単位を有する共重合体を含有する光学フィルムは、耐折り曲げ性が充分でなく、未だ改善の余地がある。
【0006】
本開示は、優れた耐折り曲げ性を有する、α-メチレンラクトン由来の構造単位を有する共重合体を含有する光学フィルムを提供することを主な目的とする。
【課題を解決するための手段】
【0007】
本発明者らが上記課題を解決すべく検討したところ、α-メチレンラクトン由来の構造単位を有する共重合体を含有する基材層の片側に、熱可塑性樹脂を含有する被覆層を配置することにより、耐折り曲げ性が向上することを見出し、本開示の発明を完成するに至った。
【0008】
本開示は、[1]~[8]に記載の光学フィルム及び[9]に記載のフレキシブルディスプレイを提供する。
[1]α-メチレンラクトン由来の構造単位及び(メタ)アクリル酸アルキル由来の構造単位を有する共重合体を含有する基材層と、
前記基材層の片側に配置された、熱可塑性樹脂を含有する被覆層と、
を備え、
全光線透過率が90%以上である、光学フィルム。
[2]前記熱可塑性樹脂が主鎖に芳香環を有する樹脂を含む、[1]に記載の光学フィルム。
[3]前記主鎖に芳香環を有する樹脂が、ポリアリレート樹脂、フェノキシ樹脂及び芳香族ポリカーボネート樹脂からなる群より選ばれる少なくとも1種である、[2]に記載の光学フィルム。
[4]前記熱可塑性樹脂がメチルエチルケトン及びテトラヒドロフランの少なくとも一方に対して可溶な樹脂を含む、[1]~[3]のいずれかに記載の光学フィルム。
[5]前記熱可塑性樹脂のガラス転移温度が120℃以上である、[1]~[4]のいずれかに記載の光学フィルム。
[6]前記α-メチレンラクトン由来の構造単位がα-メチレン-γ-ブチロラクトン由来の構造単位を含む、[1]~[5]のいずれかに記載の光学フィルム。
[7]前記(メタ)アクリル酸アルキル由来の構造単位がメタクリル酸メチル由来の構造単位を含む、[1]~[6]のいずれかに記載の光学フィルム。
[8]前記共重合体のガラス転移温度が110~160℃である、[1]~[7]のいずれかに記載の光学フィルム。
[9]前記共重合体の重量平均分子量が200000~1000000である、[1]~[8]のいずれかに記載の光学フィルム。
[10]前記基材層の厚さが20~70μmである、[1]~[9]のいずれかに記載の光学フィルム。
[11]前記被覆層の厚さが1~20μmである、[1]~[10]のいずれかに記載の光学フィルム。
[12]屈曲又は巻回させることが可能なフレキシブルディスプレイであって、
[1]~[11]のいずれかに記載の光学フィルムを備え、
前記光学フィルムは、前記フレキシブルディスプレイを屈曲又は巻回させたときに、前記被覆層の曲率半径が前記基材層の曲率半径よりも大きくなるように備えられている、フレキシブルディスプレイ。
【発明の効果】
【0009】
本開示によれば、優れた耐折り曲げ性を有する、α-メチレンラクトン由来の構造単位を有する共重合体を含有する光学フィルムが提供される。また、このような光学フィルムを用いたフレキシブルディスプレイが提供される。
【図面の簡単な説明】
【0010】
図1(a)及び図1(b)は、光学フィルムの一実施形態を示す模式断面図である。
【発明を実施するための形態】
(【0011】以降は省略されています)
この特許をJ-PlatPat(特許庁公式サイト)で参照する
関連特許
株式会社日本触媒
アルカリ水電解用隔膜
今日
株式会社日本触媒
(メタ)アクリレート化合物
8日前
株式会社日本触媒
亜鉛負極合材、亜鉛負極及び亜鉛電池
7日前
株式会社日本触媒
エマルション並びに塗膜及びその製造方法
1日前
株式会社日本触媒
光学フィルム及びフレキシブルディスプレイ
今日
株式会社日本触媒
光学フィルム及びフレキシブルディスプレイ
1か月前
東レ株式会社
積層体
6か月前
ユニチカ株式会社
積層体
3か月前
個人
箔転写シート
6か月前
東レ株式会社
強化繊維基材
6か月前
東レ株式会社
積層フィルム
5か月前
東レ株式会社
積層フィルム
3か月前
東レ株式会社
強化繊維基材
6か月前
東レ株式会社
積層フィルム
8か月前
個人
鋼材の塗膜構造
4か月前
東レ株式会社
光透過性表皮材
2か月前
東洋紡株式会社
積層包装材料
3か月前
東レ株式会社
加飾用フィルム
2か月前
東ソー株式会社
多層フィルム
6か月前
ユニチカ株式会社
透明シート
3か月前
東レ株式会社
無配向フィルム
1か月前
積水樹脂株式会社
磁性シート
8か月前
アイカ工業株式会社
光学積層体
7か月前
日本バイリーン株式会社
表皮材
5か月前
三菱製紙株式会社
不織布積層体
8か月前
出光興産株式会社
構造体
1か月前
日本発條株式会社
積層体
2か月前
東レ株式会社
多層積層フィルム
2か月前
artience株式会社
積層体
5か月前
東洋アルミニウム株式会社
積層体
5か月前
artience株式会社
積層体
7か月前
東レ株式会社
サンドイッチ構造体
3か月前
大吉シール株式会社
積層体
2か月前
豊田合成株式会社
樹脂製品
5か月前
アキレス株式会社
壁紙
2か月前
アイカ工業株式会社
成形用フィルム
2か月前
続きを見る
他の特許を見る