TOP
|
特許
|
意匠
|
商標
特許ウォッチ
Twitter
他の特許を見る
10個以上の画像は省略されています。
公開番号
2025179730
公報種別
公開特許公報(A)
公開日
2025-12-10
出願番号
2024086660
出願日
2024-05-28
発明の名称
鳥獣害対策水上撃退装置
出願人
株式会社J―bot
代理人
個人
主分類
A01M
29/10 20110101AFI20251203BHJP(農業;林業;畜産;狩猟;捕獲;漁業)
要約
【課題】水上を自在に移動しながら継続的かつ効果的に水域や水域周辺の害鳥や害獣等を撃退することができ、農水産物等の有害鳥獣からの被害を良好に防ぐことができる鳥獣害対策水上撃退装置を提供する。
【解決手段】推進装置18を有する水上移動体12と、該水上移動体12に取り付けられ、レーザ光を水平方向又は所定の角度で横方向に向けて照射しながら、縦軸Z回りに回転照射するレーザ光回転照射装置14と、を備える。レーザ光回転照射装置14は、レーザ光の水平方向に対する照射角度を変更可能に設けられた照射角度変更機構30を有するとよい。
【選択図】図1
特許請求の範囲
【請求項1】
推進装置を有する水上移動体と、
該水上移動体に取り付けられ、レーザ光を水平方向又は所定の角度で横方向に向けて照射しながら、縦軸回りに回転照射するレーザ光回転照射装置と、を備えたことを特徴とする鳥獣害対策水上撃退装置。
続きを表示(約 990 文字)
【請求項2】
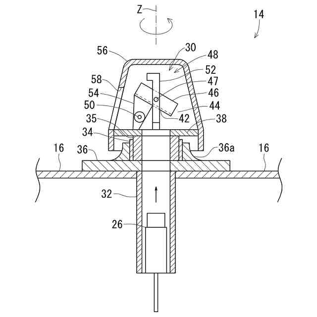
レーザ光回転照射装置は、レーザ光発信器と、
該レーザ光発信器から照射されるレーザ光を縦軸回りに回転照射させうる回転機構と、
該レーザ光の水平方向に対する照射角度を変更可能に設けられた照射角度変更機構と、を有することを特徴とする請求項1記載の鳥獣害対策水上撃退装置。
【請求項3】
照射角度変更機構は、回転機構による回転速度に応じてレーザ光の水平方向に対する照射角度を変更可能な速度連動手段を有することを特徴とする請求項2記載の鳥獣害対策水上撃退装置。
【請求項4】
速度連動手段は、回転機構を介して縦軸回りに回転するとともに、横軸回りに揺動自在な揺動体と、
該揺動体を所定の揺動角度に傾けるように揺動体に組付けられた錘体と、
該揺動体の横軸回り揺動に応じてレーザ光の照射角度を変更して照射させる照射部と、を有することを特徴とする請求項3記載の鳥獣害対策水上撃退装置。
【請求項5】
照射部は、揺動体の揺動動作に対応して鏡面の角度を変更するように該揺動体に固定されたミラー部を有し、
レーザ光発信器が、該ミラー部に向けてレーザ光を照射するように水上移動体のボディ部に設置されたことを特徴とする請求項4記載の鳥獣害対策水上撃退装置。
【請求項6】
回転機構は、中空の回転軸を有する中空モータを有し、
中空モータに接続される揺動体に固定されたミラー部の鏡面が該中空モータの中空空間に臨むように設置され、
さらに、レーザ光発信器は、レーザ光が該中空モータの中空空間内を通過して該ミラー部に照射されるように設置されることを特徴とする請求項5記載の鳥獣害対策水上撃退装置。
【請求項7】
水上移動体の推進装置は、互いに独立して推進方向を変更可能に取り付けられる複数の推進器を有することを特徴とする請求項1ないし6のいずれかに記載の鳥獣害対策水上撃退装置。
【請求項8】
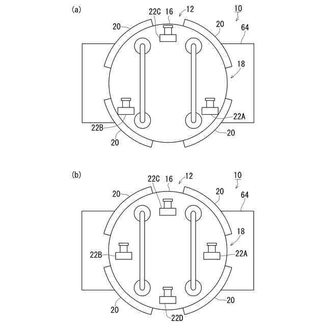
水上移動体は、ボディ部の形状が平面視円形状の円筒状に形成されるとともに、
該ボディ部の胴部周面に複数のフロートが取り付けられ、
該ボディ部の下面側に複数の推進器が設けられることを特徴とする請求項7記載の鳥獣害対策水上撃退装置。
発明の詳細な説明
【技術分野】
【0001】
本発明は、田畑等の陸地あるいは、河川、用水路、湖沼、海等の水域または水域周辺の害鳥や害獣を追い払うのに有効な鳥獣害対策水上撃退装置に関する。
続きを表示(約 1,900 文字)
【背景技術】
【0002】
農作物の野生鳥獣による被害は我が国耕地面積が減少しているのに対し年度ごとの全体の被害面積に大きな変化が見られないことからわかるように、被害地域の面積割合は増加していると考えられる。農作物被害で年間170億円超の被害額があり、必要な対応が望まれている。シカ、イノシシ、カラス、サルなどによる被害のほか、カモによる被害も深刻でありその習性から特に夜間に活動して農作物被害を生じさせる事例が続出している。カモは越冬するために集団で日本に来るが、農作物の栽培作業が行われない夜間に圃場等に飛来して食餌する習性があり、その対策は容易ではない。さらに、近年では、田畑に限らずグラウンドやスタジアム等にもカモが集団で飛来し、天然芝が食害にあったり、グランドや観客席等がふんで汚染される等のふん害が発生している報告もあり、カモ被害の拡大が社会的にも大きな問題となっている。
【0003】
このような問題に対し、本出願人は、特許文献1にて、簡単な構成により短時間の運転で広範囲について鳥獣被害を防除しうる鳥獣忌避装置を提案している。特許文献1の鳥獣忌避装置は、レーザ光の発振器と、発振器から出射されるレーザ光を一方向に長いスリット孔を介して板状レーザビームとして通過させる板状レーザビーム形成手段と、スリット孔通過後のスリット孔背面側の外部近傍位置であって、スリット孔の長手方向に沿って設置される回転軸と一体回転しつつスリット孔を通過した板状レーザビームを反射させる外部回転反射ミラー部装置と、を含む構成であり、対象区域へ面状にレーザ光を放射して有害鳥獣を圃場から追い払うことができるものであった。
【先行技術文献】
【特許文献】
【0004】
特開2023-37885号公報
【発明の概要】
【発明が解決しようとする課題】
【0005】
特許文献1の鳥獣忌避装置は、圃場等の陸地に設置され、圃場等に飛来するカモに対しては非常に効果的であり、圃場等から追い出すことには有効に利用される。しかしながら、カモは水鳥であることから、圃場近くの用水路や池等の水域に集団で長く滞在していることも多い。そして、圃場の様子を水上から確認しながら、作業者等がいなくなったのを見計らって圃場に飛来して、農作物を荒らすことも少なくない。特に、カモのような鳥は、空を飛ぶ・水を泳ぐ・陸地を歩くことができ、行動パターンも多様で行動範囲も広いことから厄介であり、その特性に応じて、圃場等の陸地に限らず、その陸地周辺の用水路や池等の水域を含めた広範囲でカモ被害対策を講じることが効果的である。さらに、カモによる被害は、田畑等の陸地に限らず、河川や海で養殖される海苔やアサリといった水産物の被害も発生していることから、水域及び水域周辺でのカモ被害への対策も喫緊の課題となっている。
【0006】
上記課題に対し、本発明は、水上を自在に移動しながら継続的かつ効果的に水域や水域周辺の害鳥や害獣等を撃退することができ、農水産物等の有害鳥獣からの被害を良好に防ぐことができる鳥獣害対策水上撃退装置を提供することにある。
【課題を解決するための手段】
【0007】
上記課題を解決するために本発明は、推進装置を有する水上移動体と、該水上移動体に取り付けられ、レーザ光を水平方向又は所定の角度で横方向に向けて照射しながら、縦軸回りに回転照射するレーザ光回転照射装置と、を備えた鳥獣害対策水上撃退装置から構成される。
【0008】
また、レーザ光回転照射装置は、レーザ光発信器と、該レーザ光発信器から照射されるレーザ光を縦軸回りに回転照射させうる回転機構と、該レーザ光の水平方向に対する照射角度を変更可能に設けられた照射角度変更機構と、を有することとしてもよい。
【0009】
また、照射角度変更機構は、回転機構による回転速度に応じてレーザ光の水平方向に対する照射角度を変更可能な速度連動手段を有することとしてもよい。
【0010】
また、速度連動手段は、回転機構を介して縦軸回りに回転するとともに、横軸回りに揺動自在な揺動体と、該揺動体を所定の揺動角度に傾けるように揺動体に組付けられた錘体と、該揺動体の横軸回り揺動に応じてレーザ光の照射角度を変更して照射させる照射部と、を有することとしてもよい。
(【0011】以降は省略されています)
この特許をJ-PlatPat(特許庁公式サイト)で参照する
関連特許
株式会社J―bot
鳥獣害対策水上撃退装置
2日前
個人
産卵床
14日前
個人
釣り用錘
1か月前
個人
平板植栽
15日前
個人
果実袋
14日前
個人
蜜蜂保護装置
1か月前
個人
噴霧器ノズル
1か月前
個人
移動体草刈り機
14日前
個人
ビニール鉢名札
1日前
個人
養殖器具
14日前
個人
種子の製造方法
1か月前
個人
昆虫捕集器
1か月前
個人
ペット用給餌マット
1日前
個人
水田排水量調整器具
14日前
株式会社剛樹
釣り竿
28日前
個人
可動リップ付きルアー
1か月前
個人
アリ侵入防止装置
1日前
個人
餌付き針の餌取り防止具
1か月前
株式会社ナベル
表示システム
1か月前
個人
ブルーカーボンシステム
1か月前
井関農機株式会社
圃場作業機
7日前
井関農機株式会社
圃場作業機
1か月前
有限会社信英精密
括り罠
22日前
積水樹脂株式会社
シート止め具
14日前
井関農機株式会社
苗移植機
22日前
株式会社シマノ
釣糸ガイド
1日前
株式会社サワエ
害虫捕獲器
7日前
みのる産業株式会社
除草機
1か月前
みのる産業株式会社
除草機
1か月前
松山株式会社
収穫機
1か月前
個人
網口高さのベクトル底引き網
14日前
個人
粘着板で挟むネズミ捕り装置
14日前
松山株式会社
収穫機
1か月前
株式会社中村工務店
潅水装置
15日前
スナオ電気株式会社
加温装置
2日前
松山株式会社
農作業機
1日前
続きを見る
他の特許を見る