TOP
|
特許
|
意匠
|
商標
特許ウォッチ
Twitter
他の特許を見る
公開番号
2025179685
公報種別
公開特許公報(A)
公開日
2025-12-10
出願番号
2024086594
出願日
2024-05-28
発明の名称
バイポーラ電極の製造方法
出願人
トヨタ自動車株式会社
代理人
弁理士法人太陽国際特許事務所
主分類
H01M
4/139 20100101AFI20251203BHJP(基本的電気素子)
要約
【課題】電極箔の両面に正極合材層と負極合材層とをそれぞれ良好に形成でき、且つ正極合材層及び負極合材層をそれぞれ任意の密度に調整できるバイポーラ電極の製造方法の提供。
【解決手段】電極箔の一方の面に正極合材塗布液を塗布し乾燥して、正極合材塗布膜を形成する正極合材塗布工程と、前記正極合材塗布膜を有する前記電極箔をプレスする第1プレス工程と、前記電極箔の他方の面に負極合材塗布液をスクリーン印刷法で塗布し乾燥して、負極合材塗布膜を形成する負極合材塗布工程と、前記負極合材塗布膜を有する前記電極箔をプレスする第2プレス工程と、を経て、前記電極箔の両面に正極合材層及び負極合材層を有するバイポーラ電極を得る、バイポーラ電極の製造方法。
【選択図】図1
特許請求の範囲
【請求項1】
電極箔の一方の面に正極合材塗布液を塗布し乾燥して、正極合材塗布膜を形成する正極合材塗布工程と、
前記正極合材塗布膜を有する前記電極箔をプレスする第1プレス工程と、
前記電極箔の他方の面に負極合材塗布液をスクリーン印刷法で塗布し乾燥して、負極合材塗布膜を形成する負極合材塗布工程と、
前記負極合材塗布膜を有する前記電極箔をプレスする第2プレス工程と、
を経て、前記電極箔の両面に正極合材層及び負極合材層を有するバイポーラ電極を得る、バイポーラ電極の製造方法。
続きを表示(約 410 文字)
【請求項2】
前記負極合材塗布液は、せん断速度1sでの粘度が10000mPa・s~30000mPa・sである、請求項1に記載のバイポーラ電極の製造方法。
【請求項3】
前記負極合材塗布工程での前記スクリーン印刷法における印圧が0.15MPa~0.4MPaである、請求項1に記載のバイポーラ電極の製造方法。
【請求項4】
前記負極合材塗布工程での前記スクリーン印刷法におけるスキージ速度が200mm/s以下である、請求項1に記載のバイポーラ電極の製造方法。
【請求項5】
前記負極合材塗布工程は、前記電極箔の前記正極合材塗布膜を有する側の面を吸着台に吸着し、且つ前記他方の面における前記負極合材塗布液が塗布されない未塗布部を治具で固定しながら、前記スクリーン印刷法による前記他方の面への前記負極合材塗布液の塗布を行う、請求項1に記載のバイポーラ電極の製造方法。
発明の詳細な説明
【技術分野】
【0001】
本開示は、バイポーラ電極の製造方法に関する。
続きを表示(約 2,300 文字)
【背景技術】
【0002】
従来から、電池を製造する際にペーストを塗布する方法として、種々の塗布方法が用いられている。
例えば、特許文献1には、メタルマスクは、ペースト充填窓が形成された印刷パターン部と、該印刷パターン部を包囲する薄肉のマスク保持部とからなり、マスク保持部に形成された固定ピン挿通孔に位置決めピンを押し込み、電池製造用枠部材にメタルマスクを固定し、この際、印刷パターン部には、その展張状態を維持する引張力がマスク保持部により付与され、枠部材には、電極板とセパレータとに挟まれる形で第一活物質が活物質充填室に充填されたシート部材が固定され、メタルマスクおよび枠部材は、ペースト充填窓がセパレータの表面上に位置するように互いに締結され、ペースト充填窓にスキージでもって第二電極活物質を充填する、薄型電池を製造する方法、が開示されている。
【先行技術文献】
【特許文献】
【0003】
特開2003-276353号公報
【発明の概要】
【発明が解決しようとする課題】
【0004】
従来では、電極箔の両面に正極合材層及び負極合材層を有するバイポーラ電極を製造する場合、電極箔の一方の面に正極合材塗布液を塗布し、他方の面に負極合材塗布液を塗布した後、一括してプレスを施すことで製造されていた。しかし、正極合材塗布液及び負極合材塗布液を塗布した後に一括してプレスした場合、正極合材層と負極合材層とをそれぞれ任意の密度に調整することが難しい。そのため、正極合材層及び負極合材層をそれぞれ任意の密度に調整でき、且つ正極合材層と負極合材層とをそれぞれ良好に形成できる製造方法が望まれている。
【0005】
本開示は、上記の事情に鑑みて成されたものであり、電極箔の両面に正極合材層と負極合材層とをそれぞれ良好に形成でき、且つ正極合材層及び負極合材層をそれぞれ任意の密度に調整できるバイポーラ電極の製造方法を提供することを目的とする。
【課題を解決するための手段】
【0006】
上記課題を解決するための手段は、以下の態様を含む。
<1>
電極箔の一方の面に正極合材塗布液を塗布し乾燥して、正極合材塗布膜を形成する正極合材塗布工程と、
前記正極合材塗布膜を有する前記電極箔をプレスする第1プレス工程と、
前記電極箔の他方の面に負極合材塗布液をスクリーン印刷法で塗布し乾燥して、負極合材塗布膜を形成する負極合材塗布工程と、
前記負極合材塗布膜を有する前記電極箔をプレスする第2プレス工程と、
を経て、前記電極箔の両面に正極合材層及び負極合材層を有するバイポーラ電極を得る、バイポーラ電極の製造方法。
<2>
前記負極合材塗布液は、せん断速度1sでの粘度が10000mPa・s~30000mPa・sである、<1>に記載のバイポーラ電極の製造方法。
<3>
前記負極合材塗布工程での前記スクリーン印刷法における印圧が0.15MPa~0.4MPaである、<1>又は<2>に記載のバイポーラ電極の製造方法。
<4>
前記負極合材塗布工程での前記スクリーン印刷法におけるスキージ速度が200mm/s以下である、<1>~<3>のいずれか一項に記載のバイポーラ電極の製造方法。
<5>
前記負極合材塗布工程は、前記電極箔の前記正極合材塗布膜を有する側の面を吸着台に吸着し、且つ前記他方の面における前記負極合材塗布液が塗布されない未塗布部を治具で固定しながら、前記スクリーン印刷法による前記他方の面への前記負極合材塗布液の塗布を行う、<1>~<4>のいずれか一項に記載のバイポーラ電極の製造方法。
【発明の効果】
【0007】
本開示によれば、電極箔の両面に正極合材層と負極合材層とをそれぞれ良好に形成でき、且つ正極合材層及び負極合材層をそれぞれ任意の密度に調整できるバイポーラ電極の製造方法が提供される。
【図面の簡単な説明】
【0008】
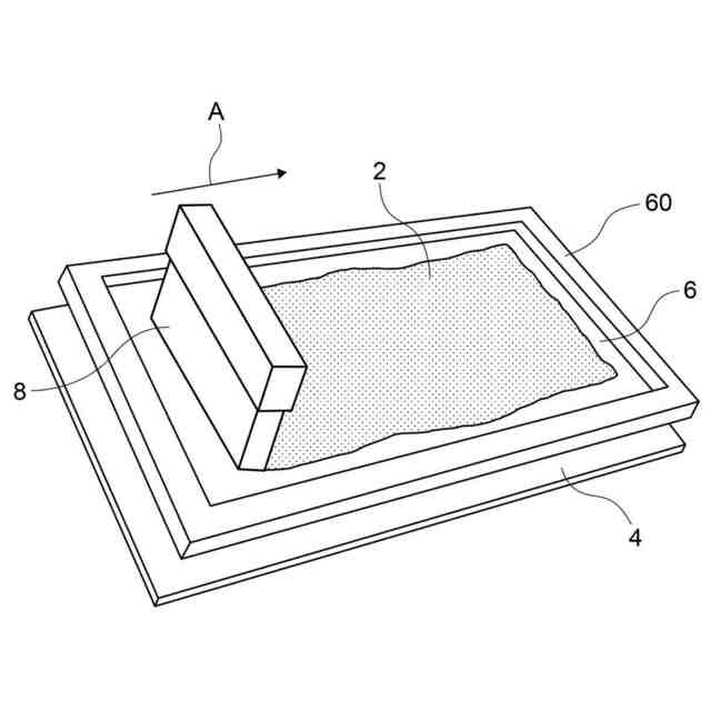
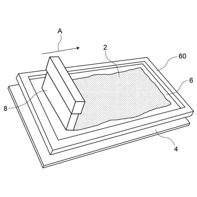
スクリーン印刷法による電極箔上への負極合材塗布液の塗布方法の一例を示す概略斜視図である。
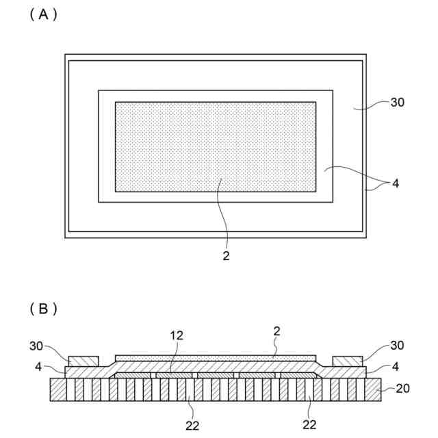
(A)は、正極合材塗布膜を有する側の面が吸着台に吸着され且つ他方の面における負極合材塗布液が塗布されない未塗布部が治具で固定された状態の電極箔を示す概略上面図であり、(B)は(A)の概略断面図である。
【発明を実施するための形態】
【0009】
以下、本開示の一例である実施形態について説明する。これらの説明は、実施形態を例示するものであり、発明の範囲を制限するものではない。
本明細書中に段階的に記載されている数値範囲において、一つの数値範囲で記載された上限値又は下限値は、他の段階的な記載の数値範囲の上限値又は下限値に置き換えてもよい。
【0010】
各成分は該当する物質を複数種含んでいてもよい。
組成物中の各成分の量について言及する場合、組成物中に各成分に該当する物質が複数種存在する場合には、特に断らない限り、組成物中に存在する当該複数種の物質の合計量を意味する。
「工程」とは、独立した工程だけではなく、他の工程と明確に区別できない場合であってもその工程の所期の作用が達成されれば、本用語に含まれる。
(【0011】以降は省略されています)
この特許をJ-PlatPat(特許庁公式サイト)で参照する
関連特許
個人
三重コイル変圧器
1日前
日機装株式会社
加圧装置
6日前
株式会社東芝
端子台
1か月前
ローム株式会社
半導体装置
1日前
日新イオン機器株式会社
イオン源
6日前
マクセル株式会社
電源装置
1か月前
ローム株式会社
半導体装置
今日
富士電機株式会社
電磁接触器
21日前
株式会社GSユアサ
蓄電装置
21日前
三菱電機株式会社
回路遮断器
29日前
株式会社GSユアサ
蓄電装置
1か月前
株式会社GSユアサ
蓄電装置
1か月前
株式会社GSユアサ
蓄電装置
1か月前
株式会社トクミ
ケーブル
7日前
日本特殊陶業株式会社
保持装置
1日前
株式会社東芝
電子源
6日前
個人
電源ボックス及び電子機器
6日前
ホシデン株式会社
複合コネクタ
15日前
トヨタ自動車株式会社
蓄電装置
1か月前
株式会社ヨコオ
コネクタ
今日
日本特殊陶業株式会社
保持装置
1か月前
大電株式会社
電線又はケーブル
13日前
トヨタ自動車株式会社
蓄電装置
13日前
矢崎総業株式会社
バスバー
2日前
ローム株式会社
半導体装置
今日
ローム株式会社
半導体モジュール
22日前
住友電装株式会社
コネクタ
1日前
矢崎総業株式会社
コネクタ
21日前
ヒロセ電機株式会社
電気コネクタ
21日前
日本無線株式会社
レーダアンテナ
1か月前
住友電装株式会社
コネクタ
21日前
株式会社レゾナック
冷却器
29日前
甲神電機株式会社
変流器及び零相変流器
1か月前
富士電機株式会社
半導体モジュール
1か月前
トヨタ自動車株式会社
蓄電装置構造
7日前
株式会社デンソー
半導体装置
21日前
続きを見る
他の特許を見る