TOP
|
特許
|
意匠
|
商標
特許ウォッチ
Twitter
他の特許を見る
公開番号
2025179645
公報種別
公開特許公報(A)
公開日
2025-12-10
出願番号
2024086536
出願日
2024-05-28
発明の名称
スパークプラグ
出願人
日本特殊陶業株式会社
代理人
弁理士法人真明センチュリー
主分類
H01T
13/39 20060101AFI20251203BHJP(基本的電気素子)
要約
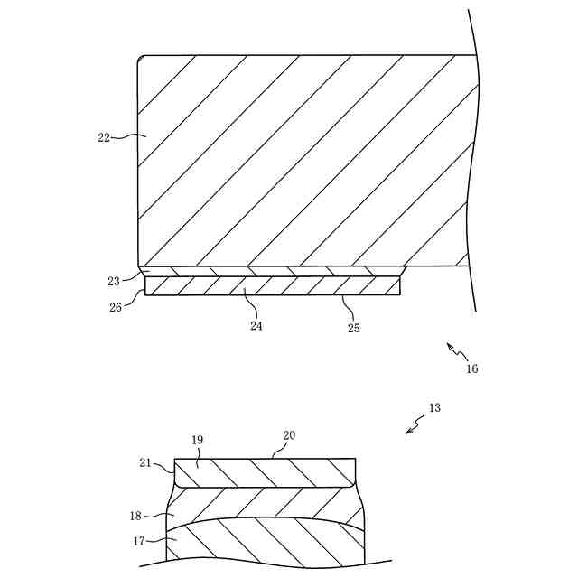
【課題】チップの亀裂の発生を低減できるスパークプラグを提供する。
【解決手段】スパークプラグは、軸線に沿って延びる軸孔が設けられた絶縁体と、軸孔に配置された中心電極と、絶縁体の外周に配置された主体金具と、主体金具に接続された接地電極と、を備え、中心電極および接地電極の少なくとも一方は、母材と、母材に接合されたチップと、を含む。チップは、Ruを主成分とし、中心電極および接地電極の他方と対向し、チップの厚み方向の先端の先端面を含み、先端面の重心を通りチップの厚み方向に平行な断面において、チップの厚み方向に垂直に引いた試験線の長さを、試験線が交わる結晶粒の数で除した結晶粒径の平均は1μm以上50μm以下である。
【選択図】図1
特許請求の範囲
【請求項1】
軸線に沿って延びる軸孔が設けられた絶縁体と、
前記軸孔に配置された中心電極と、
前記絶縁体の外周に配置された主体金具と、
前記主体金具に接続された接地電極と、を備え、
前記中心電極および前記接地電極の少なくとも一方は、母材と、前記母材に接合されたチップと、を含み、
前記チップは、Ruを主成分とし、前記中心電極および前記接地電極の他方と対向するスパークプラグであって、
前記チップは、前記チップの厚み方向の先端の先端面を含み、
前記先端面の重心を通り前記チップの厚み方向に平行な断面において、前記チップの厚み方向に垂直に引いた試験線の長さを、前記試験線が交わる結晶粒の数で除した結晶粒径の平均は1μm以上50μm以下であるスパークプラグ。
続きを表示(約 330 文字)
【請求項2】
前記結晶粒径の平均は1μm以上30μm以下である請求項1記載のスパークプラグ。
【請求項3】
前記断面において、前記結晶粒の前記軸線に平行な方向の長さを、前記結晶粒の前記軸線に垂直な方向の長さで除したアスペクト比の平均は0.8以上2.0以下である請求項1又は2に記載のスパークプラグ。
【請求項4】
前記アスペクト比の平均は1.0以上2.0以下である請求項3記載のスパークプラグ。
【請求項5】
前記母材の線膨張係数は1.0×10
-6
K
-1
以上1.8×10
-6
K
-1
以下である請求項1又は2に記載のスパークプラグ。
発明の詳細な説明
【技術分野】
【0001】
本発明はRuを含むチップを備えるスパークプラグに関する。
続きを表示(約 1,000 文字)
【背景技術】
【0002】
中心電極および接地電極の少なくとも一方が、Ruの単体もしくはRu合金からなるチップを含む先行技術が特許文献1に開示されている。
【先行技術文献】
【特許文献】
【0003】
特開平5-54955号公報
【発明の概要】
【発明が解決しようとする課題】
【0004】
チップの材料にRuが含まれると機械的強度が低下する傾向があり、熱応力によってチップに亀裂が入るおそれがある。
【0005】
本発明はこの問題点を解決するためになされたものであり、チップの亀裂の発生を低減できるスパークプラグの提供を目的とする。
【課題を解決するための手段】
【0006】
この目的を達成するための第1の態様は、軸線に沿って延びる軸孔が設けられた絶縁体と、軸孔に配置された中心電極と、絶縁体の外周に配置された主体金具と、主体金具に接続された接地電極と、を備え、中心電極および接地電極の少なくとも一方は、母材と、母材に接合されたチップと、を含む。チップは、Ruを主成分とし、中心電極および接地電極の他方と対向し、チップの厚み方向の先端の先端面を含み、先端面の重心を通りチップの厚み方向に平行な断面において、チップの厚み方向に垂直に引いた試験線の長さを、試験線が交わる結晶粒の数で除した結晶粒径の平均は1μm以上50μm以下である。
【0007】
第2の態様は、第1の態様において、結晶粒径の平均は1μm以上30μm以下である。
【0008】
第3の態様は、第1又は第2の態様において、断面において、結晶粒の軸線に平行な方向の長さを、結晶粒の軸線に垂直な方向の長さで除したアスペクト比の平均は0.8以上2.0以下である。
【0009】
第4の態様は、第3の態様において、アスペクト比の平均は1.0以上2.0以下である。
【0010】
第5の態様は、第1から第4の態様のいずれかにおいて、母材の線膨張係数は1.0×10
-6
K
-1
以上1.8×10
-6
K
-1
以下である。
【発明の効果】
(【0011】以降は省略されています)
この特許をJ-PlatPat(特許庁公式サイト)で参照する
関連特許
日本特殊陶業株式会社
賦形体
21日前
日本特殊陶業株式会社
センサ
1か月前
日本特殊陶業株式会社
センサ
14日前
日本特殊陶業株式会社
保持部材
1か月前
日本特殊陶業株式会社
保持装置
今日
日本特殊陶業株式会社
加熱装置
1か月前
日本特殊陶業株式会社
保持装置
1か月前
日本特殊陶業株式会社
圧電素子
1か月前
日本特殊陶業株式会社
保持装置
1か月前
日本特殊陶業株式会社
保持装置
26日前
日本特殊陶業株式会社
反応装置
7日前
日本特殊陶業株式会社
加熱装置
5日前
日本特殊陶業株式会社
ガスセンサ
6日前
日本特殊陶業株式会社
化学センサ
1か月前
日本特殊陶業株式会社
ガスセンサ
28日前
日本特殊陶業株式会社
ガスセンサ
12日前
日本特殊陶業株式会社
圧電発音体
2か月前
日本特殊陶業株式会社
ガスセンサ
5日前
日本特殊陶業株式会社
電極埋設部材
1か月前
日本特殊陶業株式会社
アンテナ装置
7日前
日本特殊陶業株式会社
アンテナ装置
7日前
日本特殊陶業株式会社
FETセンサ
5日前
日本特殊陶業株式会社
アンテナ装置
7日前
日本特殊陶業株式会社
スパークプラグ
今日
日本特殊陶業株式会社
スパークプラグ
今日
日本特殊陶業株式会社
スパークプラグ
1か月前
日本特殊陶業株式会社
スパークプラグ
1か月前
日本特殊陶業株式会社
スパークプラグ
今日
日本特殊陶業株式会社
無鉛圧電磁器組成物
1か月前
日本特殊陶業株式会社
積層磁石及びモーター
5日前
日本特殊陶業株式会社
積層磁石及びモーター
5日前
日本特殊陶業株式会社
コンデンサモジュール
5日前
日本特殊陶業株式会社
積層磁石及びモーター
5日前
日本特殊陶業株式会社
積層磁石及びモーター
5日前
日本特殊陶業株式会社
アンモニアの合成装置
1か月前
日本特殊陶業株式会社
セルスタックシステム
1か月前
続きを見る
他の特許を見る