TOP
|
特許
|
意匠
|
商標
特許ウォッチ
Twitter
他の特許を見る
公開番号
2025179644
公報種別
公開特許公報(A)
公開日
2025-12-10
出願番号
2024086531
出願日
2024-05-28
発明の名称
スパークプラグ
出願人
日本特殊陶業株式会社
代理人
弁理士法人真明センチュリー
主分類
H01T
13/39 20060101AFI20251203BHJP(基本的電気素子)
要約
【課題】チップの消耗を低減できるスパークプラグを提供する。
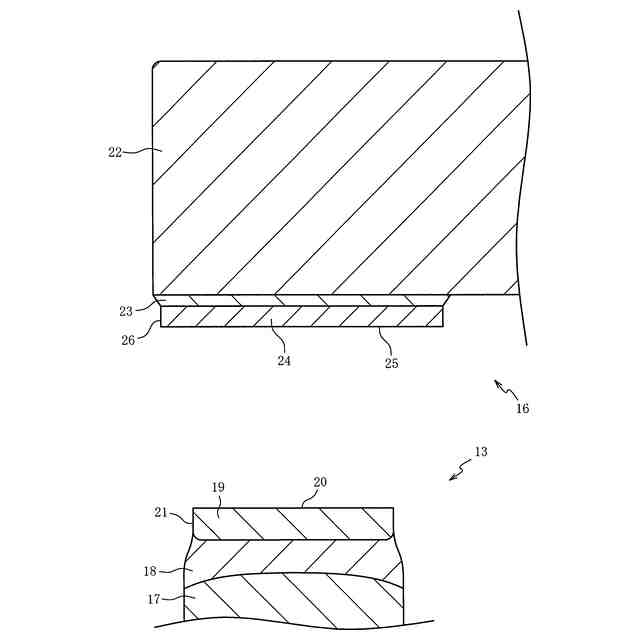
【解決手段】スパークプラグは、軸線に沿って延びる軸孔が設けられた絶縁体と、軸孔に配置された中心電極と、絶縁体の外周に配置された主体金具と、主体金具に接続された接地電極と、を備え、中心電極および接地電極の少なくとも一方は、Ruを主成分とするチップを含み、チップは、中心電極および接地電極の他方と軸線方向に対向する放電面を含む。放電面の重心を通り軸線に平行なチップの断面に、放電面との間の距離が10μmである第1の試験線を引いたときに、チップの結晶粒界と第1の試験線とが交わる、第1の試験線の単位長さ当たりの結晶粒界の数の平均は20個/mm以上400個/mm以下であり、第1の試験線が交わる結晶粒の周の長さの平均は6.5μm以上320μm以下である。
【選択図】図1
特許請求の範囲
【請求項1】
軸線に沿って延びる軸孔が設けられた絶縁体と、
前記軸孔に配置された中心電極と、
前記絶縁体の外周に配置された主体金具と、
前記主体金具に接続された接地電極と、を備え、
前記中心電極および前記接地電極の少なくとも一方は、Ruを主成分とするチップを含み、
前記チップは、前記中心電極および前記接地電極の他方と前記軸線方向に対向する放電面を含むスパークプラグであって、
前記放電面の重心を通り前記軸線に平行な前記チップの断面に、前記放電面との間の距離が10μmである第1の試験線を引いたときに、前記チップの結晶粒界と前記第1の試験線とが交わる、前記第1の試験線の単位長さ当たりの前記結晶粒界の数の平均Aは20個/mm以上400個/mm以下であり、前記第1の試験線が交わる結晶粒の周の長さの平均は6.5μm以上320μm以下であるスパークプラグ。
続きを表示(約 1,200 文字)
【請求項2】
軸線に沿って延びる軸孔が設けられた絶縁体と、
前記軸孔に配置された中心電極と、
前記絶縁体の外周に配置された主体金具と、
前記主体金具に接続された接地電極と、を備え、
前記中心電極および前記接地電極の少なくとも一方は、Ruを主成分とするチップを含み、
前記チップは、前記中心電極および前記接地電極の他方と前記軸線に垂直な方向に対向する放電面を含むスパークプラグであって、
前記放電面の重心を通り前記他方が対向する方向および前記軸線に平行な前記チップの断面に、前記放電面との間の距離が10μmである第1の試験線を引いたときに、前記チップの結晶粒界と前記第1の試験線とが交わる、前記第1の試験線の単位長さ当たりの前記結晶粒界の数の平均Aは20個/mm以上400個/mm以下であり、前記第1の試験線が交わる結晶粒の周の長さの平均は6.5μm以上320μm以下であるスパークプラグ。
【請求項3】
前記断面に、前記放電面につながる側面との間の距離が10μmである第2の試験線を引いたときに、前記チップの結晶粒界と前記第2の試験線とが交わる、前記第2の試験線の単位長さ当たりの前記結晶粒界の数の平均は20個/mm以上400個/mm以下である請求項1又は2に記載のスパークプラグ。
【請求項4】
前記断面に、前記第1の試験線に垂直な第3の試験線を引いたときの、前記チップの結晶粒界と前記第3の試験線とが交わる、前記第3の試験線の単位長さ当たりの前記結晶粒界の数の平均Bで、前記平均Aを除した値A/Bは0.5以上2.0以下である請求項1又は2に記載のスパークプラグ。
【請求項5】
前記断面に、前記第1の試験線に垂直な直線を引き、前記チップの境界によって前記直線が切り取られてできる線分のうち最も短い線分の長さを前記チップの長さとしたときに、
前記チップのうち前記第1の試験線を含む前記チップの長さの半分の範囲に、前記第1の試験線と平行な第4の試験線を引いたときに、前記チップの結晶粒界と前記第4の試験線とが交わる、前記第4の試験線の単位長さ当たりの前記結晶粒界の数の平均は20個/mm以上400個/mm以下であり、前記第4の試験線が交わる結晶粒の周の長さの平均は6.5μm以上320μm以下である請求項1又は2に記載のスパークプラグ。
【請求項6】
前記チップのうち前記第1の試験線を含まない前記チップの長さの半分の範囲に、前記第1の試験線と平行な第5の試験線を引いたときに、前記チップの結晶粒界と前記第5の試験線とが交わる、前記第5の試験線の単位長さ当たりの前記結晶粒界の数の平均は20個/mm以上400個/mm以下であり、前記第5の試験線が交わる結晶粒の周の長さの平均は6.5μm以上320μm以下である請求項5記載のスパークプラグ。
【請求項7】
前記チップは、気孔率が1%以上7%以下である請求項1又は2記載のスパークプラグ。
発明の詳細な説明
【技術分野】
【0001】
本発明はRuを含むチップを備えるスパークプラグに関する。
続きを表示(約 1,600 文字)
【背景技術】
【0002】
中心電極および接地電極の少なくとも一方が、Ruの単体もしくはRu合金からなるチップを含む先行技術が特許文献1に開示されている。
【先行技術文献】
【特許文献】
【0003】
特開平5-54955号公報
【発明の概要】
【発明が解決しようとする課題】
【0004】
Ruは高温下において酸化揮発が顕著なため、先行技術はチップが消耗し易く、早期にスパークプラグの寿命が尽きるおそれがある。
【0005】
本発明はこの問題点を解決するためになされたものであり、チップの消耗を低減できるスパークプラグの提供を目的とする。
【課題を解決するための手段】
【0006】
この目的を達成するための第1の態様は、軸線に沿って延びる軸孔が設けられた絶縁体と、軸孔に配置された中心電極と、絶縁体の外周に配置された主体金具と、主体金具に接続された接地電極と、を備え、中心電極および接地電極の少なくとも一方は、Ruを主成分とするチップを含み、チップは、中心電極および接地電極の他方と軸線方向に対向する放電面を含む。放電面の重心を通り軸線に平行なチップの断面に、放電面との間の距離が10μmである第1の試験線を引いたときに、チップの結晶粒界と第1の試験線とが交わる、第1の試験線の単位長さ当たりの結晶粒界の数の平均Aは20個/mm以上400個/mm以下であり、第1の試験線が交わる結晶粒の周の長さの平均は6.5μm以上320μm以下である。
【0007】
第2の態様は、軸線に沿って延びる軸孔が設けられた絶縁体と、軸孔に配置された中心電極と、絶縁体の外周に配置された主体金具と、主体金具に接続された接地電極と、を備え、中心電極および接地電極の少なくとも一方は、Ruを主成分とするチップを含み、チップは、中心電極および接地電極の他方と軸線に垂直な方向に対向する放電面を含む。放電面の重心を通り他方が対向する方向および軸線に平行なチップの断面に、放電面との間の距離が10μmである第1の試験線を引いたときに、チップの結晶粒界と第1の試験線とが交わる、第1の試験線の単位長さ当たりの結晶粒界の数の平均Aは20個/mm以上400個/mm以下であり、第1の試験線が交わる結晶粒の周の長さの平均は6.5μm以上320μm以下である。
【0008】
第3の態様は、第1又は第2の態様において、断面に、放電面につながる側面との間の距離が10μmである第2の試験線を引いたときに、チップの結晶粒界と第2の試験線とが交わる、第2の試験線の単位長さ当たりの結晶粒界の数の平均は20個/mm以上400個/mm以下である。
【0009】
第4の態様は、第1から第3の態様のいずれかにおいて、断面に、第1の試験線に垂直な第3の試験線を引いたときの、チップの結晶粒界と第3の試験線とが交わる、第3の試験線の単位長さ当たりの結晶粒界の数の平均Bで、平均Aを除した値A/Bは0.5以上2.0以下である。
【0010】
第5の態様は、第1から第4の態様のいずれかにおいて、断面に、第1の試験線に垂直な直線を引き、チップの境界によって直線が切り取られてできる線分のうち最も短い線分の長さをチップの長さとしたときに、チップのうち第1の試験線を含むチップの長さの半分の範囲に、第1の試験線と平行な第4の試験線を引いたときに、チップの結晶粒界と第4の試験線とが交わる、第4の試験線の単位長さ当たりの結晶粒界の数の平均は20個/mm以上400個/mm以下であり、第4の試験線が交わる結晶粒の周の長さの平均は6.5μm以上320μm以下である。
(【0011】以降は省略されています)
この特許をJ-PlatPat(特許庁公式サイト)で参照する
関連特許
個人
三重コイル変圧器
1日前
日機装株式会社
加圧装置
6日前
ローム株式会社
半導体装置
1日前
日新イオン機器株式会社
イオン源
6日前
株式会社GSユアサ
蓄電装置
21日前
富士電機株式会社
電磁接触器
21日前
トヨタ自動車株式会社
蓄電装置
13日前
株式会社東芝
電子源
6日前
個人
電源ボックス及び電子機器
6日前
日本特殊陶業株式会社
保持装置
1日前
株式会社トクミ
ケーブル
7日前
ホシデン株式会社
複合コネクタ
15日前
大電株式会社
電線又はケーブル
13日前
矢崎総業株式会社
コネクタ
21日前
ヒロセ電機株式会社
電気コネクタ
21日前
住友電装株式会社
コネクタ
1日前
住友電装株式会社
コネクタ
21日前
矢崎総業株式会社
バスバー
2日前
ローム株式会社
半導体モジュール
22日前
三菱電機株式会社
半導体装置
6日前
矢崎総業株式会社
端子
13日前
日本特殊陶業株式会社
アンテナ装置
8日前
日本航空電子工業株式会社
コネクタ
6日前
日本特殊陶業株式会社
アンテナ装置
8日前
日本特殊陶業株式会社
アンテナ装置
8日前
株式会社パロマ
監視システム
13日前
株式会社デンソー
半導体装置
21日前
トヨタ自動車株式会社
蓄電装置構造
7日前
矢崎総業株式会社
バスバー電線
14日前
株式会社興電舎
励磁突入電流抑制方法
6日前
TDK株式会社
電子部品
21日前
新電元工業株式会社
半導体装置
21日前
株式会社ダイヘン
電圧調整装置
8日前
TDK株式会社
電子部品
8日前
矢崎総業株式会社
バスバー電線
14日前
日東電工株式会社
パッチアンテナ
14日前
続きを見る
他の特許を見る