TOP
|
特許
|
意匠
|
商標
特許ウォッチ
Twitter
他の特許を見る
10個以上の画像は省略されています。
公開番号
2025179024
公報種別
公開特許公報(A)
公開日
2025-12-09
出願番号
2025082446
出願日
2025-05-16
発明の名称
管理システム、消費装置、サーバ、および管理方法
出願人
ブラザー工業株式会社
代理人
弁理士法人ネクスト
主分類
G06Q
10/00 20230101AFI20251202BHJP(計算;計数)
要約
【課題】配送された消耗品が未使用の状態でユーザの手元にある場合に、その消耗品を速やかに収容してもらうことが可能な管理システムを提供する。
【解決手段】管理システム1では、カートリッジ7を収容する印刷装置3と、契約に基づきカートリッジの配送管理を行う管理サーバ4と、が通信可能に構成される。印刷装置は、カートリッジの印刷装置への収容回数を記憶する収容情報記憶処理と、カートリッジの配送を要求する配送要求処理と、配送要求処理に基づくカートリッジの配送数を記憶する配送情報記憶処理と、記憶された収容回数及び配送数を取得する取得処理と、取得処理で取得された配送数と収容回数とに基づき、配送済みの未使用のカートリッジがあるか否かを判断する判断処理と、判断処理で配送済みの未使用のカートリッジがあると判断された場合に配送済みの未使用のカートリッジの使用を促す通知処理と、を実行する。
【選択図】図3
特許請求の範囲
【請求項1】
消耗品を収容する第1の消費装置と、契約に基づき前記消耗品の配送管理を行うサーバと、が通信可能に構成される管理システムであって、
前記第1の消費装置は、
前記配送管理の対象である前記消耗品を消費する消費処理を実行し、
前記第1の消費装置及び前記サーバの少なくとも一方は、
前記契約に基づき配送された新たな前記消耗品の前記第1の消費装置への収容状況を示す収容情報を記憶する収容情報記憶処理と、
前記消耗品の配送を要求する配送要求処理と、
前記配送要求処理に基づく前記消耗品の配送状況を示す配送情報を記憶する配送情報記憶処理と、
記憶された前記収容情報及び前記配送情報を取得する取得処理と、
前記取得処理で取得された前記配送情報と、前記取得処理で取得された前記収容情報とに基づき、配送済みの未使用の前記消耗品があるか否かを判断する判断処理と、
前記判断処理で配送済みの未使用の前記消耗品があると判断された場合に、配送済みの未使用の前記消耗品の使用を促す通知処理と、
を実行することを特徴とする、管理システム。
続きを表示(約 1,900 文字)
【請求項2】
前記第1の消費装置及び前記サーバの少なくとも一方は、
前記収容情報記憶処理において、前記収容情報として、前記契約に基づき配送された新たな前記消耗品を前記第1の消費装置へ収容した収容回数を記憶し、
前記配送情報記憶処理において、前記配送情報として、前記配送要求処理に基づく配送された前記消耗品の数である配送数を記憶し、
前記判断処理において、前記配送数が前記収容回数より多いか否かを判断し、
前記判断処理で前記配送数が前記収容回数より多いと判断された場合に、前記通知処理を実行することを特徴とする、請求項1に記載の管理システム。
【請求項3】
前記第1の消費装置及び前記サーバの少なくとも一方は、
前記契約が解約された後、再契約された場合に、前記通知処理を実行することを特徴とする、請求項1に記載の管理システム。
【請求項4】
前記第1の消費装置とは異なる第2の消費装置、をさらに備え、
前記第1の消費装置が前記契約中であって、前記第1の消費装置が前記第2の消費装置に交換されたことを示す交換情報が前記サーバに記憶された場合に、
前記第2の消費装置及び前記サーバの少なくとも一方は、
前記取得処理において、前記第1の消費装置における前記収容情報および前記配送情報を取得し、
前記判断処理および前記通知処理において、前記第1の消費装置における前記収容情報および前記配送情報を用いて処理を実行することを特徴とする、請求項1に記載の管理システム。
【請求項5】
前記第1の消費装置及び前記サーバの少なくとも一方は、
前記判断処理において、さらに、配送済みの未使用の前記消耗品の使用期限に関する値を用いて、配送済みの未使用の前記消耗品が使用期限内であるか否かを判断し、
前記判断処理で配送済みの未使用の前記消耗品があり、かつ、配送済みの未使用の前記消耗品が使用期限内であると判断された場合に、前記通知処理を実行することを特徴とする、請求項1に記載の管理システム。
【請求項6】
前記第1の消費装置は、複数種類の前記消耗品を収容可能であり、
前記第1の消費装置及び前記サーバの少なくとも一方は、
前記消耗品の種類ごとに、前記収容情報記憶処理、前記配送要求処理、前記配送情報記憶処理、前記取得処理、前記判断処理、及び、前記通知処理を実行し、
前記通知処理において、前記判断処理で配送済みの未使用の前記消耗品があると判断された前記消耗品の使用を促すことを特徴とする、請求項1に記載の管理システム。
【請求項7】
前記第1の消費装置及び前記サーバの少なくとも一方は、
前記判断処理で配送済みの未使用の前記消耗品がないと判断された場合に、前記配送要求処理を実行することを特徴とする、請求項1~請求項6のうちいずれか一項に記載の管理システム。
【請求項8】
前記第1の消費装置及び前記サーバの少なくとも一方は、
前記通知処理において、配送済みの未使用の前記消耗品を保有していない場合の対処方法を案内することを特徴とする、請求項1に記載の管理システム。
【請求項9】
前記第1の消費装置が、前記取得処理、前記判断処理、及び、前記通知処理を実行することを特徴とする、請求項1に記載の管理システム。
【請求項10】
管理システムにおいて契約に基づき消耗品の配送管理を行うサーバと通信可能に構成され、前記配送管理の対象である前記消耗品を収容する消費装置であって、
装置制御部を備え、
前記装置制御部は、
前記配送管理の対象である前記消耗品を消費する消費処理と、
前記契約に基づき配送された新たな前記消耗品の消費装置への収容状況を示す収容情報を記憶する収容情報記憶処理と、
前記消耗品の配送を要求する配送要求処理と、
前記配送要求処理に基づく前記消耗品の配送状況を示す配送情報を記憶する配送情報記憶処理と、
記憶された前記収容情報及び前記配送情報を取得する取得処理と、
前記取得処理で取得された前記配送情報と、前記取得処理で取得された前記収容情報とに基づき、配送済みの未使用の前記消耗品があるか否かを判断する判断処理と、
前記判断処理で配送済みの未使用の前記消耗品があると判断された場合に、配送済みの未使用の前記消耗品の使用を促す通知処理と、
を実行することを特徴とする、消費装置。
(【請求項11】以降は省略されています)
発明の詳細な説明
【技術分野】
【0001】
本発明は、管理システム、消費装置、サーバ、および管理方法に関する。
続きを表示(約 1,800 文字)
【背景技術】
【0002】
従来、例えば、特許文献1に記載されるように、画像形成装置に収容された消耗品の使用状況に応じて、メーカが未使用の消耗品を自動的にユーザに配送するサービスに関する技術が知られている。特許文献1に記載の画像形成装置では、ユーザがサービスの契約を解約した場合であっても、サービス契約時の専用の消耗品を継続して使用できるようになっている。
【先行技術文献】
【特許文献】
【0003】
特開2021-160229号公報
【発明の概要】
【発明が解決しようとする課題】
【0004】
しかし、上記特許文献1に記載の画像形成装置では、配送された消耗品が未使用の状態でユーザの手元にある場合における処理については何ら開示されておらず、ユーザに未使用の消耗品を速やかに収容してもらうことができないという問題があった。
【0005】
そこで、本発明の目的は、上記問題に鑑み、配送された消耗品が未使用の状態でユーザの手元にある場合に、その消耗品を速やかに収容してもらうことが可能な管理システム、消費装置、サーバ、および管理方法を提供することにある。
【課題を解決するための手段】
【0006】
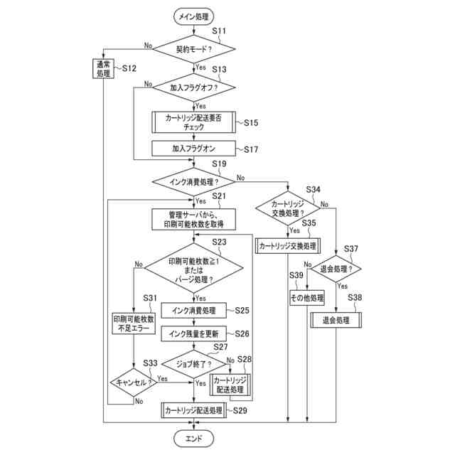
(1)上述した目的を達成するため、本発明の一形態によれば、管理システムが提供される。この管理システムは、消耗品を収容する第1の消費装置と、契約に基づき前記消耗品の配送管理を行うサーバと、が通信可能に構成される管理システムであって、前記第1の消費装置は、前記配送管理の対象である前記消耗品を消費する消費処理を実行し、前記第1の消費装置及び前記サーバの少なくとも一方は、前記契約に基づき配送された新たな前記消耗品の前記第1の消費装置への収容状況を示す収容情報を記憶する収容情報記憶処理と、前記消耗品の配送を要求する配送要求処理と、前記配送要求処理に基づく前記消耗品の配送状況を示す配送情報を記憶する配送情報記憶処理と、記憶された前記収容情報及び前記配送情報を取得する取得処理と、前記取得処理で取得された前記配送情報と、前記取得処理で取得された前記収容情報とに基づき、配送済みの未使用の前記消耗品があるか否かを判断する判断処理と、前記判断処理で配送済みの未使用の前記消耗品があると判断された場合に、配送済みの未使用の前記消耗品の使用を促す通知処理と、を実行することを特徴とする。
【0007】
この形態の管理システムによれば、判断処理において、配送済みの未使用の消耗品がユーザの手元にあるか否かが判断され、判断処理で配送済みの未使用の消耗品があると判断された場合に、通知処理において、配送済みの未使用の消耗品の使用を促す通知がなされる。このように、配送済みかつ未使用の消耗品の使用を促す通知を行うことで、未使用の消耗品を有効に活用することができる。
【0008】
(2)上記形態の管理システムにおいて、前記第1の消費装置及び前記サーバの少なくとも一方は、前記収容情報記憶処理において、前記収容情報として、前記契約に基づき配送された新たな前記消耗品を前記第1の消費装置へ収容した収容回数を記憶し、前記配送情報記憶処理において、前記配送情報として、前記配送要求処理に基づく配送された前記消耗品の数である配送数を記憶し、前記判断処理において、前記配送数が前記収容回数より多いか否かを判断し、前記判断処理で前記配送数が前記収容回数より多いと判断された場合に、前記通知処理を実行してもよい。
【0009】
この形態の管理システムによれば、消耗品の消費装置への収容状況を示す収容情報として「収容回数」を用い、配送情報として「配送数」を用いることで、配送済みかつ未使用の消耗品がユーザの手元にあるか否かを容易に判断できる。また、管理システムは、消耗品の配送数と収容回数とを管理すればよく、消耗品の識別情報の管理など煩雑な管理をする必要がないため、管理に要するメモリ量を節約できる。
【0010】
(3)上記形態の管理システムにおいて、前記第1の消費装置及び前記サーバの少なくとも一方は、前記契約が解約された後、再契約された場合に、前記通知処理を実行してもよい。この形態の管理システムによれば、再契約時に、前回の契約中に配送した消耗品を有効に活用できる。
(【0011】以降は省略されています)
この特許をJ-PlatPat(特許庁公式サイト)で参照する
関連特許
ブラザー工業株式会社
プリンタ
今日
ブラザー工業株式会社
印刷装置
今日
ブラザー工業株式会社
印刷装置
11日前
ブラザー工業株式会社
液体吐出装置
13日前
ブラザー工業株式会社
液体吐出装置
4日前
ブラザー工業株式会社
画像読取装置
今日
ブラザー工業株式会社
液体吐出装置
11日前
ブラザー工業株式会社
液体吐出装置
20日前
ブラザー工業株式会社
液体吐出装置
4日前
ブラザー工業株式会社
画像形成装置
6日前
ブラザー工業株式会社
液体吐出ヘッド
今日
ブラザー工業株式会社
液滴吐出ヘッド
13日前
ブラザー工業株式会社
液体吐出ヘッド
11日前
ブラザー工業株式会社
情報処理プログラム
11日前
ブラザー工業株式会社
印刷カセット収納体
5日前
ブラザー工業株式会社
印刷用カセット収納体
今日
ブラザー工業株式会社
工具搬送装置及び工作機械
4日前
ブラザー工業株式会社
タンクおよび液体吐出装置
11日前
ブラザー工業株式会社
プログラムおよび情報処理装置
11日前
ブラザー工業株式会社
ラベルプリンタおよびプログラム
4日前
ブラザー工業株式会社
ラベルプリンタおよび印刷システム
今日
ブラザー工業株式会社
画像処理装置及び認証処理プログラム
6日前
ブラザー工業株式会社
プログラム、および、データ処理装置
11日前
ブラザー工業株式会社
サポートプログラムおよび印刷システム
20日前
ブラザー工業株式会社
サポートプログラムおよび印刷システム
11日前
ブラザー工業株式会社
液滴吐出装置、その制御方法及びプログラム
5日前
ブラザー工業株式会社
コンピュータプログラム、および、データ処理装置
11日前
ブラザー工業株式会社
管理システム、消費装置、サーバ、および管理方法
今日
ブラザー工業株式会社
液体吐出装置用ヘッド及びこれを備える液体吐出装置
11日前
ブラザー工業株式会社
情報処理装置
4日前
ブラザー工業株式会社
画像処理装置
4日前
ブラザー工業株式会社
画像形成装置
19日前
ブラザー工業株式会社
画像形成装置
今日
ブラザー工業株式会社
現像カートリッジ
25日前
ブラザー工業株式会社
サポートプログラム
25日前
ブラザー工業株式会社
サポートプログラム
11日前
続きを見る
他の特許を見る