TOP
|
特許
|
意匠
|
商標
特許ウォッチ
Twitter
他の特許を見る
公開番号
2025178789
公報種別
公開特許公報(A)
公開日
2025-12-09
出願番号
2024085600
出願日
2024-05-27
発明の名称
ラベルプリンタおよび印刷システム
出願人
ブラザー工業株式会社
代理人
弁理士法人コスモス国際特許商標事務所
主分類
G06F
3/12 20060101AFI20251202BHJP(計算;計数)
要約
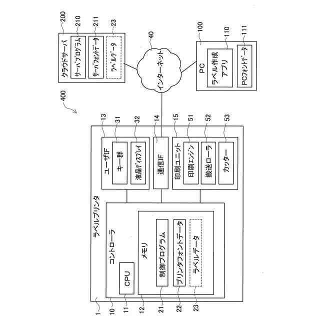
【課題】ラベルプリンタにおいて、外部装置によって作成されたラベルデータを好適に印刷する技術を提供すること。
【解決手段】PC100は、ラベル作成アプリ110にて作成されたラベルデータ23をクラウドサーバ200とラベルプリンタ1とに送信する。ラベルプリンタ1では、オフラインが選択された状態で印刷指示があった場合には、メモリ12に記憶したプリンタフォントデータ22を用いて、受信したラベルデータ23をラスタライズした印刷データに基づく印刷を行う。一方、オンラインが選択された状態で印刷指示があった場合には、クラウドサーバ200に記憶されるラベルデータ23がクラウドサーバ200に記憶されるサーバフォントデータ211を用いてクラウドサーバ200によってラスタライズされた印刷データを、クラウドサーバ200から受信して印刷を行う。
【選択図】図1
特許請求の範囲
【請求項1】
印刷部と、
通信インタフェースと、
ユーザインタフェースと、
フォントデータとラベルデータとを記憶可能なメモリと、
コントローラと、
を備えるラベルプリンタであって、
前記コントローラは、
前記通信インタフェースを介して、情報処理装置から送信されたラベルデータを受信し、受信した前記ラベルデータを前記メモリに記憶する記憶処理を実行し、前記ラベルデータは、前記情報処理装置から前記ラベルプリンタとサーバとに送信され、
前記コントローラはさらに、
前記ユーザインタフェースを介して、前記メモリに記憶された前記ラベルデータのうちの1つの選択を受け付けるラベル選択処理と、
前記メモリに記憶された前記ラベルデータの1つが選択された状態で、前記ユーザインタフェースを介して、印刷指示を受け付ける印刷指示処理と、
を実行し、前記印刷指示には、第1印刷指示と第2印刷指示とがあり、
前記コントローラはさらに、
受け付けた前記印刷指示が前記第1印刷指示であった場合に、前記メモリに記憶される前記フォントデータを用いて、選択された前記ラベルデータをラスタライズして第1印刷データを生成し、生成した前記第1印刷データに基づく印刷を、前記印刷部を用いて行う第1印刷処理を実行し、
受け付けた前記印刷指示が前記第2印刷指示であった場合に、前記通信インタフェースを介して、選択された前記ラベルデータを指定した送信要求を、前記サーバに送信する送信要求処理を実行し、
前記コントローラはさらに、
前記送信要求に対する応答として、前記通信インタフェースを介して、前記サーバから、前記サーバに記憶される前記ラベルデータのうち前記送信要求で指定された前記ラベルデータに対応する前記ラベルデータが、前記サーバによってラスタライズされた第2印刷データを受信した場合に、受信した前記第2印刷データに基づく印刷を、前記印刷部を用いて行う第2印刷処理を実行する、
ように構成されるラベルプリンタ。
続きを表示(約 4,200 文字)
【請求項2】
請求項1に記載するラベルプリンタであって、
前記コントローラは、
前記サーバと通信不可であった場合に、前記第2印刷処理を実行せず、前記第1印刷処理を実行する、
ように構成されるラベルプリンタ。
【請求項3】
請求項1に記載するラベルプリンタであって、
前記コントローラは、
選択された前記ラベルデータに対応する前記ラベルデータが前記サーバに記憶されていない場合に、前記第2印刷処理を実行せず、前記第1印刷処理を実行する、
ように構成されるラベルプリンタ。
【請求項4】
請求項1に記載するラベルプリンタであって、
前記コントローラは、
選択された前記ラベルデータの利用をオンラインとするかオフラインとするかの選択を受け付ける利用選択処理を実行し、
前記印刷指示処理では、オフラインとする前記選択があった場合、前記印刷指示として、前記第1印刷指示を受け付け、オンラインとする前記選択があった場合、前記印刷指示として、前記第2印刷指示を受け付ける、
ように構成されるラベルプリンタ。
【請求項5】
請求項4に記載するラベルプリンタであって、
前記コントローラは、
前記メモリに記憶された前記ラベルデータの1つが選択された状態で、
前記ユーザインタフェースを介して、選択された前記ラベルデータに含まれるテキストを、前記メモリに記憶される前記フォントデータを用いて表示するラベルデータ表示処理と、
選択された前記ラベルデータに含まれる前記テキストを編集する編集操作を受け付ける編集操作処理と、
を実行し、
前記コントローラはさらに、
オンラインとする前記選択があった後、前記編集操作を受け付けた場合、
受け付けた前記編集操作に基づいて、前記ユーザインタフェースを介して表示される、選択された前記ラベルデータに含まれる前記テキストを、前記メモリに記憶される前記フォントデータを用いて更新する第1更新処理と、
前記通信インタフェースを介して、選択された前記ラベルデータを指定した更新要求を、受け付けた前記編集操作に対応する操作コマンドと関連付けて、前記サーバに送信し、前記サーバに、前記サーバに記憶される前記ラベルデータのうち前記更新要求で指定された前記ラベルデータに対応する前記ラベルデータに含まれるテキストを、前記操作コマンドに基づいて更新させる第2更新処理と、
を実行する、
ように構成されるラベルプリンタ。
【請求項6】
請求項5に記載するラベルプリンタであって、
前記コントローラは、
前記編集操作処理では、前記ユーザインタフェースを介して、前記編集操作として、編集可能なテキストの1文字ずつのキー操作を受け付け、
前記コントローラはさらに、
前記編集操作処理にて1文字ずつの前記キー操作を受け付けた場合、
前記第1更新処理では、受け付けた1文字分の前記キー操作に基づいて、前記ユーザインタフェースを介して表示される、選択された前記ラベルデータに含まれるテキストを、前記メモリに記憶される前記フォントデータを用いて更新し、
前記第2更新処理では、前記通信インタフェースを介して、選択された前記ラベルデータを指定した前記更新要求を、受け付けた1文字分の前記キー操作に対応するキーコードと関連付けて、前記サーバに送信し、前記サーバに、前記サーバに記憶される前記ラベルデータのうち前記更新要求で指定された前記ラベルデータに対応する前記ラベルデータに含まれる前記テキストを、前記キーコードに基づいて更新させる、
ように構成されるラベルプリンタ。
【請求項7】
請求項5に記載するラベルプリンタであって、
前記情報処理装置は、前記サーバに前記ラベルデータを送信する場合に、前記ラベルデータに第1認証情報を関連付けて送信し、
前記コントローラは、
前記メモリに記憶された前記ラベルデータの1つが選択され、かつオンラインとする前記選択があった後、前記編集操作を受け付ける前に、前記通信インタフェースを介して、選択された前記ラベルデータを指定した認証要求であって、選択された前記ラベルデータに関連付けられた第2認証情報が付された前記認証要求を、前記サーバに送信する認証要求処理を実行し、
前記コントローラは、
前記認証要求に対する応答として、前記通信インタフェースを介して、前記サーバから、前記サーバに記憶される前記ラベルデータのうち前記認証要求で指定された前記ラベルデータに対応する前記ラベルデータに関連付けられている前記第1認証情報と、前記認証要求に付された前記第2認証情報と、が一致したことを示す認証成功結果を受信した場合に、前記編集操作の受け付けを許可し、前記認証成功結果を受信しなかった場合に、前記編集操作の受け付けを制限する、
ように構成されるラベルプリンタ。
【請求項8】
印刷部と、
通信インタフェースと、
ユーザインタフェースと、
フォントデータとラベルデータとを記憶可能なメモリと、
コントローラと、
を備えるラベルプリンタであって、
前記コントローラは、
前記通信インタフェースを介して、情報処理装置から送信されたラベルデータを受信し、受信した前記ラベルデータを前記メモリに記憶する記憶処理を実行し、前記ラベルデータは、前記情報処理装置から前記ラベルプリンタとサーバとに送信され、
前記コントローラはさらに、
前記ユーザインタフェースを介して、前記メモリに記憶された前記ラベルデータのうちの1つの選択を受け付けるラベル選択処理と、
前記メモリに記憶された前記ラベルデータの1つが選択された状態で、前記ユーザインタフェースを介して、印刷指示を受け付ける印刷指示処理と、
を実行し、
前記コントローラはさらに、
前記印刷指示を受け付けた場合に、
前記サーバとの通信が可能であれば、前記通信インタフェースを介して、選択された前記ラベルデータを指定した送信要求を、前記サーバに送信し、
前記送信要求に対する応答として、前記通信インタフェースを介して、前記サーバから、前記サーバに記憶される前記ラベルデータのうち前記送信要求で指定された前記ラベルデータに対応する前記ラベルデータが、前記サーバによってラスタライズされた印刷データを受信した場合に、受信した前記印刷データに基づく印刷を、前記印刷部を用いて行い、
前記サーバとの通信が不可であれば、前記メモリに記憶される前記フォントデータを用いて、選択された前記ラベルデータをラスタライズして印刷データを生成し、生成した前記印刷データに基づく印刷を、前記印刷部を用いて行う、
ように構成されるラベルプリンタ。
【請求項9】
ラベルデータの作成機能を有するプログラムがインストールされた情報処理装置と、ラベルプリンタと、サーバと、を備える印刷システムにおいて、
前記プログラムは、前記情報処理装置に、
ラベルデータを作成するラベルデータ作成処理と、
前記ラベルデータ作成処理にて作成された前記ラベルデータを、前記サーバと前記ラベルプリンタとに送信するラベルデータ送信処理と、
を実行させ、
前記サーバは、
前記情報処理装置から送信された前記ラベルデータを、前記サーバのメモリに記憶し、
前記ラベルプリンタは、
前記情報処理装置から送信された前記ラベルデータを、前記ラベルプリンタのメモリに記憶し、
前記ラベルプリンタのユーザインタフェースを介して、前記ラベルプリンタの前記メモリに記憶された前記ラベルデータのうちの1つの選択を受け付け、
前記ラベルプリンタの前記メモリに記憶された前記ラベルデータの1つが選択された状態で、前記ラベルプリンタの前記ユーザインタフェースを介して、印刷指示を受け付け、前記印刷指示には、第1印刷指示と第2印刷指示とがあり、
受け付けた前記印刷指示が前記第1印刷指示であった場合、前記ラベルプリンタの前記メモリに記憶されるフォントデータを用いて、選択された前記ラベルデータをラスタライズして第1印刷データを生成し、生成した前記第1印刷データに基づく印刷を、前記ラベルプリンタの印刷部を用いて行い、
受け付けた前記印刷指示が前記第2印刷指示であった場合、選択された前記ラベルデータを指定した送信要求を、前記サーバに送信し、
前記サーバは、
前記ラベルプリンタから前記送信要求を受信した場合、前記サーバの前記メモリに記憶される前記ラベルデータのうち前記送信要求で指定された前記ラベルデータに対応する前記ラベルデータをラスタライズして第2印刷データを生成し、生成した前記第2印刷データを、前記ラベルプリンタに送信し、
前記ラベルプリンタは、
前記送信要求に対する応答として、前記サーバから前記第2印刷データを受信した場合に、受信した前記第2印刷データに基づく印刷を、前記印刷部を用いて行う、
ように構成される印刷システム。
【請求項10】
請求項9に記載する印刷システムであって、
前記プログラムの前記ラベルデータ送信処理では、
送信対象の前記ラベルデータに前記ラベルプリンタで対応できないフォントが設定されている場合に、前記ラベルデータに設定されているフォントを前記ラベルプリンタで対応可能なフォントに変換し、変換後の前記ラベルデータを、前記ラベルプリンタに送信し、変換前の前記ラベルデータを、前記サーバに送信する、
ように構成される印刷システム。
(【請求項11】以降は省略されています)
発明の詳細な説明
【技術分野】
【0001】
本明細書に開示される技術分野は、ラベルプリンタおよび印刷システムに関する。
続きを表示(約 2,600 文字)
【背景技術】
【0002】
従来、印刷対象のデータをプリンタ以外の外部装置によってプリンタで対応可能なデータに変換させる構成が知られている。例えば特許文献1には、プリンタが、Webサーバから文書ファイルを取得し、取得した文書ファイルのファイル形式が自装置で処理可能なファイル形式でなかった場合に、文書ファイルを自装置で処理可能なデータに変換できるサーバに対して文書ファイルの変換送信要求を行い、変換送信要求への応答としてサーバから送信されたデータを受け取って印刷する構成が開示されている。
【先行技術文献】
【特許文献】
【0003】
特開2007-055051号公報
【発明の概要】
【発明が解決しようとする課題】
【0004】
ラベルプリンタでは、パーソナルコンピュータ(PC)等の外部装置で作成されたラベルデータに基づく印刷を行うことができる。外部装置ではラベルデータを作成する際に様々なフォントを利用可能である一方、ラベルプリンタでは対応可能なフォントに限りがある。ラベルプリンタにおいて、対応できないフォントが設定されたラベルデータに基づく印刷を行う場合、例えば特許文献1に開示されているようにサーバにそのラベルデータを渡してラスタライズを要求する構成が考えられるが、外部装置によって作成されたラベルデータを印刷するための技術には改善の余地がある。
【課題を解決するための手段】
【0005】
上述した課題の解決を目的としてなされたラベルプリンタは、
印刷部と、
通信インタフェースと、
ユーザインタフェースと、
フォントデータとラベルデータとを記憶可能なメモリと、
コントローラと、
を備えるラベルプリンタであって、
前記コントローラは、
前記通信インタフェースを介して、情報処理装置から送信されたラベルデータを受信し、受信した前記ラベルデータを前記メモリに記憶する記憶処理を実行し、前記ラベルデータは、前記情報処理装置から前記ラベルプリンタとサーバとに送信され、
前記コントローラはさらに、
前記ユーザインタフェースを介して、前記メモリに記憶された前記ラベルデータのうちの1つの選択を受け付けるラベル選択処理と、
前記メモリに記憶された前記ラベルデータの1つが選択された状態で、前記ユーザインタフェースを介して、印刷指示を受け付ける印刷指示処理と、
を実行し、前記印刷指示には、第1印刷指示と第2印刷指示とがあり、
前記コントローラはさらに、
受け付けた前記印刷指示が前記第1印刷指示であった場合に、前記メモリに記憶される前記フォントデータを用いて、選択された前記ラベルデータをラスタライズして第1印刷データを生成し、生成した前記第1印刷データに基づく印刷を、前記印刷部を用いて行う第1印刷処理を実行し、
受け付けた前記印刷指示が前記第2印刷指示であった場合に、前記通信インタフェースを介して、選択された前記ラベルデータを指定した送信要求を、前記サーバに送信する送信要求処理を実行し、
前記コントローラはさらに、
前記送信要求に対する応答として、前記通信インタフェースを介して、前記サーバから、前記サーバに記憶される前記ラベルデータのうち前記送信要求で指定された前記ラベルデータに対応する前記ラベルデータが、前記サーバによってラスタライズされた第2印刷データを受信した場合に、受信した前記第2印刷データに基づく印刷を、前記印刷部を用いて行う第2印刷処理を実行する、
ように構成される。
【0006】
本明細書に開示されるラベルプリンタは、情報処理装置のプログラムで作成されたラベルデータを受信して自装置のメモリに記憶する。さらにサーバにもあらかじめそのラベルデータが保存されている。そして、ラベルプリンタは、第1印刷指示があった場合には、自装置のメモリに記憶したフォントデータを用いて、自装置のメモリに記憶したラベルデータをラスタライズした第1印刷データに基づく印刷を行うことで、オフラインでも印刷を可能とする一方、第2印刷指示があった場合には、サーバに記憶されるラベルデータがサーバによってラスタライズされた第2印刷データを受信して印刷を行うことで、情報処理装置のプログラムによって作成されたラベルデータに自装置で対応できないフォントが設定されていたとしても、サーバがそのフォントに対応するフォントデータを有している場合には、そのフォントでテキストが印刷される。
【0007】
上記装置の機能を実現するための制御方法、コンピュータプログラム、および当該コンピュータプログラムを格納するコンピュータにて読取可能な記憶媒体も、新規で有用である。
【発明の効果】
【0008】
本明細書に開示される技術によれば、ラベルプリンタにおいて、外部装置によって作成されたラベルデータを好適に印刷する技術が実現される。
【図面の簡単な説明】
【0009】
実施の形態にかかる印刷システムの構成およびラベルプリンタの電気的構成を示すブロック図である。
ラベルプリンタにおけるラベルプリンタの記憶態様を説明する図である。
実施の形態にかかるラベルプリンタの外観斜視図である。
ラベルプリンタの内部構成の概略を示す図である。
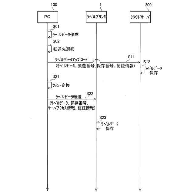
実施の形態にかかる印刷システムの準備手順を示すシーケンス図である。
実施の形態にかかる印刷システムの本体手順を示すシーケンス図である。
オンライン処理の手順を示すシーケンス図である。
オフライン処理の手順を示すフローチャートである。憶されるラベルデータの内容を示す図である。
【発明を実施するための形態】
【0010】
以下、本発明のラベルプリンタを具体化した実施の形態について、添付図面を参照しつつ詳細に説明する。本形態は、本発明のラベルプリンタと、クラウドサーバと、パーソナルコンピュータ(PC)と、を有する印刷システムを開示するものである。
(【0011】以降は省略されています)
この特許をJ-PlatPat(特許庁公式サイト)で参照する
関連特許
ブラザー工業株式会社
プリンタ
今日
ブラザー工業株式会社
印刷装置
今日
ブラザー工業株式会社
液体吐出装置
4日前
ブラザー工業株式会社
画像読取装置
今日
ブラザー工業株式会社
画像形成装置
6日前
ブラザー工業株式会社
液体吐出装置
4日前
ブラザー工業株式会社
液体吐出ヘッド
今日
ブラザー工業株式会社
情報処理プログラム
11日前
ブラザー工業株式会社
印刷カセット収納体
5日前
ブラザー工業株式会社
印刷用カセット収納体
今日
ブラザー工業株式会社
工具搬送装置及び工作機械
4日前
ブラザー工業株式会社
ラベルプリンタおよびプログラム
4日前
ブラザー工業株式会社
ラベルプリンタおよび印刷システム
今日
ブラザー工業株式会社
画像処理装置及び認証処理プログラム
6日前
ブラザー工業株式会社
液滴吐出装置、その制御方法及びプログラム
5日前
ブラザー工業株式会社
管理システム、消費装置、サーバ、および管理方法
今日
ブラザー工業株式会社
コンピュータプログラム、および、データ処理装置
11日前
ブラザー工業株式会社
画像形成装置
今日
ブラザー工業株式会社
情報処理装置
4日前
ブラザー工業株式会社
画像処理装置
4日前
ブラザー工業株式会社
サポートプログラム
4日前
ブラザー工業株式会社
サポートプログラム
11日前
ブラザー工業株式会社
サポートプログラムおよび印刷システム
4日前
個人
詐欺保険
1か月前
個人
縁伊達ポイン
1か月前
個人
RFタグシート
1か月前
個人
職業自動販売機
25日前
個人
5掛けポイント
1か月前
個人
ペルソナ認証方式
1か月前
個人
QRコードの彩色
2か月前
個人
自動調理装置
1か月前
個人
情報処理装置
1か月前
個人
立体グラフの利用方法
4日前
個人
農作物用途分配システム
1か月前
個人
サービス情報提供システム
27日前
NISSHA株式会社
入力装置
5日前
続きを見る
他の特許を見る