TOP
|
特許
|
意匠
|
商標
特許ウォッチ
Twitter
他の特許を見る
公開番号
2025178729
公報種別
公開特許公報(A)
公開日
2025-12-09
出願番号
2024085512
出願日
2024-05-27
発明の名称
プリンタ
出願人
ブラザー工業株式会社
代理人
個人
,
個人
主分類
B41J
29/38 20060101AFI20251202BHJP(印刷;線画機;タイプライター;スタンプ)
要約
【課題】意図しない電源の状態で、コネクタを介して接続された外部機器への給電が開始されることを従来に比べ確実に抑制することに貢献するプリンタを提供すること。
【解決手段】プリンタは、外部機器が接続されるUSBコネクタと、USBコネクタに接続された外部機器との間でUSB-PD規格に従ったネゴシエーションを実行するよう構成されたPD回路と、プロセッサとを備える。プロセッサは、電源の状態に応じて、外部機器に対するプリンタのロールをシンクからソースに切り替えるソース設定指示をPD回路に出力して、外部機器への給電を開始させる給電開始処理を実行する(S10)。
【選択図】図5
特許請求の範囲
【請求項1】
プリンタであって、
外部機器が接続されるUSBコネクタと、
前記USBコネクタに接続された前記外部機器との間でUSB-PD規格に従ったネゴシエーションを実行するよう構成されたPD回路と、
プロセッサと
を備え、
前記プロセッサは、
電源の状態に応じて、前記外部機器に対する前記プリンタのロールをシンクからソースに切り替えるソース設定指示を前記PD回路に出力して、前記外部機器への給電を開始させる給電開始処理
を実行することを特徴とするプリンタ。
続きを表示(約 1,800 文字)
【請求項2】
前記プロセッサは、
前記給電開始処理で、前記プリンタとACアダプタとの接続状態がソース設定条件を満たす場合に、前記ソース設定指示を前記PD回路に出力して、前記外部機器への給電を開始させることを特徴とする請求項1に記載のプリンタ。
【請求項3】
前記プロセッサは、
前記外部機器が前記USBコネクタを介して前記プリンタに接続されている状態で、前記プリンタに前記ACアダプタが接続された場合を、前記ソース設定条件を満たす場合として前記給電開始処理を行うことを特徴とする請求項2に記載のプリンタ。
【請求項4】
前記プロセッサは、
前記プリンタに前記ACアダプタが接続されている状態で、前記外部機器が前記USBコネクタを介し、前記プリンタに接続された場合を、前記ソース設定条件を満たす場合として前記給電開始処理を行うことを特徴とする請求項2に記載のプリンタ。
【請求項5】
印刷ヘッドと、
媒体を搬送する搬送部と
を更に備え、
前記プロセッサは、
前記印刷ヘッドと前記搬送部とを駆動して、前記媒体に印刷する印刷処理を更に実行し、
前記給電開始処理で、前記印刷処理を実行中に、前記プリンタと前記ACアダプタとの前記接続状態が前記ソース設定条件を満たした場合、前記印刷処理が終了した後に、前記ソース設定指示を前記PD回路に出力して、前記外部機器への給電を開始させることを特徴とする請求項2に記載のプリンタ。
【請求項6】
印刷ヘッドを更に備え、
前記プロセッサは、
前記給電開始処理で、前記印刷ヘッドを駆動中に、前記プリンタと前記ACアダプタとの前記接続状態が前記ソース設定条件を満たした場合、前記印刷ヘッドの駆動が終了した後に、前記ソース設定指示を前記PD回路に出力して、前記外部機器への給電を開始させることを特徴とする請求項2に記載のプリンタ。
【請求項7】
媒体を搬送する搬送部を更に備え、
前記プロセッサは、
前記給電開始処理で、前記搬送部を駆動中に、前記プリンタと前記ACアダプタとの前記接続状態が前記ソース設定条件を満たした場合、前記搬送部の駆動が終了した後に、前記ソース設定指示を前記PD回路に出力して、前記外部機器への給電を開始させることを特徴とする請求項2に記載のプリンタ。
【請求項8】
前記媒体を切断する切断刃を更に備え、
前記プロセッサは、
前記印刷処理後、前記搬送部が停止中に前記切断刃を駆動して前記媒体を切断する切断処理を更に実行し、
前記給電開始処理で、前記印刷処理を実行中に、前記プリンタと前記ACアダプタとの前記接続状態が前記ソース設定条件を満たした場合、前記印刷処理が終了した後、且つ、前記切断処理を実行時に、前記ソース設定指示を前記PD回路に出力して、前記外部機器への給電を開始させることを特徴とする請求項5に記載のプリンタ。
【請求項9】
前記プロセッサは、
前記給電開始処理で、前記印刷処理を実行中に、前記プリンタと前記ACアダプタとの前記接続状態が前記ソース設定条件を満たした場合、前記印刷処理が終了した後、且つ次の前記印刷処理を実行する前までの印刷ジョブ間に、前記ソース設定指示を前記PD回路に出力して、前記外部機器への給電を開始させることを特徴とする請求項5に記載のプリンタ。
【請求項10】
無線通信インターフェイスを更に備え、
前記プロセッサは、
前記無線通信インターフェイスを介して前記印刷処理の実行を指示する印刷指示を受ける受付処理を更に実行し、
前記給電開始処理で、前記印刷処理を実行中に、前記プリンタと前記ACアダプタとの前記接続状態が前記ソース設定条件を満たした場合、前記無線通信インターフェイスを介して受け付けられた前記印刷指示に基づく前記印刷処理を終了後、且つ前記無線通信インターフェイスを介して次の前記印刷指示を受け付けるまでの印刷ジョブ間に、前記ソース設定指示を前記PD回路に出力して、前記外部機器への給電を開始させることを特徴とする請求項5に記載のプリンタ。
(【請求項11】以降は省略されています)
発明の詳細な説明
【技術分野】
【0001】
本発明は、プリンタに関する。
続きを表示(約 2,500 文字)
【背景技術】
【0002】
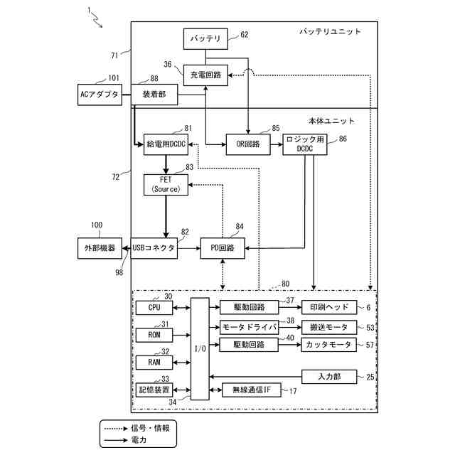
特許文献1のプリンタは、コネクタ及び電流検出部を有するUSBインターフェイスを備え、USBインターフェイスを介して外部機器への給電を行う。プリンタは、外部機器への給電中、画像処理を行わせる指示を受け付けた場合、外部機器へ給電し、インターフェイスによって検出された電流値の一定期間内の最小値と最大値との差が閾値を超える場合、USBインターフェイスに対して外部機器への給電を制限する指示を出力する。プリンタは、外部機器へ給電した時に電流検出部によって検出されインターフェイス間内の最小値と最大値との差が閾値を超えない場合、USBインターフェイスに対して外部機器への給電を制限する指示を出力しない。USB-PD規格では、プリンタは、コネクタを介して接続された外部機器との間でネゴシエーションを行い、ネゴシエーションの結果に基づいて、給電方向と給電する電力の大きさとを設定する。
【先行技術文献】
【特許文献】
【0003】
特開2018-144301号公報
【発明の概要】
【発明が解決しようとする課題】
【0004】
上記従来のプリンタでは、コネクタを介して接続された外部機器との間でネゴシエーションされた結果、意図しない電源の状態(例えば、プリンタにACアダプタが接続されていない状態)で、外部機器への給電が開始される場合がある。
【0005】
本発明の目的は、意図しない電源の状態で、コネクタを介して接続された外部機器への給電が開始されることを従来に比べ確実に抑制することに貢献するプリンタを提供することである。
【課題を解決するための手段】
【0006】
本発明の一態様に係るプリンタは、外部機器が接続されるUSBコネクタと、前記USBコネクタに接続された前記外部機器との間でUSB-PD規格に従ったネゴシエーションを実行するよう構成されたPD回路と、プロセッサとを備え、前記プロセッサは、電源の状態に応じて、前記外部機器に対する前記プリンタのロールをシンクからソースに切り替えるソース設定指示を前記PD回路に出力して、前記外部機器への給電を開始させる給電開始処理を実行する。USB-PD規格では、外部機器に対するプリンタのロールがシンクである場合には、プリンタから外部機器に対して給電が行われることがない。プリンタのプロセッサが実行する給電開始処理は、電源の状態が意図した状態(例えば、プリンタにACアダプタが接続された状態)になったことに応じて、ソース設定指示を出力することで、外部機器への給電を開始させる一方で、意図しない電源の状態ではプリンタのロールをシンクにしておくことにより、意図しない電源の状態(例えば、プリンタにACアダプタが接続されてない状態)で外部機器への給電が開始されることを従来に比べ確実に抑制することに貢献する。
【0007】
本態様に係るプリンタの前記プロセッサは、前記給電開始処理で、前記プリンタとACアダプタとの接続状態がソース設定条件を満たす場合に、前記ソース設定指示を前記PD回路に出力して、前記外部機器への給電を開始させてもよい。この場合、プリンタのプロセッサが実行する給電開始処理は、プリンタとACアダプタとの接続状態に応じて、ソース設定指示を出力することで、プリンタとACアダプタとの接続状態が意図しない状態で、外部機器への給電が開始されることを従来に比べ確実に抑制することに貢献する。
【0008】
本態様に係るプリンタの前記プロセッサは、前記外部機器が前記USBコネクタを介して前記プリンタに接続されている状態で、前記プリンタに前記ACアダプタが接続された場合を、前記ソース設定条件を満たす場合として前記給電開始処理を行ってもよい。外部機器がUSBコネクタを介してプリンタに接続されている状態で、プリンタにACアダプタが接続された場合は、ACアダプタを電源として、プリンタから外部機器に安定して給電できる場合である。プリンタのプロセッサが実行する給電開始処理は、プリンタから外部機器に安定して給電できる場合に自動で、外部機器に対するプリンタのロールをシンクからソースに切り替えて、外部機器への給電を開始させることに貢献する。
【0009】
本態様に係るプリンタの前記プロセッサは、前記プリンタに前記ACアダプタが接続されている状態で、前記外部機器が前記USBコネクタを介し、前記プリンタに接続された場合を、前記ソース設定条件を満たす場合として前記給電開始処理を行ってもよい。プリンタにACアダプタが接続されている状態で、外部機器がUSBコネクタを介してプリンタに接続された場合は、ACアダプタを電源として、プリンタから外部機器に安定して給電できる場合である。プリンタのプロセッサが実行する給電開始処理は、プリンタから外部機器に安定して給電できる場合に自動で、外部機器に対するプリンタのロールをシンクからソースに切り替えて、外部機器への給電を開始させることに貢献する。
【0010】
本態様に係るプリンタは、印刷ヘッドと、媒体を搬送する搬送部とを更に備え、前記プロセッサは、前記印刷ヘッドと前記搬送部とを駆動して、前記媒体に印刷する印刷処理を更に実行し、前記給電開始処理で、前記印刷処理を実行中に、前記プリンタと前記ACアダプタとの前記接続状態が前記ソース設定条件を満たした場合、前記印刷処理が終了した後に、前記ソース設定指示を前記PD回路に出力して、前記外部機器への給電を開始させてもよい。印刷処理を実行中に給電が開始されると、印刷ヘッドに供給される電力が一時的に不安定になり、印刷品質が悪化する可能性がある。プリンタのプロセッサが実行する給電開始処理は、印刷処理を実行中に外部機器に給電が開始されることに起因して印刷品質が悪化することを抑制することに貢献する。
(【0011】以降は省略されています)
この特許をJ-PlatPat(特許庁公式サイト)で参照する
関連特許
ブラザー工業株式会社
印刷装置
1か月前
ブラザー工業株式会社
印刷装置
今日
ブラザー工業株式会社
プリンタ
今日
ブラザー工業株式会社
印刷装置
11日前
ブラザー工業株式会社
電子機器
1か月前
ブラザー工業株式会社
水塗布装置
27日前
ブラザー工業株式会社
水塗布装置
27日前
ブラザー工業株式会社
水塗布装置
27日前
ブラザー工業株式会社
水塗布装置
27日前
ブラザー工業株式会社
液体吐出装置
13日前
ブラザー工業株式会社
画像形成装置
1か月前
ブラザー工業株式会社
液体吐出装置
11日前
ブラザー工業株式会社
画像形成装置
1か月前
ブラザー工業株式会社
液体吐出装置
20日前
ブラザー工業株式会社
画像形成装置
6日前
ブラザー工業株式会社
画像形成装置
1か月前
ブラザー工業株式会社
画像形成装置
1か月前
ブラザー工業株式会社
画像形成装置
1か月前
ブラザー工業株式会社
液体吐出装置
4日前
ブラザー工業株式会社
画像読取装置
今日
ブラザー工業株式会社
液体吐出装置
4日前
ブラザー工業株式会社
液滴吐出ヘッド
13日前
ブラザー工業株式会社
液体吐出ヘッド
今日
ブラザー工業株式会社
シート給送装置
1か月前
ブラザー工業株式会社
液体吐出ヘッド
11日前
ブラザー工業株式会社
サポートプログラム
1か月前
ブラザー工業株式会社
サポートプログラム
1か月前
ブラザー工業株式会社
印刷カセット収納体
5日前
ブラザー工業株式会社
情報処理プログラム
11日前
ブラザー工業株式会社
印刷用カセット収納体
今日
ブラザー工業株式会社
タンクおよび液体吐出装置
11日前
ブラザー工業株式会社
定着装置及び画像形成装置
1か月前
ブラザー工業株式会社
工具搬送装置及び工作機械
4日前
ブラザー工業株式会社
プログラムおよび情報処理装置
11日前
ブラザー工業株式会社
ラベルプリンタおよびプログラム
4日前
ブラザー工業株式会社
ラベルプリンタおよび印刷システム
今日
続きを見る
他の特許を見る