TOP
|
特許
|
意匠
|
商標
特許ウォッチ
Twitter
他の特許を見る
公開番号
2025178925
公報種別
公開特許公報(A)
公開日
2025-12-09
出願番号
2024085803
出願日
2024-05-27
発明の名称
液体吐出ヘッド
出願人
ブラザー工業株式会社
代理人
弁理士法人ATEN
主分類
B41J
2/14 20060101AFI20251202BHJP(印刷;線画機;タイプライター;スタンプ)
要約
【課題】複数の圧力室流路と共通流路との間で液体を循環させることが可能であり、且つダンパーによる圧力変動の吸収が低下するのを抑制する。
【解決手段】ヘッド1は、複数の圧力室流路20と、上下方向D3に重なって配置された上側共通流路12A及び下側共通流路12Bを有する共通流路12とを含む。上側共通流路12Aと下側共通流路12bとの間には、第1ダンパー28Aと第2ダンパー28Bとが設けられている。共通流路12と複数の圧力室流路20との間には、圧力室流路20ごとに、上側共通流路12Aの上方に位置し、上側共通流路12Aから圧力室流路20へインクを供給する供給流路18と、下側共通流路12Bの下方に位置し、圧力室流路20から下側共通流路12Bへインクを戻す循環流路19と、が配置されている。
【選択図】図5
特許請求の範囲
【請求項1】
上下方向に直交する第1方向に配列された複数のノズルと、
前記第1方向に配列され、前記複数のノズルにそれぞれ連通する複数の圧力室流路と、
前記複数の圧力室流路に連通する共通流路と、を備え、
前記共通流路は、上下方向に重なって配置された上側共通流路及び下側共通流路であって、前記第1方向にそれぞれ延び、前記第1方向の両端において互いに連通する上側共通流路及び下側共通流路を有し、
前記上下方向において前記上側共通流路と前記下側共通流路との間には、前記上側共通流路及び前記下側共通流路の少なくとも一方の液体の圧力変動を吸収するダンパーが配置され、
前記共通流路と前記複数の圧力室流路との間には、前記圧力室流路ごとに、前記上側共通流路の上方に位置し、前記上側共通流路から前記圧力室流路へ液体を供給する供給流路と、前記下側共通流路の下方に位置し、前記圧力室流路から前記下側共通流路へ液体を戻す循環流路と、が配置されていることを特徴とする液体吐出ヘッド。
続きを表示(約 1,400 文字)
【請求項2】
前記共通流路における前記第1方向の両端部は、互いに異なる圧力ポンプと連通していることを特徴とする請求項1に記載の液体吐出ヘッド。
【請求項3】
前記上側共通流路は、前記第1方向の一方の端部に配置された液体供給口を有し、
前記上側共通流路と前記下側共通流路とが前記第1方向の一方の端部で互いに連通する一方の連通口が、前記液体供給口と前記上下方向に重なることを特徴とする請求項1に記載の液体吐出ヘッド。
【請求項4】
前記上側共通流路は、前記第1方向の他方の端部に配置された液体排出口を有し、
前記上側共通流路と前記下側共通流路とが前記第1方向の他方の端部で互いに連通する他方の連通口が、前記液体排出口と前記上下方向に重なることを特徴とする請求項1に記載の液体吐出ヘッド。
【請求項5】
前記一方の連通口の開口面積は、前記上側共通流路の前記第1方向に直交する方向の開口面積及び前記下側共通流路の前記直交する方向の開口面積よりも大きいことを特徴とする請求項3に記載の液体吐出ヘッド。
【請求項6】
前記他方の連通口の開口面積は、前記上側共通流路の前記第1方向に直交する方向の開口面積及び前記下側共通流路の前記直交する方向の開口面積よりも大きいことを特徴とする請求項4に記載の液体吐出ヘッド。
【請求項7】
前記上側共通流路の前記第1方向に直交する方向の開口面積と、前記下側共通流路の前記直交する方向の開口面積とが、互いに同じであることを特徴とする請求項1に記載の液体吐出ヘッド。
【請求項8】
複数の前記供給流路及び複数の前記循環流路は、それぞれ前記第1方向に並んでおり、
前記上側共通流路において、前記複数の供給流路のうち最も前記第1方向の他方に配置された供給流路との接続箇所よりも前記第1方向の他方に、前記第1方向に直交する方向の開口面積が最も小さい上側狭隘部が設けられ、
前記下側共通流路において、前記複数の循環流路のうち最も前記第1方向の一方に配置された循環流路との接続箇所よりも前記第1方向の一方に、前記第1方向に直交する方向の開口面積が最も小さい下側狭隘部が設けられていることを特徴とする請求項4に記載の液体吐出ヘッド。
【請求項9】
前記共通流路は、前記上側共通流路及び前記下側共通流路をそれぞれ含む2つの共通流路組であって、前記第1方向と前記上下方向との双方に直交する第2方向に並ぶ2つの共通流路組を有し、
前記2つの共通流路組のうち一方の共通流路組の前記第1方向の一方の端部に液体が供給され、他方の共通流路組の前記第1方向の一方の端部から液体が排出され、
前記共通流路は、前記一方の共通流路組の前記第1方向の他方の端部と前記他方の共通流路組の前記第1方向の他方の端部とを互いに接続する接続流路を有していることを特徴とする請求項1に記載の液体吐出ヘッド。
【請求項10】
前記接続流路は、前記一方の共通流路に含まれる前記上側共通流路及び前記下側共通流路と、前記他方の共通流路に含まれる前記上側共通流路及び前記下側共通流路とを、互いに連通させることを特徴とする請求項9に記載の液体吐出ヘッド。
(【請求項11】以降は省略されています)
発明の詳細な説明
【技術分野】
【0001】
本発明は、液体を吐出する液体吐出ヘッドに関する。
続きを表示(約 2,000 文字)
【背景技術】
【0002】
特許文献1には、複数のノズルにそれぞれ連通する複数の圧力室(圧力室流路)と、複数の圧力室に連通する共通流路とを含む液体吐出ヘッドについて記載されている。この液体吐出ヘッドの共通流路と複数の圧力室との間には、圧力室ごとに、圧力室から共通流路へインクを戻すインク循環流路が配置されている。これにより、各圧力室と共通流路との間でインクを循環させることができる。
【先行技術文献】
【特許文献】
【0003】
特開2008-200902号公報
【発明の概要】
【発明が解決しようとする課題】
【0004】
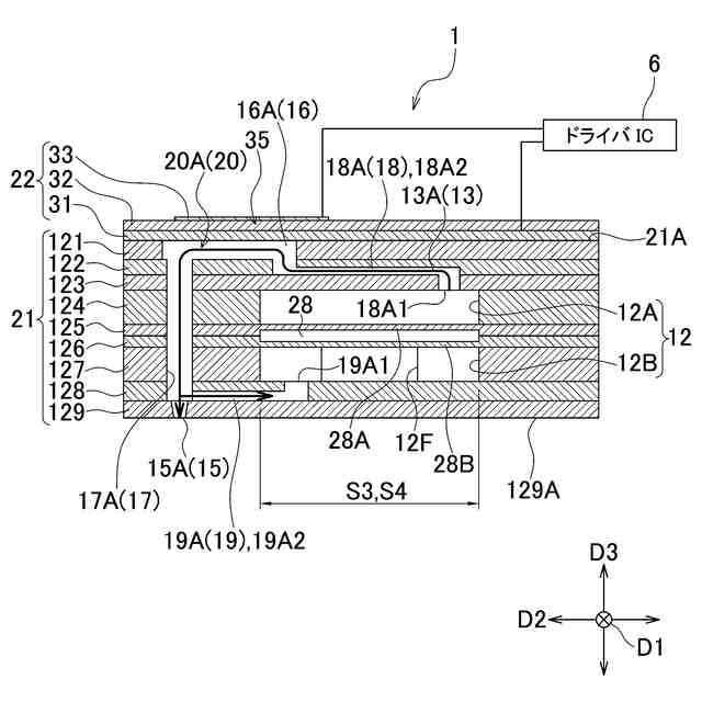
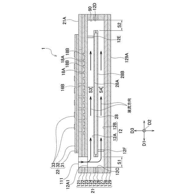
上記特許文献1に記載の液体吐出ヘッドにおいては、インク循環流路のインク循環口が共通流路の底面に開口し、共通流路と圧力室とが連通する。このため、共通流路の底面に、共通流路内のインクの圧力変動を吸収するためのダンパーを設ける場合、ダンパーは、共通流路のインク循環流路と重なる部分を避けて配置する必要が生じる。この結果、ダンパーの可動領域が小さくなり、共通流路内の液体の圧力変動の吸収が低下する。
【0005】
そこで、本発明の目的は、複数の圧力室流路と共通流路との間で液体を循環させることが可能であり、且つダンパーによる圧力変動の吸収が低下するのを抑制することが可能な液体吐出ヘッドを提供することである。
【課題を解決するための手段】
【0006】
本発明の液体吐出ヘッドは、上下方向に直交する第1方向に配列された複数のノズルと、前記第1方向に配列され、前記複数のノズルにそれぞれ連通する複数の圧力室流路と、前記複数の圧力室流路に連通する共通流路と、を備え、前記共通流路は、上下方向に重なって配置された上側共通流路及び下側共通流路であって、前記第1方向にそれぞれ延び、前記第1方向の両端において互いに連通する上側共通流路及び下側共通流路を有し、前記上下方向において前記上側共通流路と前記下側共通流路との間には、前記上側共通流路及び前記下側共通流路の少なくとも一方の液体の圧力変動を吸収するダンパーが配置され、前記共通流路と前記複数の圧力室流路との間には、前記圧力室流路ごとに、前記上側共通流路の上方に位置し、前記上側共通流路から前記圧力室流路へ液体を供給する供給流路と、前記下側共通流路の下方に位置し、前記圧力室流路から前記下側共通流路へ液体を戻す循環流路と、が配置されている。
【発明の効果】
【0007】
本発明の液体吐出ヘッドによると、上側共通流路の液体を各圧力室流路に供給し、各圧力室流路の液体を下側共通流路に戻すことが可能となる。つまり、複数の圧力室流路と共通流路との間で液体を循環させることが可能となる。また、ダンパーが上側共通流路と下側共通流路との間に配置されており、且つ、供給流路が上側共通流路の上方、循環流路が下側共通流路の下方に配置されている。このため、供給流路や循環流路を避けてダンパーを配置する必要がなく、ダンパーの可動領域が制限されないため、ダンパーによる圧力変動の吸収が低下するのを抑制することが可能となる。
【図面の簡単な説明】
【0008】
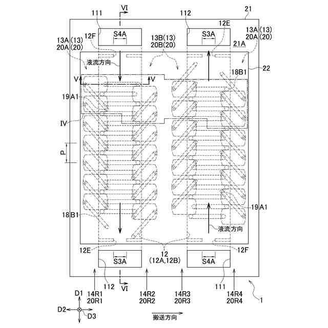
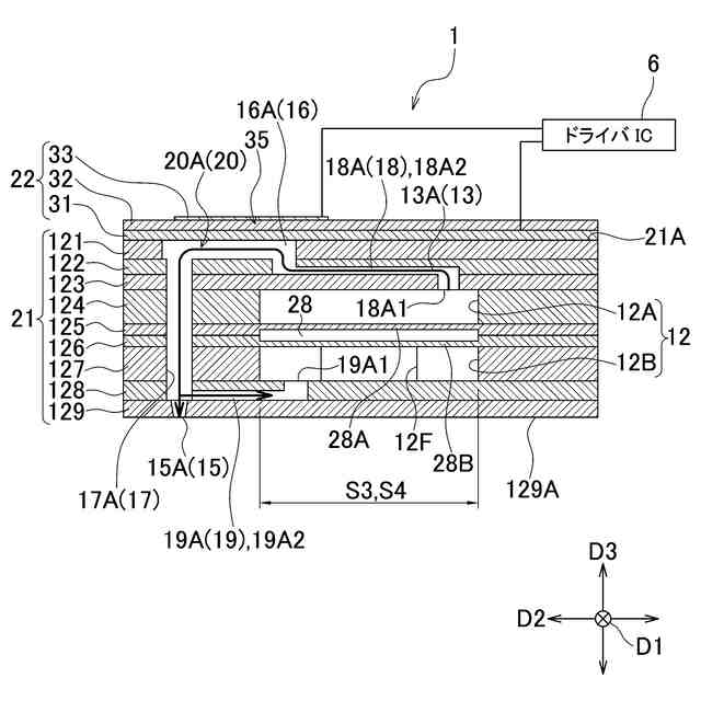
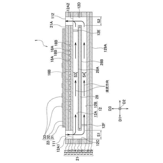
本発明の第1実施形態に係るヘッドを含むプリンタの平面図である。
プリンタの電気的構成を示すブロック図である。
ヘッドの平面図である。
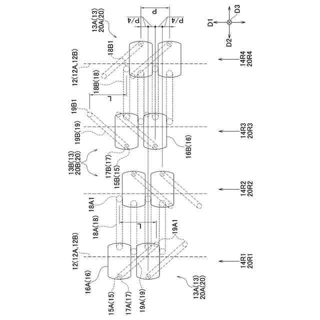
流路部材の上面における図3に示す領域IVの拡大図である。
(a)は図3に示すV-V線に沿ったヘッドの断面図であって個別流路に含まれる循環流路を付加した図である。
図3に示すVI-VI線に沿ったヘッドの断面図である。
本発明の第2実施形態に係るヘッドの平面図である。
図7に示すVIII-VIII線に沿ったヘッドの断面図である。
【発明を実施するための形態】
【0009】
<第1実施形態>
先ず、図1を参照し、本発明の第1実施形態に係るヘッド1を備えたプリンタ100の全体構成について説明する。なお、以下の説明において、第1方向D1及び第2方向D2は、水平方向であり、上下方向D3に直交する。本実施形態における上下方向D3は鉛直方向に沿っているが、鉛直方向及び水平方向に対して交差する上下方向であってもよい。第1方向D1は第2方向D2と直交する。
【0010】
<プリンタの全体構成>
プリンタ100は、筐体100Aと、ヘッドユニット1Xと、プラテン3と、搬送機構4と、制御部5とを備えている。ヘッドユニット1X、プラテン3、搬送機構4及び制御部5は、筐体100A内に配置されている。
(【0011】以降は省略されています)
この特許をJ-PlatPat(特許庁公式サイト)で参照する
関連特許
個人
印鑑
4日前
個人
箔熱転写装置
3か月前
シヤチハタ株式会社
印判
6か月前
東レ株式会社
凸版印刷版原版
12か月前
シヤチハタ株式会社
反転式印判
11か月前
独立行政法人 国立印刷局
印刷物
9か月前
キヤノン株式会社
記録装置
2か月前
三光株式会社
感熱記録材料
8か月前
キヤノン株式会社
電子機器
1か月前
独立行政法人 国立印刷局
貼付機構
3か月前
株式会社リコー
液体吐出装置
6か月前
株式会社リコー
画像形成装置
2か月前
独立行政法人 国立印刷局
貼付装置
3か月前
株式会社リコー
液体吐出装置
3か月前
株式会社リコー
液体吐出装置
9か月前
株式会社リコー
画像形成装置
2か月前
株式会社リコー
印刷システム
2か月前
株式会社リコー
液体吐出装置
7か月前
株式会社リコー
液体吐出装置
6か月前
日本製紙株式会社
感熱記録体
9か月前
株式会社リコー
液体吐出装置
9か月前
独立行政法人 国立印刷局
記録媒体
10か月前
株式会社リコー
液体吐出装置
10か月前
株式会社リコー
画像形成装置
3か月前
株式会社リコー
液体吐出装置
7か月前
ブラザー工業株式会社
プリンタ
9か月前
独立行政法人 国立印刷局
潜像形成体
2か月前
ブラザー工業株式会社
プリンタ
10か月前
ブラザー工業株式会社
プリンタ
6か月前
キヤノン株式会社
印刷制御装置
12か月前
キヤノン株式会社
画像形成装置
10か月前
フジコピアン株式会社
中間転写シート
11か月前
理想科学工業株式会社
印刷装置
8か月前
キヤノン株式会社
画像形成装置
5か月前
キヤノン株式会社
印刷システム
19日前
独立行政法人 国立印刷局
潜像印刷物
3か月前
続きを見る
他の特許を見る