TOP
|
特許
|
意匠
|
商標
特許ウォッチ
Twitter
他の特許を見る
10個以上の画像は省略されています。
公開番号
2025178677
公報種別
公開特許公報(A)
公開日
2025-12-09
出願番号
2024085428
出願日
2024-05-27
発明の名称
印刷用カセット収納体
出願人
ブラザー工業株式会社
代理人
個人
,
個人
主分類
B65D
5/50 20060101AFI20251202BHJP(運搬;包装;貯蔵;薄板状または線条材料の取扱い)
要約
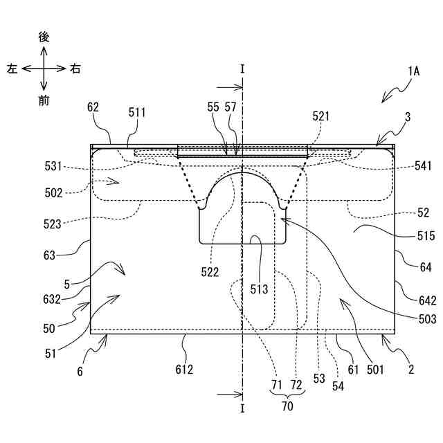
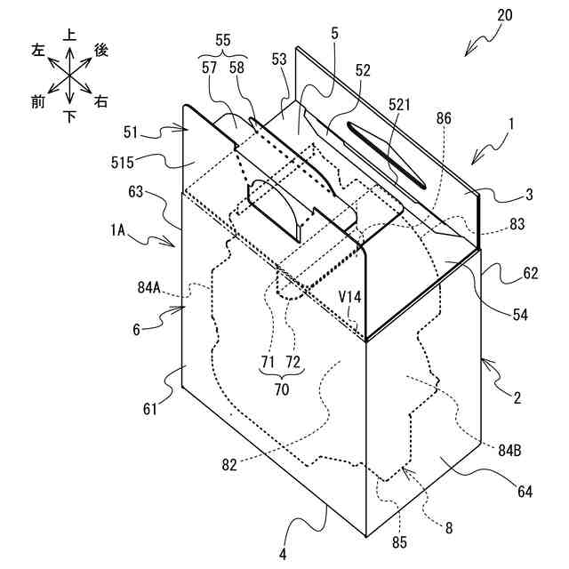
【課題】印刷用カセットと収納箱とが擦れにくくした印刷用カセット収納体を提供する。
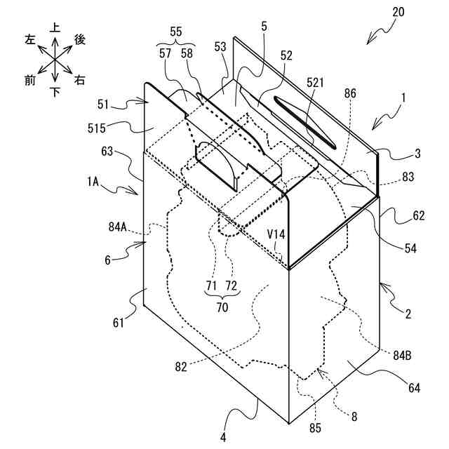
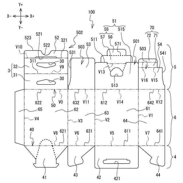
【解決手段】収納箱1Aの右フラップ54は右壁64の上端から左方に延びる。右フラップ54の左端には押し付け部70が設けられ、折り曲げられることによって、天壁5と、収納されるテープカセット8の上壁86との隙間に配置される。押し付け部70は、接続部71と当接部72を有する。接続部71は右フラップ54の左端から下方に延び、テープカセット8の上壁86に接触する。当接部72は接続部71の下端から右方に延びる。接続部71は、天壁5とテープカセット8の上壁86とに接触することで、テープカセット8を底壁4の内面に押し付ける。故に印刷用カセット収納体20は、輸送振動等によって収納箱1Aとテープカセット8とが擦れにくい。
【選択図】図8
特許請求の範囲
【請求項1】
印刷用カセットと、
前記印刷用カセットを収納する収納箱と
を備えた印刷用カセット収納体であって、
前記収納箱は、
前記収納箱の一部が折り曲げられることによって形成され、前記印刷用カセットと接触して前記印刷用カセットを前記収納箱の内面に押し付ける押し付け部を備えること
を特徴とする印刷用カセット収納体。
続きを表示(約 1,700 文字)
【請求項2】
前記印刷用カセットは、
印刷装置による印刷に用いられるテープを収容し、
前記押し付け部は、
前記印刷用カセットの外面のうち、前記テープが露出する露出面とは異なる非露出面と接触して前記印刷用カセットを前記収納箱の内面に押し付けること
を特徴とする請求項1に記載の印刷用カセット収納体。
【請求項3】
前記印刷用カセットは、
印刷装置による印刷に用いられるテープを収容し、
前記押し付け部は、
前記印刷用カセットの外面のうち、前記テープが露出する露出面とは異なる非露出面を前記収納箱の内面に押し付けること
を特徴とする請求項1に記載の印刷用カセット収納体。
【請求項4】
前記押し付け部は、
前記収納箱の内面の一つである第一内面と、前記第一内面に対向する第二内面とが対向する第一方向に延び、前記第一内面と前記印刷用カセットとの隙間に配置され、前記第一方向において前記第二内面に対して前記印刷用カセットを押し付ける第一押し付け部と、
前記第一内面および前記第二内面とは異なる第三内面と、前記第三内面に対向する第四内面とが対向する第二方向に延び、前記第三内面と前記印刷用カセットとの隙間に配置され、前記第二方向において前記第四内面に対して前記印刷用カセットを押し付ける第二押し付け部と、
前記第一内面、前記第二内面、前記第三内面および前記第四内面とは異なる第五内面と、前記第五内面に対向する第六内面とが対向する第三方向に延び、前記第五内面と前記印刷用カセットとの隙間に配置され、前記第三方向において前記第六内面に対して前記印刷用カセットを押し付ける第三押し付け部と
のうち少なくとも2つの部分を有すること
を特徴とする請求項1に記載の印刷用カセット収納体。
【請求項5】
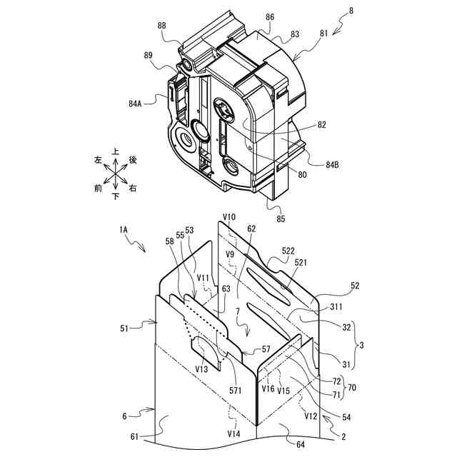
前記押し付け部は、前記収納箱の縁に接続するフラップを折り曲げて形成されること
を特徴とする請求項1に記載の印刷用カセット収納体。
【請求項6】
前記押し付け部は、前記収納箱の外面の一部に形成された切り込み部分を前記収納箱の内部に折り曲げて形成されること
を特徴とする請求項1に記載の印刷用カセット収納体。
【請求項7】
前記押し付け部は、前記収納箱の1つの外面において2カ所以上の部分に形成されること
を特徴とする請求項6に記載の印刷用カセット収納体。
【請求項8】
印刷用カセットと、
前記印刷用カセットを収納する収納箱と、
前記印刷用カセットに装着された装着部材と
を備えた印刷用カセット収納体であって、
前記装着部材は、
前記収納箱の第一内面と接触することにより前記印刷用カセットを前記収納箱の前記第一内面と対向する第二内面に押し付ける押し付け部を備えること
を特徴とする印刷用カセット収納体。
【請求項9】
前記印刷用カセットは、
印刷装置による印刷に用いられるテープと、
前記テープを巻回するスプールと
を収容し、
前記装着部材は、
前記スプールに係合することによって前記印刷用カセットに装着され、
前記押し付け部は、
前記印刷用カセットの外面のうち、前記テープが露出する露出面を覆うこと
を特徴とする請求項8に記載の印刷用カセット収納体。
【請求項10】
前記印刷用カセットは、
印刷装置による印刷に用いられるテープと、
前記テープを巻回するスプールと
を収容し、
前記装着部材は、
前記スプールに係合することによって前記印刷用カセットに装着され、
前記押し付け部は、
前記印刷用カセットの外面のうち、前記テープが露出する露出面とは異なる非露出面を前記収納箱の前記第二内面に押し付けること
を特徴とする請求項8に記載の印刷用カセット収納体。
(【請求項11】以降は省略されています)
発明の詳細な説明
【技術分野】
【0001】
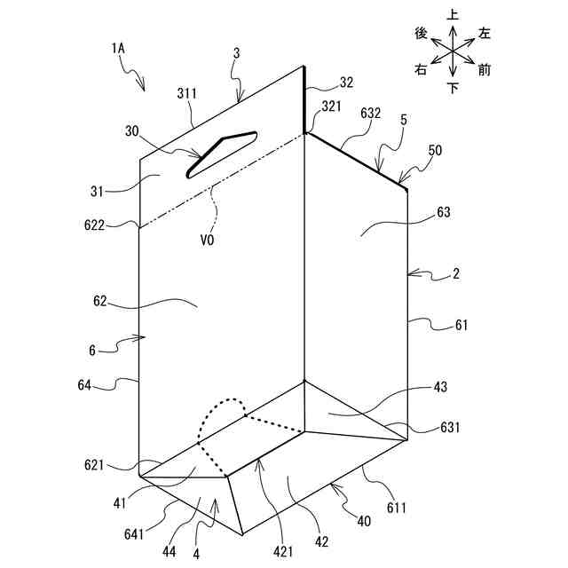
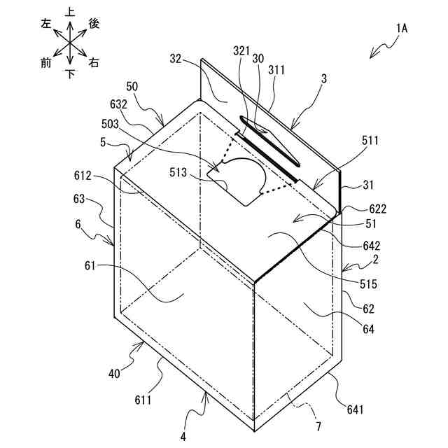
本発明は、印刷用カセット収納体に関する。
続きを表示(約 2,000 文字)
【背景技術】
【0002】
特許文献1には、印刷に用いられるインクが充填され印刷装置に装着されるインクカートリッジを収納する収納箱が開示されている。インクカートリッジは包装袋に入れられて減圧包装された状態で収納箱に収納される。収納箱はインクカートリッジに限らず、様々な収納物を収納するパッケージとしても利用される。
【先行技術文献】
【特許文献】
【0003】
特開2009-208785号公報
【発明の概要】
【発明が解決しようとする課題】
【0004】
近年、SDGs(Sustainable Development Goals:持続可能な開発目標)の観点から、包装袋を用いずに印刷用カセットを収納箱に収納する試みが検討されている。しかしながら、印刷用カセットが収納箱の壁面に擦れると、紙粉が生ずる場合がある。紙粉が付着した印刷用カセットが印刷装置に装着されると、紙粉による印刷結果への影響が生ずる可能性があった。
【0005】
本発明の目的は、印刷用カセットと収納箱とが擦れにくくした印刷用カセット収納体を提供することである。
【課題を解決するための手段】
【0006】
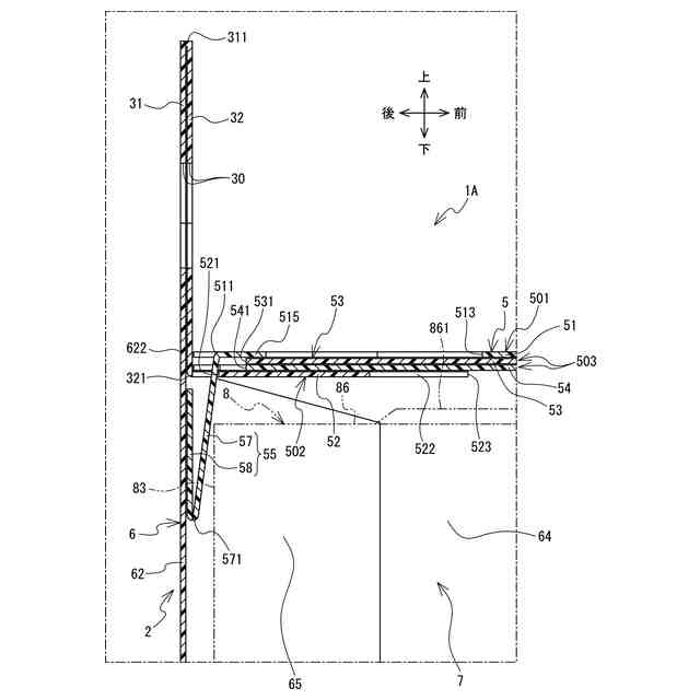
本発明の第一態様によれば、印刷用カセットと、前記印刷用カセットを収納する収納箱とを備えた印刷用カセット収納体であって、前記収納箱は、前記収納箱の一部が折り曲げられることによって形成され、前記印刷用カセットと接触して前記印刷用カセットを前記収納箱の内面に押し付ける押し付け部を備えることを特徴とする印刷用カセット収納体が提供される。押し付け部は、印刷用カセットを収納箱の内面に押し付ける。よって印刷用カセット収納体は、印刷用カセットと収納箱との隙間をなくすことにより、輸送振動等によって収納箱と印刷用カセットとを擦れにくくし、紙粉の発生を抑制することができる。また、押し付け部は収納箱の一部分であり、別部品ではないので、収納箱の生産コストを抑制することができる。
【0007】
第一態様において、前記印刷用カセットは、印刷装置による印刷に用いられるテープを収容し、前記押し付け部は、前記印刷用カセットの外面のうち、前記テープが露出する露出面とは異なる非露出面と接触して前記印刷用カセットを前記収納箱の内面に押し付けてもよい。押し付け部は露出面に接触しないので、テープに接触しない。よって印刷用カセット収納体は、輸送振動等によるテープの損傷を防止できる。
【0008】
第一態様において、前記印刷用カセットは、印刷装置による印刷に用いられるテープを収容し、前記押し付け部は、前記印刷用カセットの外面のうち、前記テープが露出する露出面とは異なる非露出面を前記収納箱の内面に押し付けてもよい。押し付け部は、収納箱の内面に印刷用カセットの非露出面を押し付ける。よって印刷用カセット収納体は、輸送振動等によるテープの損傷を防止できる。
【0009】
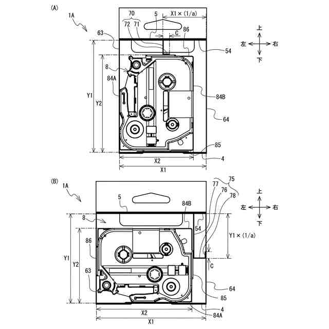
第一態様において、前記押し付け部は、前記収納箱の内面の一つである第一内面と、前記第一内面に対向する第二内面とが対向する第一方向に延び、前記第一内面と前記印刷用カセットとの隙間に配置され、前記第一方向において前記第二内面に対して前記印刷用カセットを押し付ける第一押し付け部と、前記第一内面および前記第二内面とは異なる第三内面と、前記第三内面に対向する第四内面とが対向する第二方向に延び、前記第三内面と前記印刷用カセットとの隙間に配置され、前記第二方向において前記第四内面に対して前記印刷用カセットを押し付ける第二押し付け部と、前記第一内面、前記第二内面、前記第三内面および前記第四内面とは異なる第五内面と、前記第五内面に対向する第六内面とが対向する第三方向に延び、前記第五内面と前記印刷用カセットとの隙間に配置され、前記第三方向において前記第六内面に対して前記印刷用カセットを押し付ける第三押し付け部とのうち少なくとも2つの部分を有してもよい。押し付け部は、印刷用カセットを2方向以上において収納箱の内面に押し付けるので、輸送振動等によって収納箱と印刷用カセットとを擦れにくくし、紙粉の発生を抑制することができる。
【0010】
第一態様において、前記押し付け部は、前記収納箱の縁に接続するフラップを折り曲げて形成されてもよい。押し付け部は収納箱のフラップを折り曲げて形成する。収納箱の外面に例えばU字状の切り込み部分を形成して内部に折り返す場合と比べ、収納箱に穴等が形成されずに済む。また、フラップの印刷用カセットに当接する部分を更に折り曲げて印刷用カセットに対して面当てすることで、印刷用カセットをより確実に押し付けることができる。
(【0011】以降は省略されています)
この特許をJ-PlatPat(特許庁公式サイト)で参照する
関連特許
個人
束ね具
29日前
個人
テープ引出機
29日前
個人
包装容器
2か月前
個人
棒状体収容容器
1か月前
株式会社和気
包装用箱
1か月前
株式会社バンダイ
物品
2か月前
三甲株式会社
容器
3か月前
株式会社ナベル
検査装置
1か月前
三甲株式会社
容器
1か月前
個人
ブリスタ包装体
3か月前
個人
計量キャップ付き容器
20日前
三甲株式会社
運搬具
21日前
三甲株式会社
運搬具
1か月前
個人
容器
3か月前
個人
異常検知式部品供給装置
3か月前
株式会社トーモク
包装箱
3か月前
株式会社三和
包装用容器
1か月前
株式会社カネカ
積層装置
2か月前
三甲株式会社
容器
3か月前
三甲株式会社
容器
3か月前
株式会社高木包装
搬送箱
2か月前
個人
Uターン押出収納器
14日前
三甲株式会社
容器
12日前
村田機械株式会社
搬送車
26日前
株式会社トーモク
包装箱
2か月前
新輝合成株式会社
くず入れ
2か月前
伊東電機株式会社
搬送装置
2か月前
朝日印刷株式会社
包装用箱
20日前
伊東電機株式会社
搬送装置
6日前
花王株式会社
組立体
2か月前
個人
袋体の自立保持シート
2か月前
伊東電機株式会社
搬送装置
2か月前
靜甲株式会社
容器整列装置
3か月前
靜甲株式会社
容器搬送装置
3か月前
伊東電機株式会社
搬送装置
1か月前
三甲株式会社
緩衝材
1か月前
続きを見る
他の特許を見る