TOP
|
特許
|
意匠
|
商標
特許ウォッチ
Twitter
他の特許を見る
公開番号
2025178994
公報種別
公開特許公報(A)
公開日
2025-12-09
出願番号
2024129584,2024085415
出願日
2024-08-06,2024-05-27
発明の名称
サウナハット
出願人
合同会社シーワイズ
代理人
弁理士法人エピファニー特許事務所
主分類
A42B
1/22 20060101AFI20251202BHJP(頭部に着用するもの)
要約
【課題】
使用者の頭部にフィットするサウナハットを提供することである。
【解決手段】サウナハットは、タオル生地を筒状にして形成された筒体と、筒体の一方の端部であり開口が形成された第1端部の周長を調節可能に構成された調節部と、を備え、調節部は、連結要素と、連結要素が係合する受容要素と、を備え、連結要素と受容要素とは、着脱可能に係合し、筒体の周方向において係合する位置を変更することにより、第1端部の周長を調節し、かつ、調節された第1端部の周長を係合により保持し、筒体の他方の端部である第2端部は、開口が形成されており、開口を一周するように通された紐により拡縮可能に構成されているものである。
【選択図】図1
特許請求の範囲
【請求項1】
タオル生地を筒状に形成した筒体と、
前記筒体の一方の端部に開口が形成された第1端部の周長を調節可能に構成された調節部と、を備え、
前記調節部は、
連結要素と、前記連結要素が係合する受容要素と、を備え、
前記連結要素と前記受容要素とは、
着脱可能に係合し、前記筒体の周方向において係合する位置を変更することにより、前記第1端部の周長を調節し、かつ、調節された前記第1端部の周長を係合により保持し、
前記筒体の他方の端部である第2端部は、
開口が形成されており、
開口を一周するように通された紐により拡縮可能に構成されている、
サウナハット。
続きを表示(約 1,000 文字)
【請求項2】
請求項1に記載のサウナハットであって、
前記第2端部は、
前記第1端部との間に形成された中間部を形成するタオル生地の延長部分が折り返されて二重に重ねられた紐用二重構造部と、
前記紐用二重構造部の二重のタオル生地の内側の隙間と外部とを連通する紐用スリットと、を備え、
前記紐は、
前記紐用二重構造部に挿通され、前記紐用スリットから端部が引き出されている、
サウナハット。
【請求項3】
請求項2に記載のサウナハットであって、
前記紐の端部は、
コードストッパーが取り付けられている、
サウナハット。
【請求項4】
請求項1~3の何れか1項に記載のサウナハットであって、
前記連結要素及び前記受容要素のうち何れか一方は、
前記筒体の外面側に突出して配置された帯状の構造体に設置され、
前記筒体に設置された他方と係合して前記筒体の外面に固定される、
サウナハット。
【請求項5】
請求項1~3の何れか1項に記載のサウナハットであって、
前記調節部として前記第1端部を一周するように通された帯を備え、
前記第1端部は、
前記第2端部との間に形成された中間部を形成するタオル生地の延長部分が折り返されて二重に重ねられた二重構造部と、
前記二重構造部の二重のタオル生地の内側の隙間と外部とを連通するスリットと、を備え、
前記帯は、
前記二重構造部の二重のタオル生地の内側の隙間内を移動可能に配置された中央部と、
一方の端部であり前記筒体に固定された固定側端部と、
前記スリットから前記筒体の外面側に引き出されている自由側端部と、を備え、
前記自由側端部は、
前記連結要素又は前記受容要素が設けられている、
サウナハット。
【請求項6】
請求項1~3の何れか1項に記載のサウナハットであって、
前記筒体は、
パイルを備え、JIS-L1907に規定される沈降法において5秒以内となるタオル生地から構成された、
サウナハット。
【請求項7】
請求項6に記載のサウナハットであって、
前記筒体は、
バスケット法(大丸法)による吸水性評価において1分以内となるタオル生地から構成された、
サウナハット。
発明の詳細な説明
【技術分野】
【0001】
本発明は、タオル生地で構成されたサウナハットに関する。
続きを表示(約 1,900 文字)
【背景技術】
【0002】
従来、この種の発明には、例えば特許文献1に記載されるように、使用者の頭部に被せるようにした保護帽子がある。このような従来技術によれば、サウナ入浴時の高温な周囲熱や放射熱により、髪の毛や頭部の皮膚がダメージを受けるのを軽減することができる。(例えば特許文献1参照)。
【0003】
特許文献1に開示されている保護帽子では、使用者の頭に被せるように形成された帽子部を備えている。保護帽子は、帽子部が有底筒状に構成されており、帽子部の底部が使用者の頭頂側に、帽子部の開口部が顔面側に位置するようにして用いられる。このような保護帽子は、帽子部の開口側が使用者の頭の周長よりも大きく設定されており、様々な使用者の頭の大きさに対応して被れるように構成されている。また、帽子部は、開口部から底部に至るまでの長さが、保護帽子を被った状態で使用者の顔面が露出する程度の寸法で構成されている。
【先行技術文献】
【特許文献】
【0004】
特開2022-116854号公報
【発明の概要】
【発明が解決しようとする課題】
【0005】
しかし、特許文献1に開示されている保護帽子は、帽子部の開口部が頭部の周長よりも大きく設定されているため、使用者の頭部にフィットしにくい、という課題があった。また、特許文献1に開示されている保護帽子は、帽子部の上端が常に閉塞した構造であるため、髪をまとめにくい、という課題があった。
【0006】
本発明の課題は、使用者の頭部にフィットし髪がまとめやすいサウナハットを提供することである。
【課題を解決するための手段】
【0007】
本発明に係るサウナハットは、タオル生地を筒状に形成した筒体と、前記筒体の一方の端部に開口が形成された第1端部の周長を調節可能に構成された調節部と、を備え、前記調節部は、連結要素と、前記連結要素が係合する受容要素と、を備え、前記連結要素と前記受容要素とは、着脱可能に係合し、前記筒体の周方向において係合する位置を変更することにより、前記第1端部の周長を調節し、かつ、調節された前記第1端部の周長を係合により保持し、前記筒体の他方の端部である第2端部は、開口が形成されており、開口を一周するように通された紐により拡縮可能に構成されているものである。
【発明の効果】
【0008】
上記の手段によれば、第1端部の周長を調節部により調整でき、サウナにおいてサウナハットの内部の湿潤した環境を保持できる。また、サウナハットの筒体がタオル地で構成されており、水分を十分に含むことができるため、サウナハットの内部は、タオル地からの水分により湿潤状態を長く保つ事ができる。また、上記のサウナハットは、第2端部が開口されており、第1端部から第2端部まで頭髪及び頭部を挿入し通過させたあとに頭部の適正な位置まで引き上げるようにして装着することにより、頭髪を頭頂付近でまとめやすい。つまり、第1端部が頭部の周囲に配置された後(図6に示す位置)に、開口となっている第2端部から一旦筒体を通過させた頭髪を筒体の内部に納め、紐により第2端部を収縮させることにより、頭髪がサウナハットの内部に納まる。上記のサウナハットは、特に、頭髪が長いユーザーにとって使いやすい。
【図面の簡単な説明】
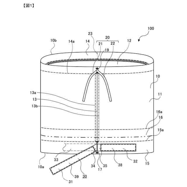
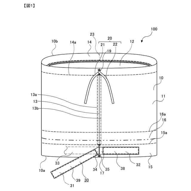
【0009】
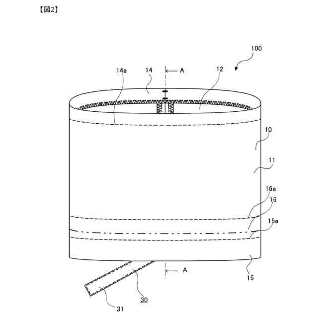
実施の形態1に係る温浴帽100の背面側から見た斜視図である。
実施の形態1に係る温浴帽100の正面側から見た斜視図である。
図1及び図2に示された温浴帽100を裏返した状態を示している。
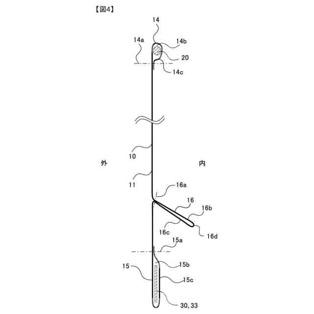
実施の形態1に係る温浴帽100の断面構造の模式図である。
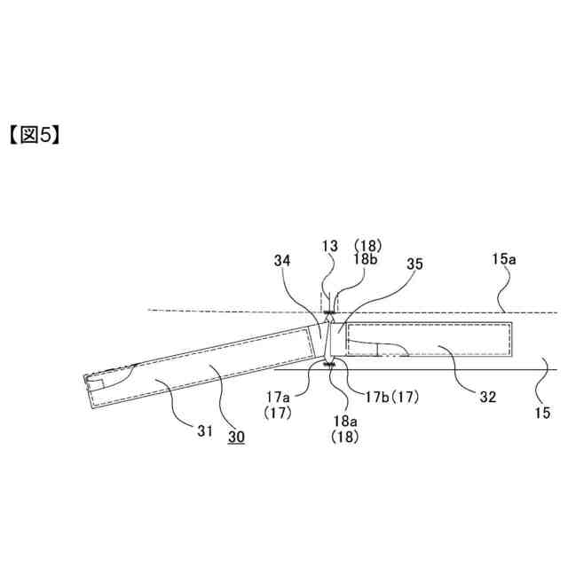
実施の形態1に係る温浴帽100の第1端部15のスリット17周辺の拡大図である。
実施の形態1に係る温浴帽100を着用した状態の一例である。
実施の形態1に係る温浴帽100のタオル生地90の断面構造の一例である。
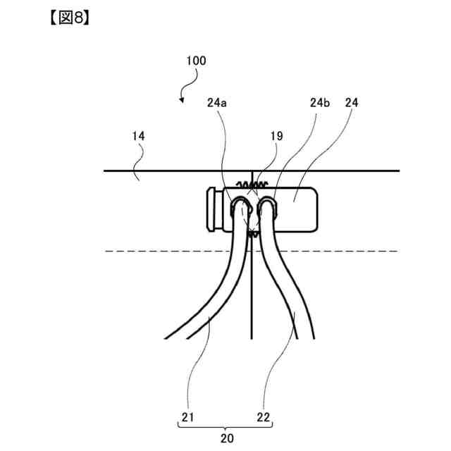
実施の形態1に係る温浴帽100の変形例の第2端部14のスリット19周辺の拡大図である。
【発明を実施するための形態】
【0010】
以下に、本発明の好ましい実施の形態が図面を参照して詳しく説明されている。なお、以下に述べる実施の形態は、本発明の好適な具体例であるから、技術的に好ましい種々の限定が付されているが、本発明の範囲は、以下の説明において特に本発明を限定する旨の記載がない限り、これらの態様に限られるものではない。
(【0011】以降は省略されています)
この特許をJ-PlatPat(特許庁公式サイト)で参照する
関連特許
個人
帽子
6か月前
個人
フレーム
10か月前
個人
瞬間日陰
7か月前
個人
頭部装着具
8か月前
個人
通気性帽子
12か月前
個人
雨除け帽子
11か月前
個人
頭部保護具
1か月前
個人
かぶり物
10か月前
個人
熱中症対策帽子
6か月前
個人
肩車補助ヘルメット
25日前
株式会社TAT
冷却具
9か月前
株式会社K設計
サウナハット
10か月前
個人
制振機能を有する疲労軽減ヘルメット
7か月前
株式会社スペースシーファイブ
帽子
6か月前
有限会社トラッド
冷却装置付きヘルメット
5か月前
有限会社トップエンタープライズ
帽子
3か月前
東洋物産工業株式会社
分割ヘルメット
5か月前
株式会社トーヨーセーフティ
ヘルメット
3か月前
パイオニア株式会社
通信装置
2か月前
パイオニア株式会社
通信装置
2か月前
ミドリ安全株式会社
インナーキャップ
6か月前
株式会社イエロー
頭部保護具用内装材
6か月前
ミドリ安全株式会社
帽体、ヘルメット
8か月前
個人
スマートあご紐を有するヘルメット
3か月前
個人
圧縮収納できるレインコートを付けたヘルメット
1か月前
株式会社日曜発明ギャラリー
帽子等に用いる冷却構造
5か月前
ミドリ安全株式会社
保護帽
8か月前
ミドリ安全株式会社
保護帽
9か月前
株式会社ダイセル
保護装置
3か月前
株式会社サンロード
帽子
12か月前
補装具工房スタンス株式会社
頭蓋形状誘導ヘルメット
6か月前
株式会社谷沢製作所
ヘルメット
4か月前
株式会社谷沢製作所
ヘルメット
4か月前
パイオニア株式会社
通信装置、ヘルメット
2か月前
株式会社セフト研究所
スペーサ及びスペーサ付帽子
10か月前
株式会社オリエンタルミラクル
帯体および帯体の製造方法
6か月前
続きを見る
他の特許を見る