TOP
|
特許
|
意匠
|
商標
特許ウォッチ
Twitter
他の特許を見る
10個以上の画像は省略されています。
公開番号
2025178933
公報種別
公開特許公報(A)
公開日
2025-12-09
出願番号
2024085811
出願日
2024-05-27
発明の名称
スクラップ検品装置、スクラップ検品方法及びプログラム
出願人
日本製鉄株式会社
代理人
弁理士法人鷲田国際特許事務所
主分類
G06T
7/00 20170101AFI20251202BHJP(計算;計数)
要約
【課題】検出対象の異物にダストや被覆などがあった場合でも、機械学習モデルを利用してスクラップにおける異物を検出することが可能な異物検出技術を提供することである。
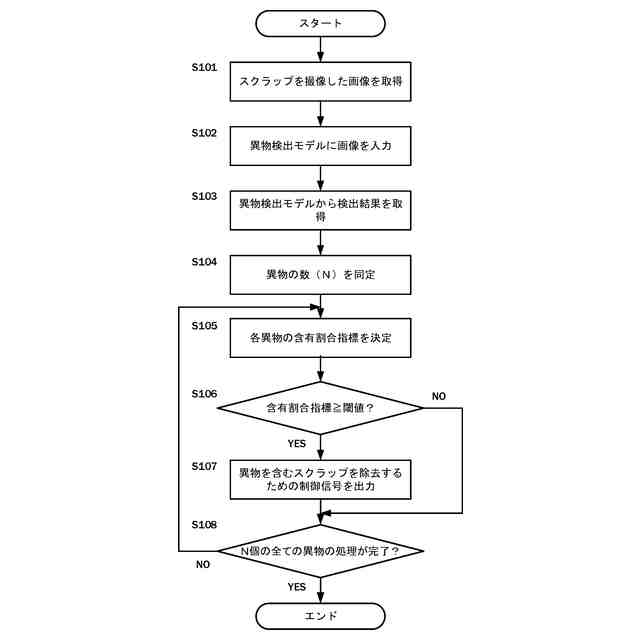
【解決手段】本開示の一態様は、スクラップを撮像した画像を取得する取得部と、機械学習モデルを利用して、前記画像から前記スクラップの存在領域に対する異物の存在領域の割合を示す検出結果を取得する検出部と、前記検出結果に基づいて前記スクラップにおける前記異物の含有割合指標を決定し、前記含有割合指標に応じて前記スクラップを選別する選別部と、を有する、スクラップ検品装置に関する。
【選択図】図7
特許請求の範囲
【請求項1】
スクラップを撮像した画像を取得する取得部と、
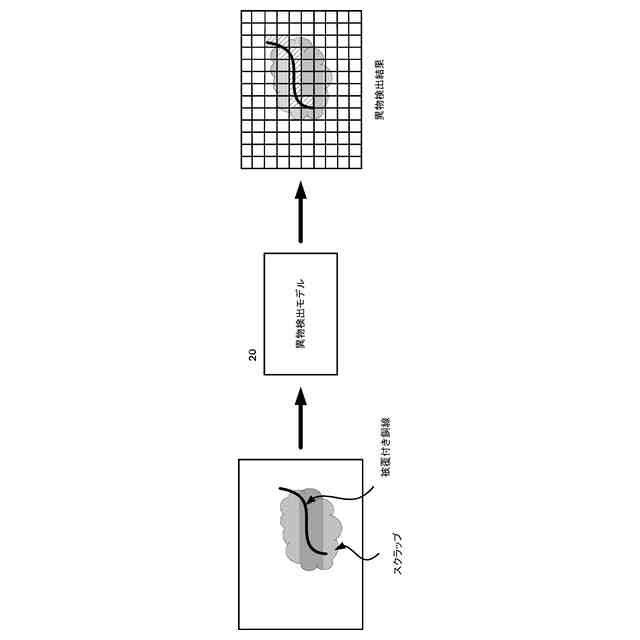
機械学習モデルを利用して、前記画像から前記スクラップにおける異物の検出結果を取得する検出部と、
前記検出結果に基づいて前記スクラップの存在領域に対する前記異物の存在領域の割合を示す含有割合指標を決定し、前記含有割合指標に応じて前記スクラップを選別する選別部と、
を有する、スクラップ検品装置。
続きを表示(約 1,000 文字)
【請求項2】
前記選別部は、前記含有割合指標が所定の閾値以上である場合、前記スクラップを除去することを決定する、請求項1に記載のスクラップ検品装置。
【請求項3】
前記選別部は、前記検出結果に基づいて搬送装置上の前記スクラップの位置を特定し、前記位置に対応してスクラップ除去装置を動作させる、請求項1に記載のスクラップ検品装置。
【請求項4】
前記機械学習モデルは、前記画像を細分化した所定の画像領域毎に、前記画像領域と前記画像領域の周辺領域とに基づいて前記異物の有無を判定する、請求項1に記載のスクラップ検品装置。
【請求項5】
前記機械学習モデルは、セルフアテンション機構を含む、請求項4に記載のスクラップ検品装置。
【請求項6】
前記機械学習モデルは、前記画像領域における撮像内容に応じて前記周辺領域を決定する、請求項5に記載のスクラップ検品装置。
【請求項7】
前記取得部は、前記スクラップの高さ情報をさらに取得し、
前記選別部は、前記スクラップにおける異物の検出結果と前記高さ情報とに基づいて前記スクラップにおける前記異物の含有割合指標を決定する、請求項1に記載のスクラップ検品装置。
【請求項8】
前記異物は、被覆付き銅線又は変色した銅線を含む、請求項1に記載のスクラップ検品装置。
【請求項9】
スクラップを撮像した画像を取得することと、
機械学習モデルを利用して、前記画像から前記スクラップにおける異物の検出結果を取得することと、
前記検出結果に基づいて前記スクラップの存在領域に対する前記異物の存在領域の割合を示す含有割合指標を決定し、前記含有割合指標に応じて前記スクラップを選別することと、
を有する、コンピュータが実行するスクラップ検品方法。
【請求項10】
スクラップを撮像した画像を取得することと、
機械学習モデルを利用して、前記画像から前記スクラップにおける異物の検出結果を取得することと、
前記検出結果に基づいて前記スクラップの存在領域に対する前記異物の存在領域の割合を示す含有割合指標を決定し、前記含有割合指標に応じて前記スクラップを選別することと、
をコンピュータに実行させる、プログラム。
発明の詳細な説明
【技術分野】
【0001】
本開示は、スクラップ検品装置、スクラップ検品方法及びプログラムに関する。
続きを表示(約 1,600 文字)
【背景技術】
【0002】
省CO
2
に対する世界的な関心が高まる中、鉄鋼業においては鉄のリサイクルに目が向けられており、スクラップの国内流通量の増加が予想されている。スクラップを高級鋼に利用するにあたっては、熱間加工時に割れを誘起するトランプエレメント(Cuなど)の低減が必要である。
【0003】
鉄製品のスクラップからCuなどの非鉄分を除去する方法として、従来から廃棄自動車などの鉄製品のスクラップを破砕処理することによって、鉄とその他の不純物とに選別する破砕システムがある。例えば、非特許文献1には、円筒状のローラの円周状に取り付けられたハンマーを円筒回転に伴う力によって鉄製品を破砕する破砕機と、軽量不純物を除去するための風力選別機と、磁力の力で非鉄金属を分離する磁力選別機とを備えた破砕システムが開示されている。
【0004】
一方、このような破砕機によって破砕された鉄スクラップ片には、鉄と銅(Cu)とが絡みついたものもあるため、鉄の磁性によってドラムに吸着され、銅が混入されたまま製鉄原料になってしまう課題がある。このため、鉄スクラップ片から銅分を多く含むものを除去する技術が求められている。特許文献1には、鉄スクラップ群のカラー画像を撮像し、カラー画像の輝度(I)信号から当該カラー画像内の個々のスクラップを個体認識し、当該カラー画像の色相角度(H)信号と彩度(S)信号とから各画素が銅であるか否かを判別するとともに、各スクラップ中の銅面積、すなわち、銅と判別された画素数を求める。そして、各スクラップの銅面積SCuと各スクラップの総面積Stとの比R=SCu/Stから、銅含有スクラップであるか否かを識別することによって銅を検知し、検知した銅を除去する技術が開示される。
【0005】
また、特許文献2には、搬送装置上で搬送されるスクラップから検知された銅を、例えば、ロボットやエアーなどによって除去することが開示されている。
【先行技術文献】
【特許文献】
【0006】
特開平07-280747号公報
特開2022-91278号公報
【非特許文献】
【0007】
“鉄・非鉄 スクラップ再生”[令和5年12月27日検索](http://www.fuji-metal.com/scrap)
【発明の概要】
【発明が解決しようとする課題】
【0008】
しかしながら、銅線は樹脂で被覆されたものが多く存在し、樹脂の色も白、黒、赤、青、緑などと多様であり、金属がむき出した状態で存在することを前提とし、色相角度(H)信号と彩度(S)信号とを利用して銅線を検知する特許文献1による検知技術では十分な検知ができない可能性がある。また、樹脂だけでなく、スクラップに混じるダストや汚れの影響によって、銅線自体の色がくすむこともあり、検知精度が低下する課題もある。
【0009】
上記課題を鑑み、本開示の課題は、検出対象の異物にダストや被覆などがあった場合でも、機械学習モデルを利用してスクラップにおける異物を検出することが可能な異物検出技術を提供することである。
【課題を解決するための手段】
【0010】
本開示の一態様は、スクラップを撮像した画像を取得する取得部と、機械学習モデルを利用して、前記画像から前記スクラップにおける異物の検出結果を取得する検出部と、前記検出結果に基づいて前記スクラップの存在領域に対する前記異物の存在領域の割合を示す含有割合指標を決定し、前記含有割合指標に応じて前記スクラップを選別する選別部と、を有する、スクラップ検品装置に関する。
【発明の効果】
(【0011】以降は省略されています)
この特許をJ-PlatPat(特許庁公式サイト)で参照する
関連特許
日本製鉄株式会社
棒鋼
20日前
日本製鉄株式会社
棒鋼
20日前
日本製鉄株式会社
線材
1か月前
日本製鉄株式会社
鋳片
12日前
日本製鉄株式会社
鋼部品
20日前
日本製鉄株式会社
耐力壁
5日前
日本製鉄株式会社
歯車装置
6日前
日本製鉄株式会社
溶接継手
26日前
日本製鉄株式会社
溶接継手
1か月前
日本製鉄株式会社
橋脚構造
2か月前
日本製鉄株式会社
腐食センサ
2か月前
日本製鉄株式会社
鍛鋼ロール
2か月前
日本製鉄株式会社
鍛鋼ロール
2か月前
日本製鉄株式会社
高Ni合金鋼
2か月前
日本製鉄株式会社
高Ni合金鋼
2か月前
日本製鉄株式会社
表面処理鋼材
12日前
日本製鉄株式会社
管理システム
2か月前
日本製鉄株式会社
機械構造用部品
21日前
日本製鉄株式会社
溶鉄の製造方法
1か月前
日本製鉄株式会社
溶鉄の製造方法
1か月前
日本製鉄株式会社
原油油槽用鋼材
1か月前
日本製鉄株式会社
鉄道車両用の車軸
1か月前
日本製鉄株式会社
焼結鉱の製造方法
2か月前
日本製鉄株式会社
金属材の製造方法
2か月前
日本製鉄株式会社
鋼矢板の製造方法
2か月前
日本製鉄株式会社
鋼の連続鋳造方法
2か月前
日本製鉄株式会社
鋼の連続鋳造方法
20日前
日本製鉄株式会社
焼結鉱の製造方法
1か月前
日本製鉄株式会社
鉄鉱石の選別方法
2か月前
日本製鉄株式会社
モールドパウダー
2か月前
日本製鉄株式会社
スラグの処理方法
2か月前
日本製鉄株式会社
焼結鉱の製造方法
1か月前
日本製鉄株式会社
鉄鉱石の選別方法
1か月前
日本製鉄株式会社
金属部品の製造方法
2か月前
日本製鉄株式会社
溶鋼の脱窒処理方法
2か月前
日本製鉄株式会社
鉄道車両用の台車枠
1か月前
続きを見る
他の特許を見る