TOP
|
特許
|
意匠
|
商標
特許ウォッチ
Twitter
他の特許を見る
10個以上の画像は省略されています。
公開番号
2025176574
公報種別
公開特許公報(A)
公開日
2025-12-04
出願番号
2024082819
出願日
2024-05-21
発明の名称
歯車装置
出願人
日本製鉄株式会社
代理人
アセンド弁理士法人
主分類
F16H
57/04 20100101AFI20251127BHJP(機械要素または単位;機械または装置の効果的機能を生じ維持するための一般的手段)
要約
【課題】潤滑油を増加することなく軸受の摩耗を抑制することのできる鉄道車両用の歯車装置を提供する。
【解決手段】歯車装置(10)は、大歯車(11)と、小歯車(12)と、歯車箱(13)と、蓋(14)とを備える。大歯車(11)は、一対の第1歯車(111a,111b)と、第1溝(112)とを含む。小歯車(12)は、一対の第2歯車(121a,121b)と、第2溝(122)とを含む。一対の第2歯車(121a,121b)は、それぞれ第1歯車(111a,111b)とかみ合う。歯車箱(13)は、大歯車(11)及び小歯車(12)を収容する。蓋(14)は、歯車箱(13)の開口を閉塞する。蓋(14)の内面(141)は、第1領域(20)を含む。第1領域(20)は、大歯車(11)の軸方向に垂直な断面視で大歯車(11)に沿った形状を有する。第1領域(20)には、第1溝(112)に対向するリブ(21)が設けられる。
【選択図】図2
特許請求の範囲
【請求項1】
鉄道車両用の歯車装置であって、
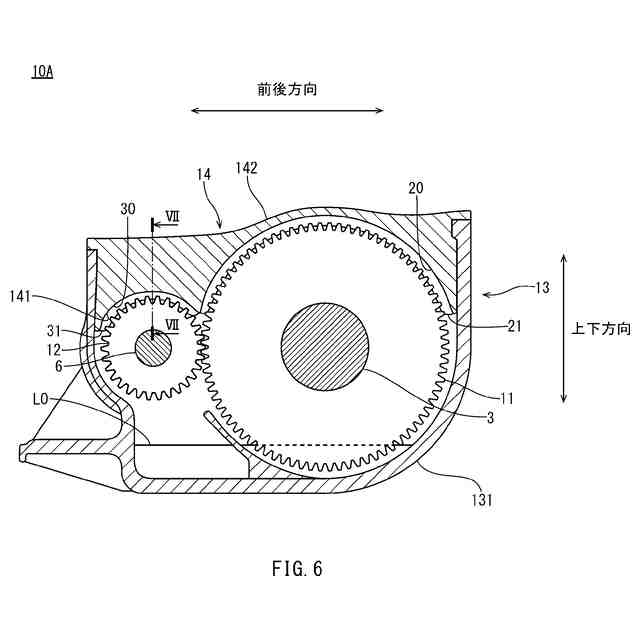
車軸に接続される大歯車であって、それぞれ複数の歯筋を有する一対の第1歯車と、前記一対の第1歯車の間に設けられる第1溝と、を含み、前記一対の第1歯車の一方における前記歯筋及び前記一対の第1歯車の他方における前記歯筋は、前記大歯車の軸方向に対して互いに逆向きに傾斜する前記大歯車と、
小歯車軸に接続される小歯車であって、それぞれ複数の歯筋を有し、前記一対の第1歯車とかみ合う一対の第2歯車と、前記一対の第2歯車の間に設けられる第2溝と、を含み、前記一対の第2歯車の一方における前記歯筋及び前記一対の第2歯車の他方における前記歯筋は、前記軸方向に対して互いに逆向きに傾斜する前記小歯車と、
前記大歯車及び前記小歯車を収容し、上部に開口を有する歯車箱と、
前記開口を閉塞する蓋と、を備え、
前記歯車箱の底部は、前記大歯車の少なくとも一部が浸漬するように潤滑油を貯留可能であり、
前記蓋の内面は、前記軸方向に垂直な断面視で前記大歯車に沿った形状を有し、前記第1溝に対向するリブが設けられる第1領域を含む、歯車装置。
続きを表示(約 110 文字)
【請求項2】
請求項1に記載の歯車装置であって、
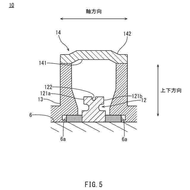
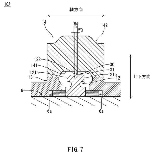
前記蓋の前記内面は、さらに、前記軸方向に垂直な断面視で前記小歯車に沿った形状を有し、前記第2溝に対向するリブが設けられる第2領域を含む、歯車装置。
発明の詳細な説明
【技術分野】
【0001】
本開示は、鉄道車両用の歯車装置に関する。
続きを表示(約 1,800 文字)
【背景技術】
【0002】
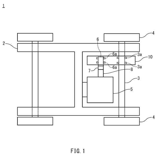
鉄道車両では、モータの動力が車軸に伝達され、車軸とともに車輪が回転する。これにより、鉄道車両がレール上を走行する。車軸に動力を伝達するために、歯車装置が用いられる。歯車装置は、大歯車及び小歯車を備える。大歯車は、車軸に接続される。小歯車は、小歯車軸に接続される。小歯車軸は、例えば継手を介してモータの駆動軸に接続される。
【0003】
大歯車及び小歯車は、歯車箱に収容される。車軸及び小歯車軸は、それぞれ軸受によって回転可能に支持される。軸受は、軸方向において大歯車の両側及び小歯車の両側に配置される。歯車箱内には、潤滑油が貯留されている。潤滑油は、大歯車の回転によって掻き上げられ、大歯車と小歯車とのかみ合い部及び各軸受に供給される。
【0004】
歯車装置は、例えば特許文献1に開示されている。特許文献1の歯車装置において、大歯車及び小歯車は、いずれもやまば歯車である。やまば歯車は、軸方向に対して互いに逆向きに傾斜する歯筋を有する一対のはすば歯車を備える。
【先行技術文献】
【特許文献】
【0005】
特開2018-71607号公報
【発明の概要】
【発明が解決しようとする課題】
【0006】
大歯車及び小歯車の回転方向は、鉄道車両の進行方向に応じて適宜切り替えられる。大歯車がやまば歯車の場合、大歯車の回転によって掻き上げられた潤滑油の移動方向は、大歯車の回転方向によって変化する。歯車装置の正転時には、潤滑油は大歯車の軸方向において内側に向かって飛ばされる。歯車装置の逆転時には、潤滑油は大歯車の軸方向において外側に向かって飛ばされる。正転とは、大歯車の軸方向においてその歯筋の外側が回転方向前方、歯筋の内側が回転方向後方となるように、大歯車が回転している場合を意味する。逆転とは、大歯車の軸方向においてその歯筋の外側が回転方向後方、歯筋の内側が回転方向前方となるように、大歯車が回転している場合を意味する。
【0007】
ここで、歯車装置の正転時には、潤滑油が大歯車の軸方向内側に向かって飛ばされるため、軸受に対する潤滑油の供給量が不足する恐れがある。軸受に対する潤滑油の供給量が不足すると、軸受での摩耗が生じやすくなり、潤滑油に鉄分が混入する。すると、潤滑油が黒色化し、潤滑油の劣化が促進されてしまう。従来、軸受での摩耗を抑制する場合には歯車箱内に貯留する潤滑油の量を増やしていた。しかしながら、潤滑油の量を増やすとその分攪拌抵抗が増加するので、歯車装置の温度が上昇するという課題があった。
【0008】
本開示は、潤滑油を増加することなく軸受の摩耗を抑制することのできる鉄道車両用の歯車装置を提供することを課題とする。
【課題を解決するための手段】
【0009】
本開示に係る鉄道車両用の歯車装置は、大歯車と、小歯車と、歯車箱と、蓋と、を備える。大歯車は、車軸に接続される。大歯車は、一対の第1歯車と、第1溝とを含む。一対の第1歯車は、それぞれ複数の歯筋を有する。第1溝は、一対の第1歯車の間に設けられる。一対の第1歯車の一方における歯筋及び一対の第1歯車の他方における歯筋は、大歯車の軸方向に対して互いに逆向きに傾斜する。小歯車は、小歯車軸に接続される。小歯車は、一対の第2歯車と、第2溝とを含む。一対の第2歯車は、それぞれ複数の歯筋を有する。一対の第2歯車は、一対の第1歯車とかみ合う。第2溝は、一対の第2歯車の間に設けられる。一対の第2歯車の一方における歯筋及び一対の第2歯車の他方における歯筋は、軸方向に対して互いに逆向きに傾斜する。歯車箱は、大歯車及び小歯車を収容する。歯車箱は、上部に開口を有する。蓋は、歯車箱の開口を閉塞する。歯車箱の底部は、大歯車の少なくとも一部が浸漬するように潤滑油を貯留可能である。蓋の内面は、第1領域を含む。第1領域は、軸方向に垂直な断面視で大歯車に沿った形状を有する。第1領域には、第1溝に対向するリブが設けられる。
【発明の効果】
【0010】
本開示に係る鉄道車両用の歯車装置によれば、潤滑油を増加することなく軸受の摩耗を抑制することができる。
【図面の簡単な説明】
(【0011】以降は省略されています)
この特許をJ-PlatPat(特許庁公式サイト)で参照する
関連特許
日本製鉄株式会社
棒鋼
15日前
日本製鉄株式会社
線材
1か月前
日本製鉄株式会社
棒鋼
15日前
日本製鉄株式会社
鋳片
7日前
日本製鉄株式会社
耐力壁
今日
日本製鉄株式会社
剪断機
2か月前
日本製鉄株式会社
ボルト
2か月前
日本製鉄株式会社
鋼部品
1か月前
日本製鉄株式会社
床構造
2か月前
日本製鉄株式会社
鋼部品
15日前
日本製鉄株式会社
鋼部品
1か月前
日本製鉄株式会社
床構造
2か月前
日本製鉄株式会社
構造部材
2か月前
日本製鉄株式会社
溶接継手
1か月前
日本製鉄株式会社
歯車装置
1日前
日本製鉄株式会社
溶接継手
21日前
日本製鉄株式会社
橋脚構造
1か月前
日本製鉄株式会社
鍛鋼ロール
1か月前
日本製鉄株式会社
腐食センサ
1か月前
日本製鉄株式会社
鍛鋼ロール
1か月前
日本製鉄株式会社
高Ni合金鋼
1か月前
日本製鉄株式会社
学習システム
1か月前
日本製鉄株式会社
表面処理鋼材
7日前
日本製鉄株式会社
高Ni合金鋼
1か月前
日本製鉄株式会社
管理システム
1か月前
日本製鉄株式会社
溶鉄の製造方法
1か月前
日本製鉄株式会社
高炉の操業方法
1か月前
日本製鉄株式会社
溶鉄の製造方法
1か月前
日本製鉄株式会社
溶鉄の製造方法
1か月前
日本製鉄株式会社
原油油槽用鋼材
1か月前
日本製鉄株式会社
機械構造用部品
16日前
日本製鉄株式会社
鋼の連続鋳造方法
2か月前
日本製鉄株式会社
鉄鉱石の選別方法
1か月前
日本製鉄株式会社
鋼矢板の製造方法
1か月前
日本製鉄株式会社
鋼の連続鋳造方法
1か月前
日本製鉄株式会社
鉄道車両用の車軸
1か月前
続きを見る
他の特許を見る