TOP
|
特許
|
意匠
|
商標
特許ウォッチ
Twitter
他の特許を見る
10個以上の画像は省略されています。
公開番号
2025178316
公報種別
公開特許公報(A)
公開日
2025-12-05
出願番号
2025153044,2024226013
出願日
2025-09-16,2015-05-28
発明の名称
半導体装置
出願人
株式会社半導体エネルギー研究所
代理人
主分類
H10D
86/40 20250101AFI20251128BHJP()
要約
【課題】占有面積が小さく、集積度の高い半導体装置を提供する。
【解決手段】第1の絶縁層と、導電層と、第2の絶縁層を有し、導電層は第1の絶縁層と
第2の絶縁層との間に設けられ、第1の絶縁層、導電層および第2の絶縁層は互いに重な
る領域を有し、第1の絶縁層と、導電層と、第2の絶縁層を貫通するコンタクトプラグを
有し、コンタクトプラグは、第2の絶縁層から第1の絶縁層に向かう深さ方向において、
第2の絶縁層と導電層との界面を境に径が小さくなる領域を有する構成とする。
【選択図】図1
特許請求の範囲
【請求項1】
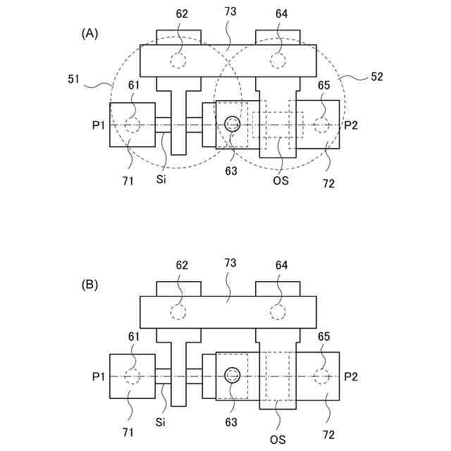
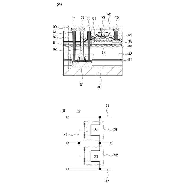
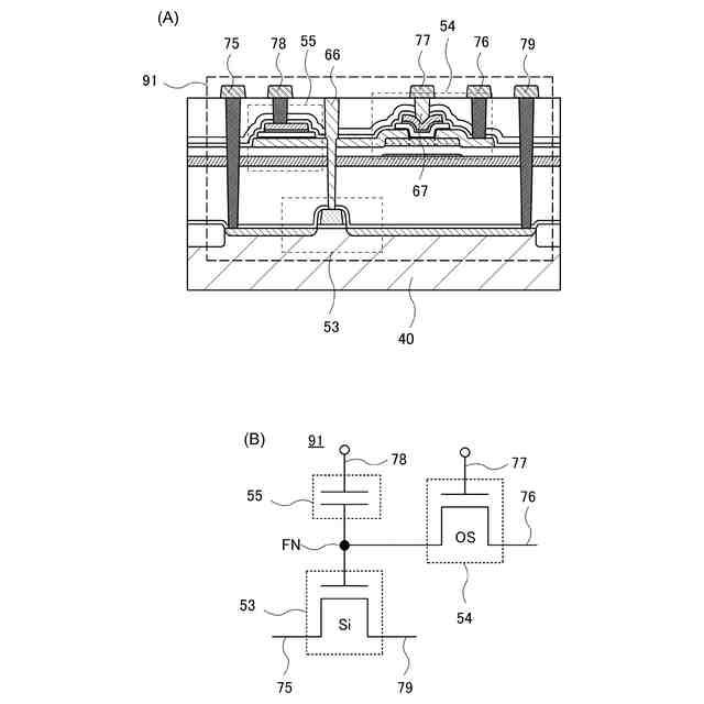
第1のトランジスタと、第2のトランジスタと、コンタクトプラグを有する半導体装置であって、
前記第1のトランジスタはシリコン基板に活性領域を有し、
前記第2のトランジスタは酸化物半導体を活性層に有し、
前記第1のトランジスタと前記第2のトランジスタはそれぞれ重なる領域を有し、
前記第1のトランジスタと前記第2のトランジスタの間に第1の絶縁層を有し、
前記第2のトランジスタ上に第2の絶縁層を有し、
前記第1のトランジスタのソース電極またはドレイン電極の一方は、前記第2のトランジスタのソース電極またはドレイン電極の一方と前記コンタクトプラグを介して電気的に接続されており、
前記コンタクトプラグは、前記第1の絶縁層、前記第2のトランジスタのソース電極またはドレイン電極の一方、および前記第2の絶縁層を貫通しており、
前記コンタクトプラグは、前記第2の絶縁層から前記第1の絶縁層に向かう深さ方向において、前記第2の絶縁層と前記第2のトランジスタのソース電極またはドレイン電極の一方との界面を境に径が小さくなる領域を有することを特徴とする半導体装置。
発明の詳細な説明
【技術分野】
【0001】
本発明の一態様は、酸化物半導体を用いた半導体装置に関する。
続きを表示(約 1,700 文字)
【0002】
なお、本発明の一態様は、上記の技術分野に限定されない。本明細書等で開示する発明の
一態様の技術分野は、物、方法、または、製造方法に関するものである。または、本発明
の一態様は、プロセス、マシン、マニュファクチャ、または、組成物(コンポジション・
オブ・マター)に関するものである。そのため、より具体的に本明細書で開示する本発明
の一態様の技術分野としては、半導体装置、表示装置、液晶表示装置、発光装置、照明装
置、蓄電装置、記憶装置、撮像装置、それらの駆動方法、または、それらの製造方法、を
一例として挙げることができる。
【0003】
なお、本明細書等において半導体装置とは、半導体特性を利用することで機能しうる装置
全般を指す。トランジスタ、半導体回路は半導体装置の一態様である。また、記憶装置、
表示装置、撮像装置、電子機器は、半導体装置を有する場合がある。
【背景技術】
【0004】
絶縁表面を有する基板上に形成された半導体薄膜を用いてトランジスタを構成する技術が
注目されている。当該トランジスタは集積回路(IC)や画像表示装置(単に表示装置と
も表記する)のような電子デバイスに広く応用されている。トランジスタに適用可能な半
導体薄膜として、シリコン系半導体材料が広く知られているが、その他の材料として酸化
物半導体が注目されている。
【0005】
酸化物半導体を用いたトランジスタは、非導通状態において極めてリーク電流が小さいこ
とが知られている。例えば、特許文献1には酸化物半導体を用いたトランジスタの低いリ
ーク電流特性を応用した低消費電力のCPUなどが開示されている。
【先行技術文献】
【特許文献】
【0006】
特開2012-257187号公報
【発明の概要】
【発明が解決しようとする課題】
【0007】
本発明の一態様では、占有面積の小さい半導体装置を提供することを目的の一つとする。
または、集積度の高い半導体装置を提供することを目的の一つとする。または、動作速度
の速い半導体装置を提供することを目的の一つとする。または、消費電力の小さい半導体
装置を提供することを目的の一つとする。または、生産性の高い半導体装置を提供するこ
とを目的の一つとする。または、歩留まりの高い半導体装置を提供することを目的の一つ
とする。または、新規な半導体装置を提供することを目的の一つとする。または、上記半
導体装置の作製方法を提供することを目的の一つとする。
【0008】
なお、これらの課題の記載は、他の課題の存在を妨げるものではない。なお、本発明の一
態様は、これらの課題の全てを解決する必要はないものとする。なお、これら以外の課題
は、明細書、図面、請求項などの記載から、自ずと明らかとなるものであり、明細書、図
面、請求項などの記載から、これら以外の課題を抽出することが可能である。
【課題を解決するための手段】
【0009】
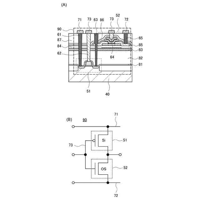
本発明の一態様は、酸化物半導体を用いて形成されたトランジスタおよびシリコンを用い
て形成されたトランジスタを有する半導体装置に関する。
【0010】
本発明の一態様は、第1の絶縁層と、導電層と、第2の絶縁層と、コンタクトプラグを有
し、導電層は第1の絶縁層と第2の絶縁層との間に設けられ、第1の絶縁層、導電層およ
び第2の絶縁層は、互いに重なる領域を有し、コンタクトプラグは、第1の絶縁層と、導
電層と、第2の絶縁層を貫通するように設けられ、コンタクトプラグは、第2の絶縁層か
ら第1の絶縁層に向かう深さ方向において、第2の絶縁層と導電層との界面を境に径が小
さくなる領域を有することを特徴とする半導体装置である。
(【0011】以降は省略されています)
この特許をJ-PlatPat(特許庁公式サイト)で参照する
関連特許
個人
積和演算用集積回路
29日前
サンケン電気株式会社
半導体装置
28日前
日機装株式会社
半導体発光装置
23日前
エイブリック株式会社
縦型ホール素子
1か月前
エイブリック株式会社
縦型ホール素子
1か月前
旭化成株式会社
発光素子
1か月前
ローム株式会社
抵抗チップ
1か月前
ローム株式会社
半導体装置
7日前
富士電機株式会社
半導体装置
1か月前
三菱電機株式会社
半導体装置
2日前
三菱電機株式会社
半導体装置
15日前
株式会社東芝
半導体装置
15日前
株式会社半導体エネルギー研究所
表示装置
1か月前
三菱電機株式会社
半導体装置
1か月前
株式会社半導体エネルギー研究所
表示装置
7日前
TDK株式会社
圧電素子
1か月前
ローム株式会社
半導体集積回路
1か月前
日亜化学工業株式会社
発光装置
1か月前
日亜化学工業株式会社
発光装置
1か月前
ローム株式会社
半導体装置
今日
ローム株式会社
窒化物半導体装置
1か月前
ローム株式会社
半導体装置
28日前
ローム株式会社
半導体装置
1か月前
富士電機株式会社
半導体装置の製造方法
1か月前
株式会社半導体エネルギー研究所
発光デバイス
23日前
ローム株式会社
窒化物半導体装置
1か月前
株式会社半導体エネルギー研究所
発光デバイス
1か月前
ローム株式会社
半導体装置
1か月前
サンケン電気株式会社
半導体装置
15日前
日亜化学工業株式会社
発光素子
28日前
大日本印刷株式会社
太陽電池
1か月前
株式会社カネカ
太陽電池モジュール
1か月前
日本電気株式会社
超伝導量子回路装置
1か月前
新電元工業株式会社
半導体素子
今日
サンケン電気株式会社
発光装置
1か月前
新電元工業株式会社
半導体素子
今日
続きを見る
他の特許を見る