TOP
|
特許
|
意匠
|
商標
特許ウォッチ
Twitter
他の特許を見る
10個以上の画像は省略されています。
公開番号
2025178310
公報種別
公開特許公報(A)
公開日
2025-12-05
出願番号
2025152725,2024173977
出願日
2025-09-12,2019-11-22
発明の名称
記憶装置
出願人
株式会社半導体エネルギー研究所
代理人
主分類
H10B
12/00 20230101AFI20251128BHJP()
要約
【課題】ゲインセル型のメモリセルを有し、単位面積あたりに記憶できるデータ量が多い
記憶装置を提供する。
【解決手段】半導体基板に形成されたトランジスタを用いて、記憶装置の周辺回路を構成
し、薄膜トランジスタを用いて、記憶装置のメモリセルを構成する。メモリセルが構成さ
れた薄膜トランジスタを含む層を、前記半導体基板の上方に複数積層して設けることで、
単位面積あたりに記憶できるデータ量を増やすことができる。また、薄膜トランジスタと
して、オフ電流が非常に小さいOSトランジスタを用いることで、電荷を蓄積する容量素
子の容量を小さくできる。すなわち、メモリセルの面積を小さくできる。
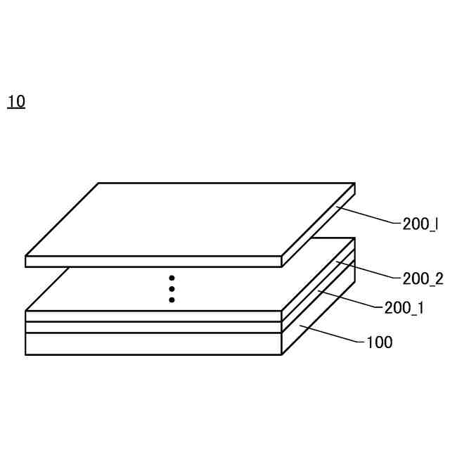
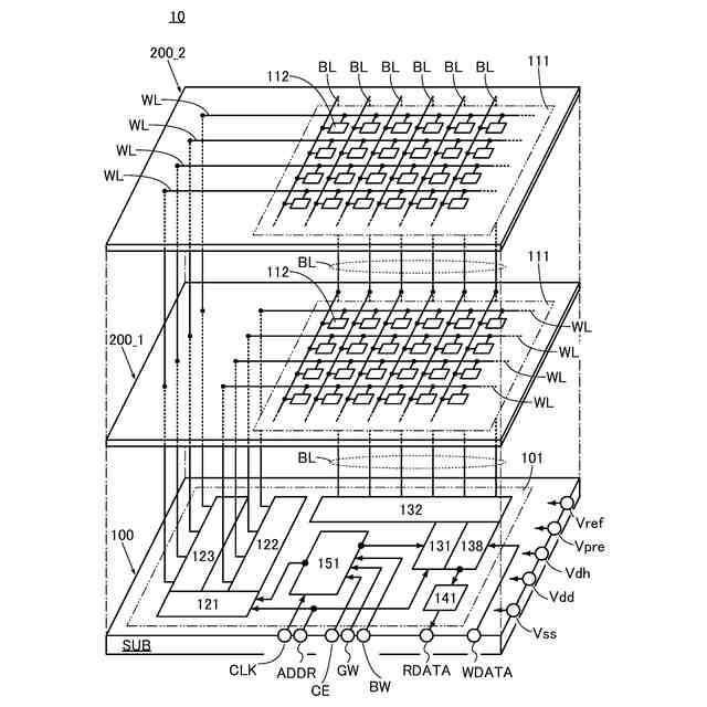
【選択図】図1
特許請求の範囲
【請求項1】
半導体基板と、
第1乃至第lの層(lは1以上の整数)と、を有し、
前記半導体基板には、前記半導体基板に形成されたトランジスタを用いて、周辺回路が構成され、
前記第k(kは1以上l以下の整数)の層には、前記第kの層に形成された薄膜トランジスタを用いて、メモリセルアレイが構成され、
前記第1の層は、前記半導体基板の上方に積層して設けられ、
前記第j(jは2以上l以下の整数)の層は、前記第j-1の層の上方に積層して設けられる、記憶装置。
発明の詳細な説明
【技術分野】
【0001】
本発明の一形態は、記憶装置に関する。特に、半導体特性を利用することで機能しうる記
憶装置に関する。
続きを表示(約 1,600 文字)
【0002】
また、本発明の一形態は、半導体装置に関する。本明細書等において、半導体装置とは、
半導体特性を利用することで機能しうる装置全般を指す。例えば、集積回路、集積回路を
備えたチップや、パッケージにチップを収納した電子部品、集積回路を備えた電子機器は
、半導体装置の一例である。
【0003】
なお、本発明の一形態は、上記の技術分野に限定されない。本明細書等で開示する発明の
技術分野は、物、方法、または、製造方法に関するものである。または、本発明の一形態
は、プロセス、マシン、マニュファクチャ、または、組成物(コンポジション・オブ・マ
ター)に関するものである。
【背景技術】
【0004】
DRAM(Dynamic Random Access Memory)は、各種電子
機器に内蔵される記憶装置(メモリともいう)として広く用いられている。DRAMのメ
モリセルは、1個のトランジスタと1個の容量素子で構成され、DRAMは容量素子に電
荷を蓄積することでデータを記憶するメモリである。
【0005】
DRAMのメモリセルを、2個のトランジスタと1個の容量素子で構成してもよい。蓄積
した電荷を近くのトランジスタで増幅することで、容量素子の容量が小さい場合でも、メ
モリとしての動作を行うことができる(以後、ゲインセル型のメモリセルという)。
【0006】
また、トランジスタのチャネルが形成される領域(以下、チャネル形成領域ともいう)に
金属酸化物を有するトランジスタ(酸化物半導体トランジスタ、OSトランジスタともい
う)が近年注目されている。OSトランジスタは、トランジスタがオフ状態にあるときの
ドレイン電流(オフ電流ともいう)が非常に小さいため、DRAMのメモリセルに用いる
ことで、容量素子に蓄積した電荷を長時間にわたって保持することができる。
【0007】
OSトランジスタは薄膜トランジスタであるため、積層して設けることができる。例えば
、単結晶シリコン基板に形成されたSiトランジスタを用いて第1の回路を構成し、その
上方にOSトランジスタを用いて第2の回路を構成することができる。OSトランジスタ
をDRAMに用いることで、例えば、第1の回路として駆動回路や制御回路などの周辺回
路、第2の回路としてメモリセルを構成することができ、DRAMのチップ面積を削減す
ることができる。
【0008】
特許文献1には、周辺回路を構成した半導体基板上に、OSトランジスタを用いた複数の
メモリセルを有する半導体装置の例が開示されている。特許文献2には、OSトランジス
タとOSトランジスタ以外のトランジスタ(例えば、Siトランジスタ)を、ゲインセル
型のメモリセル(容量素子は省略してもよい)に用いた例が開示されている。
【0009】
なお、本明細書等では、OSトランジスタを用いたゲインセル型のメモリセルを有する記
憶装置または半導体装置を、NOSRAM(登録商標、Nonvolatile Oxi
de Semiconductor Random Access Memory)と呼
ぶ。
【先行技術文献】
【特許文献】
【0010】
特開2012-256820号公報
特開2012-256400号公報
【発明の概要】
【発明が解決しようとする課題】
(【0011】以降は省略されています)
この特許をJ-PlatPat(特許庁公式サイト)で参照する
関連特許
個人
積和演算用集積回路
29日前
サンケン電気株式会社
半導体装置
28日前
エイブリック株式会社
縦型ホール素子
1か月前
旭化成株式会社
発光素子
1か月前
エイブリック株式会社
縦型ホール素子
1か月前
日機装株式会社
半導体発光装置
23日前
ローム株式会社
抵抗チップ
1か月前
ローム株式会社
半導体装置
7日前
富士電機株式会社
半導体装置
1か月前
株式会社東芝
半導体装置
15日前
三菱電機株式会社
半導体装置
15日前
株式会社半導体エネルギー研究所
表示装置
7日前
三菱電機株式会社
半導体装置
1か月前
三菱電機株式会社
半導体装置
2日前
株式会社半導体エネルギー研究所
表示装置
1か月前
ローム株式会社
半導体集積回路
1か月前
日亜化学工業株式会社
発光装置
1か月前
日亜化学工業株式会社
発光装置
1か月前
日亜化学工業株式会社
発光素子
1か月前
TDK株式会社
圧電素子
1か月前
ローム株式会社
窒化物半導体装置
1か月前
ローム株式会社
半導体装置
28日前
ローム株式会社
半導体装置
1か月前
富士電機株式会社
半導体装置の製造方法
1か月前
ローム株式会社
半導体装置
1か月前
ローム株式会社
窒化物半導体装置
1か月前
株式会社半導体エネルギー研究所
発光デバイス
23日前
サンケン電気株式会社
半導体装置
15日前
ローム株式会社
半導体装置
今日
株式会社半導体エネルギー研究所
発光デバイス
1か月前
大日本印刷株式会社
太陽電池
1か月前
株式会社カネカ
太陽電池モジュール
1か月前
日亜化学工業株式会社
発光素子
28日前
新電元工業株式会社
半導体素子
今日
新電元工業株式会社
半導体素子
今日
サンケン電気株式会社
発光装置
1か月前
続きを見る
他の特許を見る