TOP
|
特許
|
意匠
|
商標
特許ウォッチ
Twitter
他の特許を見る
公開番号
2025178243
公報種別
公開特許公報(A)
公開日
2025-12-05
出願番号
2025134319,2023577759
出願日
2025-08-12,2022-06-02
発明の名称
LED製造プロセス用光吸収バリア
出願人
アプライド マテリアルズ インコーポレイテッド
,
APPLIED MATERIALS,INCORPORATED
代理人
園田・小林弁理士法人
主分類
H10H
20/01 20250101AFI20251128BHJP()
要約
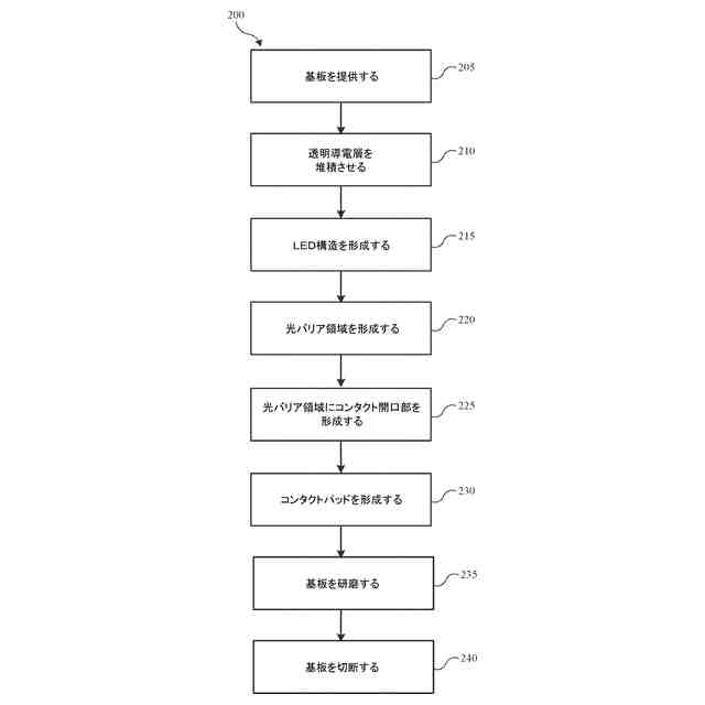
【課題】LEDディスプレイ装置用の高品質の材料及び構造を製造するために使用できる改良された半導体構造及び半導体処理方法を提供する。
【解決手段】例示的な処理方法は、パターニングされたLED基板を形成するために基板層上にLED構造の群を形成することを含む。パターニングされたLED基板上に光吸収バリアを堆積させることができる。本方法は更に、パターニングされたLED基板を光に曝露することを含み得る。光は、基板層及び光吸収バリアと接触するLED構造の表面によって吸収され得る。本方法はまた更に、LED構造を基板層から分離させることを含み得る。LED構造と基板層との間の結合は、基板層と接触するLED構造の表面による光の吸収によって弱められ得る。
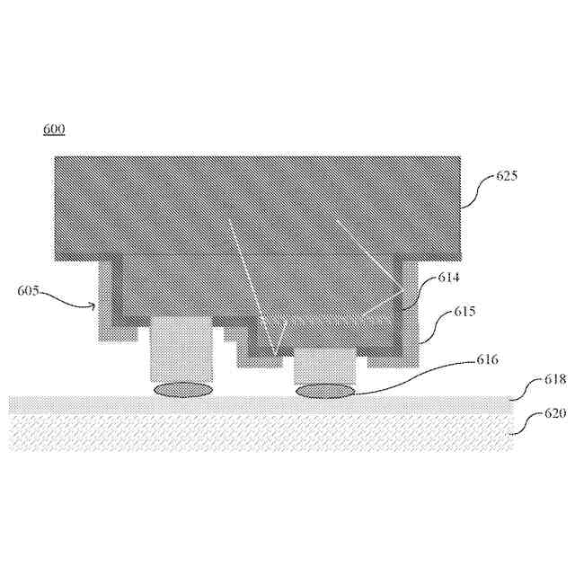
【選択図】図6
特許請求の範囲
【請求項1】
半導体処理方法であって、
パターニングされたLED基板を形成するために基板層上にLED構造の群を形成することと、
前記パターニングされたLED基板上に光吸収バリアを堆積させることと、
前記パターニングされたLED基板を光に曝露することであって、前記光は、前記基板層及び光吸収層と接触するLED構造の表面によって吸収される、前記パターニングされたLED基板を光に曝露することと、
前記LED構造を前記基板層から分離させることであって、前記LED構造と前記基板層との間の結合は、前記基板層と接触する前記LED構造の表面による前記光の吸収によって弱められている、前記LED構造を前記基板層から分離させることと
を含む、半導体処理方法。
続きを表示(約 1,000 文字)
【請求項2】
前記LED構造の群はガリウム-窒素含有材料を含み、前記ガリウム-窒素含有材料は、前記基板層と接触する前記LED構造の表面において前記光に曝露されると窒素ガスを発生させる、請求項1に記載の半導体処理方法。
【請求項3】
前記基板層はサファイアを含む、請求項1に記載の半導体処理方法。
【請求項4】
前記光は、約300nm以下のピーク強度波長によって特徴付けられる、請求項1に記載の半導体処理方法。
【請求項5】
前記光吸収バリアは、誘電体材料の1又は複数の層を含み、前記誘電体材料は、約4.3eV以上の室温バンドギャップによって特徴付けられる、請求項1に記載の半導体処理方法。
【請求項6】
前記光吸収バリアは、前記LED構造から放射された光を透過するように動作可能である、請求項1に記載の半導体処理方法。
【請求項7】
半導体は更に、前記基板層の反対側で前記LED構造の群に結合されたバックプレーン基板を含む、請求項1に記載の半導体処理方法。
【請求項8】
前記光吸収バリアは、前記パターニングされたLED基板が曝露される前記光が前記バックプレーン基板に到達するのを防止する、請求項7に記載の半導体処理方法。
【請求項9】
半導体処理方法であって、
基板層上にLED構造を形成することと、
前記LED構造及び前記基板層上に光吸収バリアの第1の部分を形成することと、
前記光吸収バリアの第1の部分上に前記光吸収バリアの少なくとも1つの追加部分を形成することと、
前記基板層を紫外線に曝露することであって、前記紫外線は前記光吸収バリアの露出部分によって吸収される、前記基板層を紫外線に曝露することと、
前記LED構造を前記基板層から分離させることと
を含む、半導体処理方法。
【請求項10】
前記光吸収バリアの第1の部分が、酸化ケイ素、窒化ケイ素、酸化チタン、窒化チタン、酸化ゲルマニウム、酸化タンタル、窒化タンタル、酸化マンガン、酸化ニオブ、酸化アンチモン、酸化インジウムスズ、酸化ランタン、酸化イットリウム、酸化ジルコニウム、酸化アルミニウム、窒化アルミニウム、酸化ハフニウム、及びフッ化マグネシウムで構成される群から選択される第1の誘電体材料を含む、請求項9に記載の半導体処理方法。
(【請求項11】以降は省略されています)
発明の詳細な説明
【技術分野】
【0001】
関連出願の相互参照
[0001]本出願は、2021年6月17日出願の「LIGHT ABSORBING BARRIER FOR LED FABRICATION PROCESSES」と題する米国非仮出願第17/350,523号の利益及び優先権を主張するものであり、その内容を全て、参照により本明細書に援用する。
続きを表示(約 2,400 文字)
【0002】
[0002]本技術は、半導体プロセス及び半導体製品に関する。より具体的には、本技術は、半導体構造及び形成されたデバイスの製造に関する。
【背景技術】
【0003】
[0003]数百万ミクロンサイズのピクセルでできた発光ダイオード(LED)ディスプレイ装置は、基板表面に複雑にパターニングされた材料層を形成する製造プロセスによって可能になる。基板上にパターニングされた材料を製造するには、材料の堆積及び除去のための制御された方法が必要である。しかし、新しいデバイス設計では、非常に正確な寸法の高品質な材料層を製造することは困難な場合がある。
【0004】
[0004]従って、LEDディスプレイ装置用の高品質の材料及び構造を製造するために使用できる改良されたシステム及び方法が必要とされている。これら及び他のニーズは、本技術によって対処される。
【発明の概要】
【0005】
[0005]本技術は、パターニングされたLED基板を形成するために基板層上にLED構造の群を形成することを含む、例示的な半導体処理方法を含む。パターニングされたLED基板上に光吸収バリアを堆積させることができる。本方法は更に、パターニングされたLED基板を光に曝露することを含み得る。光は、基板層及び光吸収バリアと接触するLED構造の表面によって吸収され得る。本方法はまた更に、LED構造を基板層から分離させることを含み得る。LED構造と基板層との間の結合は、基板層と接触するLED構造の表面による光の吸収によって弱められ得る。
【0006】
[0006]追加の実施形態では、LED構造の群は、基板層と接触するLED構造の表面において光に曝露されると窒素ガス(N
2
)を発生させるガリウム-窒素含有材料を含み得る。更なる実施形態では、基板はサファイア(すなわち、Al
2
O
3
)を含み得る。また更なる実施形態では、LED基板が曝露される光は、約300nm以下のピーク強度波長によって特徴付けられ得る。更に追加の実施形態では、光吸収バリアは、誘電体材料の1又は複数の層を含み得る。更に追加の実施形態では、誘電体材料は、約4.3eV以上の室温バンドギャップによって特徴付けられ得る。また更なる実施形態では、光吸収バリアは、LED構造から放射された光を透過するように動作可能である。更なる実施形態では、半導体は更に、基板層の反対側でLED構造の群に結合されたバックプレーン基板を含む。また更なる実施形態では、光吸収バリアは、パターニングされたLED基板が曝露される光がバックプレーン基板に到達するのを防止する。
【0007】
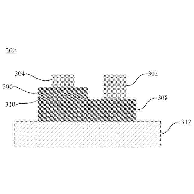
[0007]本技術はまた、基板層上にLED構造を形成することを含み得る追加の半導体処理方法を含む。本方法は更に、LED構造及び基板層上に光吸収バリアの第1の部分を形成することと、光吸収バリアの第1の部分上に光吸収バリアの少なくとも1つの追加部分を形成することとを含み得る。本方法はまた更に、基板層を紫外線に曝露することを含んでいてよく、紫外線は、光吸収バリアの露出部分によって吸収される。曝露後、LED構造を基板層から分離させることができる。
【0008】
[0008]追加の実施形態では、光吸収バリアの第1の部分は、酸化ケイ素、窒化ケイ素、酸化チタン、窒化チタン、酸化ゲルマニウム、酸化タンタル、窒化タンタル、酸化マンガン、酸化ニオブ、酸化アンチモン、酸化インジウムスズ、酸化ランタン、酸化イットリウム、酸化ジルコニウム、酸化アルミニウム、窒化アルミニウム、酸化ハフニウム、及びフッ化マグネシウムを含む群から選択される第1の誘電体材料を含み得る。更なる実施形態では、光吸収バリアの少なくとも1つの追加部分は、第1の誘電体材料とは異なる第2の誘電体材料を含む第2の部分を含む。また更なる実施形態では、紫外線は約300nm以下の波長によって特徴付けられる。更に追加の実施形態では、本方法は更に、光吸収バリア上に反射層を形成することを含む。更なる実施形態では、光吸収バリアは、LED構造によって放射されるLED光に対する反射層の反射率を増加させる。
【0009】
[0009]本技術は更に、複数のLED構造と、バックプレーン層と、LED構造とバックプレーン層との間に位置決めされた光バリア領域とを含み得る半導体構造を含む。光バリア領域は、約300nm以下の波長の光を吸収し、約350nm以上の波長の光を透過するように動作可能であり得る。
【0010】
[0010]追加の実施形態では、複数のLED構造は各々、n型ドープされたガリウム-窒素含有領域と、n型ドープされたガリウム-窒素含有領域と接触する多重量子井戸層と、多重量子井戸層と接触するp型ドープされたガリウム-窒素含有領域とを含み得る。更なる実施形態では、バックプレーン層は紫外線吸収ポリマーを含み得る。また更なる実施形態では、光バリア領域は、酸化ケイ素、窒化ケイ素、酸化チタン、窒化チタン、酸化ゲルマニウム、酸化タンタル、窒化タンタル、酸化マンガン、及び酸化ニオブを含む群から選択される誘電体材料の2つ以上の層を含んでいてよく、誘電体材料の第1の層は、誘電体材料の第1の層と接触する誘電体材料の第2の層とは異なる。更に追加の実施形態では、半導体構造は更に、光バリア領域と接触する反射層を含み得る。更なる実施形態では、半導体構造は更に、LED構造の少なくとも1つと接触する光変換領域を含み、光変換領域は、LED構造によって生成された光を吸収し、より長いピーク波長強度によって特徴付けられる変換された光を放射するように動作可能である。
(【0011】以降は省略されています)
この特許をJ-PlatPat(特許庁公式サイト)で参照する
関連特許
個人
積和演算用集積回路
1か月前
サンケン電気株式会社
半導体装置
29日前
エイブリック株式会社
縦型ホール素子
1か月前
旭化成株式会社
発光素子
1か月前
エイブリック株式会社
縦型ホール素子
1か月前
日機装株式会社
半導体発光装置
24日前
ローム株式会社
半導体装置
8日前
ローム株式会社
抵抗チップ
1か月前
富士電機株式会社
半導体装置
1か月前
株式会社東芝
半導体装置
16日前
三菱電機株式会社
半導体装置
16日前
三菱電機株式会社
半導体装置
3日前
株式会社半導体エネルギー研究所
表示装置
1か月前
三菱電機株式会社
半導体装置
1か月前
株式会社半導体エネルギー研究所
表示装置
8日前
日亜化学工業株式会社
発光装置
1か月前
ローム株式会社
半導体集積回路
1か月前
ローム株式会社
窒化物半導体装置
1か月前
ローム株式会社
半導体装置
1か月前
サンケン電気株式会社
半導体装置
16日前
富士電機株式会社
半導体装置の製造方法
1か月前
ローム株式会社
窒化物半導体装置
1か月前
ローム株式会社
半導体装置
29日前
ローム株式会社
半導体装置
1か月前
ローム株式会社
半導体装置
1日前
株式会社半導体エネルギー研究所
発光デバイス
1か月前
株式会社半導体エネルギー研究所
発光デバイス
24日前
大日本印刷株式会社
太陽電池
1か月前
日亜化学工業株式会社
発光素子
29日前
サンケン電気株式会社
発光装置
1か月前
新電元工業株式会社
半導体素子
1日前
新電元工業株式会社
半導体素子
1日前
新電元工業株式会社
半導体素子
1日前
日本ゼオン株式会社
構造体
1か月前
今泉工業株式会社
光発電装置及びその製造方法
1か月前
日亜化学工業株式会社
発光素子
29日前
続きを見る
他の特許を見る