TOP
|
特許
|
意匠
|
商標
特許ウォッチ
Twitter
他の特許を見る
公開番号
2025178185
公報種別
公開特許公報(A)
公開日
2025-12-05
出願番号
2025084828
出願日
2025-05-21
発明の名称
インデックス付き関節継手
出願人
ヘキサゴン・マニュファクチャリング・インテリジェンス・エスアーエールエル
,
Hexagon Manufacturing Intelligence Sarl
代理人
弁理士法人 津国
主分類
G01B
5/00 20060101AFI20251128BHJP(測定;試験)
要約
【課題】位置決めプラットフォームに取り付けられた計測工具の再配向のためのインデックス付き関節リストを提供する。
【解決手段】構造を単純化し、そのコストを削減するためにいくつかの歯が省略された改良型ハースカップリングを含む、インデックス付き関節リスト。改良型ハースカップリングは、減らされた歯の数によって、インデックスピッチの倍数だけ離間された歯付きクラウン310と、それぞれがピッチ角だけ離間された複数の歯371を有する複数の歯付きセクタ370を有する第2のクラウンとを有し、歯付きセクタは非噛み合いセクタによって分離されている。
【選択図】図3
特許請求の範囲
【請求項1】
測定装置の計測工具及び/又は測定装置の測定容積内のワークピースの再配向のためのインデックス付き関節継手であって、
前記測定装置又は前記測定装置の構成部品に取り付けられ得る支持要素と、
前記支持要素に回転可能に接続された再配向可能要素であり、ピッチ角によって均等に分離された複数のインデックス可能な配向間で第1の回転軸を中心として前記支持要素に対して回転され、前記複数のインデックス可能な配向のうちの1つにロックされ得る、再配向可能要素と、
一方が前記支持要素内にあり、もう一方が前記再配向可能要素内にある、2つの相互に噛み合う構成部品を有する改良型ハースカップリングと、を含み、
前記改良型ハースカップリングの第1の構成部品は、前記ピッチ角の倍数だけ均等に離間された複数の歯を有し、前記改良型ハースカップリングの第2の構成部品は、非噛み合いセクタによって分離された3つ以上の歯付きセクタを有し、各歯付きセクタは、前記ピッチ角だけ離間された複数の歯を含み、前記第1の構成部品及び前記第2の構成部品がインデックス付き位置のいずれかにおいて一緒にロックされたとき、前記歯付きセクタのそれぞれが、前記第1の構成部品の少なくとも1つの歯と噛み合い、前記非歯付きセクタと前記第1の構成部品との間に隙間がある、
インデックス付き関節継手。
続きを表示(約 790 文字)
【請求項2】
各歯付きセクタが少なくともK個の歯を含み、Kは、前記第1の構成部品における隣接する歯の角度間隔と前記ピッチ角との整数比を示す、請求項1に記載のインデックス付き関節継手。
【請求項3】
各歯付きセクタがK+1個の歯又はK+2個の歯を含む、請求項2に記載のインデックス付き関節継手。
【請求項4】
前記歯付きセクタが、角度において均等に離間されている、請求項1に記載のインデックス付き関節継手。
【請求項5】
前記歯付きセクタのうちの少なくとも1つが、異なる数の歯によって構成され、及び/又は角度において不均等に離間されている、請求項1に記載のインデックス付き関節継手。
【請求項6】
前記第2の構成部品が、正確に3つ、4つ、又は6つの歯付きセクタを有し、前記比Kが、正確には4、6、又は8である、請求項2に記載のインデックス付き関節継手。
【請求項7】
前記ピッチ角が、5°、2.5°、2°、又は1°である、請求項1に記載のインデックス付き関節継手。
【請求項8】
前記歯が90°以下の角度で交わる傾斜側面を有する、請求項1に記載のインデックス付き関節継手。
【請求項9】
前記第1の回転軸を中心とした前記再配向可能要素の前記回転を駆動するため、及び/又は一方を他方に付勢することによって前記支持要素と前記再配向可能要素とを一緒にロックするための自動アクチュエータを含む、請求項1に記載のインデックス付き関節継手。
【請求項10】
前記第1の回転軸を中心とした前記支持要素に対する前記再配向可能要素の回転角度を測定するように構成された角度エンコーダを含む、請求項1に記載のインデックス付き関節継手。
(【請求項11】以降は省略されています)
発明の詳細な説明
【技術分野】
【0001】
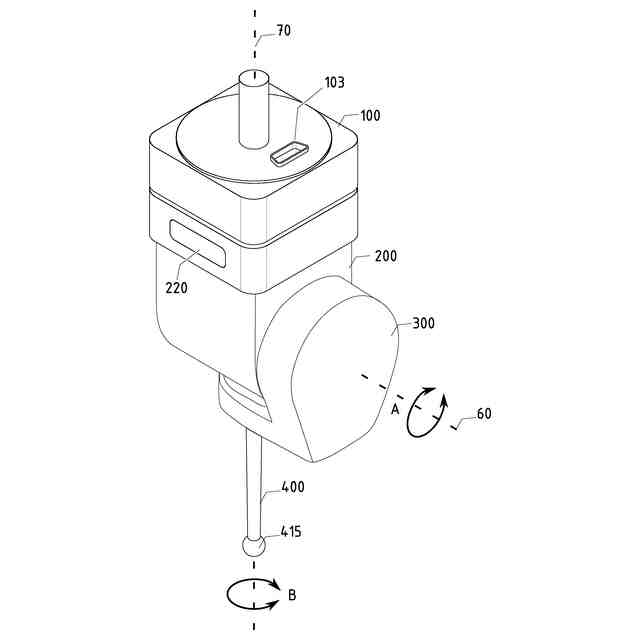
本発明は、座標位置決め装置又は座標測定機などの測定装置用のインデックス付き関節継手に関する。本発明のインデックス付き関節継手は、特に、装置の位置決めプラットフォームに取り付けられ、計測工具を、測定される部品に対して位置決め及び配向され得るように、計測工具を再配向可能に支持するリスト又はプローブホルダで使用するように適合されている。本発明のインデックス付き関節継手が、測定対象部品を支持するインデックス可能な回転テーブルにおいて使用され得るように適合され得る。しかしながら、本発明は、工作機械及びロボット工学などの他の領域に適用され得る。
続きを表示(約 2,200 文字)
【背景技術】
【0002】
座標測定機(CMM)は、測定される部品の表面上の点の座標を提供するために可動位置プラットフォームに取り付けられた様々なプローブを使用する一種の座標位置決め装置である。公知のブリッジ型座標機械では、位置決めプラットフォームは正確なデカルト位置決めシステムの一部であり、機械の基準テーブルに対するその位置は、正確なリニアエンコーダによって読み取られる。リスト型座標機械及び産業用ロボットは、測定目的のために座標プローブが装備されている場合もあるが、回転軸の運動連鎖を直列に有し、角度エンコーダによって読み取られた回転角度から推定される位置決めプラットフォームの座標を決定する。回転軸は、代替的又は補完的に、測定プローブ用の回転アダプタを有するプローブホルダによって、又は測定対象ワークピースを支持する回転テーブルによって提供され得る。
【0003】
タッチ座標プローブは、機械加工された部品の寸法又は表面をチェックし、部品の3次元形状を捕捉するため、例えばそれらを再現又はモデル化するために、座標測定機と共に使用される。タッチ座標プローブは、一般に、試験対象の部品の表面と接触するように設計された可動フィーラを有する。センサは、フィーラのわずかな変位に反応し、オペレータ又は自動コントローラに送信される電気信号を提供する。センサは、接触が発生するたびに電気的遷移を生成するトリガ回路、又は1つ、2つ、若しくは3つの座標で撓みの測定値を生成する撓み変換器とすることができる。撓みセンサを備えたタッチプローブは、走査プローブ又はアナログプローブの名称でも呼ばれており、それらのフィーラを部品の表面に沿って摺動させることによって使用され得るが、より一般的な前者の種類のプローブは、トリガプローブとも呼ばれ、多くの場合、表面を離散点でタップすることによって使用され、試験対象の部品の表面上の離散点のセットに関する情報を収集する。
【0004】
非接触座標プローブも当技術分野において公知である。それらは、例えばプローブの先端と試験対象の物体の表面との間の距離を試験対象の物体に接触することなく決定するように非接触センサを使用する。このクラスのプローブには、レーザ干渉プローブ、クロマティック共焦点プローブ、超音波プローブ、カメラ、ラインスキャナなどが含まれる。
【0005】
座標機械は、座標プローブとは異なる他の工具、例えば、粗さを測定する表面品質プローブ、又は検査及び制御のための撮像装置を装備し得る。本開示では、これらの工具は、座標プローブと同等であり、それと交換可能である。
【0006】
座標プローブは、当技術分野において、工作機械の可動部品、例えばフライス盤、旋盤、及び機械加工センタでも使用され得る。
【0007】
多くの測定では、ワークピースを完全かつ十分に測定するために、座標プローブの向きを変更する必要がある。例えば、穴の盲端で特徴を測定する場合、プローブの軸を穴の軸と位置合わせできることは非常に有用である。多くの可動プラットフォームはこの機能を備えておらず、座標プローブは、この欠点を克服するために、しばしば関節リストに取り付けられる。典型的には、これらの用途で使用される関節リストは、直列の2つの独立した直交軸を有するが、より少ない又はより多くの自由度を有する実現が可能である。
【0008】
再配向可能なリストの回転軸は、多くの場合インデックス付けされており、これは、リストを、正確に繰り返し可能な、多数であるが有限の数の所定の位置にロックされ得ることを意味する。これは、一般に、噛み合う歯のクラウンを形成しリング上に周期的に配置された放射状溝を有するハースカップリングのような、周期的ジョイントなどのインデックス要素又は構成部品を有するロック機構を必要とする。ロック状態(本開示ではロック構成とも呼ばれる)では、インデックス付き軸は、関節の2つの半体が互いに押し付け合うことによって阻止され、自由状態(又は自由構成)では、2つの半体が引き離され、互いに自由に回転する。回転及び、ロック状態と自由状態との間の移行は、手動又は自動であり得る。インデックスピッチは、1°、2.5°、5°、7.5°、10°又は15°が知られている。
【0009】
ハースカップリングは、狭いスペースで精密なインデックス及び微細なピッチ角を提供するが、その製造には高精度の研削が必要であり、コストがかかる。
【0010】
欧州特許第1666832号明細書、欧州特許第1666833号明細書、欧州特許第0392660号明細書、欧州特許第1672309号明細書、欧州特許第2889573号明細書、欧州特許第3184960号明細書、欧州特許第3179203号明細書、米国特許第10557702号明細書、国際公開第2024/033613号パンフレット、欧州特許第3129750号明細書、米国特許第2015/176958号明細書は、座標測定プローブ用の関節装置を記載している。英国特許出願公開第1411331号明細書は、重ね合わされた歯付きディスクの配置を含むインデックス機構を開示している。
(【0011】以降は省略されています)
この特許をJ-PlatPat(特許庁公式サイト)で参照する
関連特許
個人
視触覚センサ
1日前
日本精機株式会社
検出装置
1か月前
個人
採尿及び採便具
1か月前
個人
計量機能付き容器
26日前
日本精機株式会社
発光表示装置
9日前
株式会社カクマル
境界杭
16日前
甲神電機株式会社
電流検出装置
1か月前
株式会社ミツトヨ
測定器
1か月前
ユニパルス株式会社
トルク変換器
1日前
ユニパルス株式会社
トルク変換器
1日前
ユニパルス株式会社
トルク変換器
1日前
株式会社トプコン
測量装置
8日前
アズビル株式会社
電磁流量計
1か月前
大成建設株式会社
風洞実験装置
26日前
日本特殊陶業株式会社
ガスセンサ
8日前
愛知時計電機株式会社
ガスメータ
1か月前
日本特殊陶業株式会社
ガスセンサ
1日前
ローム株式会社
半導体装置
1か月前
ローム株式会社
半導体装置
1か月前
個人
非接触による電磁パルスの測定方法
29日前
日本特殊陶業株式会社
ガスセンサ
24日前
個人
計量具及び計量機能付き容器
26日前
大和製衡株式会社
組合せ計量装置
1か月前
大和製衡株式会社
組合せ計量装置
1か月前
個人
システム、装置及び実験方法
1か月前
愛知電機株式会社
軸部材の外観検査装置
1か月前
日本特殊陶業株式会社
ガスセンサ
2日前
双庸電子株式会社
誤配線検査装置
1か月前
日本信号株式会社
距離画像センサ
29日前
キーコム株式会社
画像作成システム
16日前
株式会社タイガーカワシマ
揚穀装置
8日前
日東精工株式会社
振動波形検査装置
1か月前
日本特殊陶業株式会社
センサ
10日前
株式会社不二越
X線測定装置
29日前
日置電機株式会社
絶縁抵抗測定装置
1日前
本陣水越株式会社
車載式計測標的物
3日前
続きを見る
他の特許を見る