TOP
|
特許
|
意匠
|
商標
特許ウォッチ
Twitter
他の特許を見る
公開番号
2025178044
公報種別
公開特許公報(A)
公開日
2025-12-05
出願番号
2024151907
出願日
2024-09-04
発明の名称
縁石用電子装置
出願人
リウ チョー アン
代理人
個人
,
個人
,
個人
,
個人
,
個人
主分類
H05K
5/02 20060101AFI20251128BHJP(他に分類されない電気技術)
要約
【課題】縁石の形状に対応できる範囲が従来より広い縁石用電子装置の提供。
【解決手段】上下に延伸する縁石側面72と縁石側面72の上端縁に接する縁石上面71と縁石上面71と縁石側面72とが接する箇所において凹陥するように形成される収容スロット73とを有し、且つ、縁石側面72の上端縁における縁石側面72と縁石上面71とが所定の傾き角度を成す縁石7に取り付けられるのに適するように構成される縁石用電子装置であって、収容スロット73に収容できるように形成されると共に、内部空間を囲む筐体1と、筐体1が収容スロット73に収容される際に縁石側面72の上端縁に平行する回転軸線を回転軸として筐体1に対して揺動可能に筐体1に枢支されるように構成されるトップカバー4と、を備え、トップカバー4の筐体1に対する揺動で、トップカバー4のカバー上面421を縁石7の縁石上面71と面一にすることができる。
【選択図】図1
特許請求の範囲
【請求項1】
上下に延伸する縁石側面と前記縁石側面の上端縁に接する縁石上面と前記縁石上面と前記縁石側面とが接する箇所において凹陥するように形成される収容スロットとを有し、且つ、前記縁石側面の上端縁における前記縁石側面と前記縁石上面とが所定の傾き角度を成す縁石に取り付けられるのに適するように構成される縁石用電子装置であって、
前記収容スロットに収容できるように形成されると共に、内部空間を囲む筐体と、
前記内部空間内に収容可能に構成される電子部品と、
前記筐体が前記収容スロットに収容される際に前記縁石側面の前記上端縁に平行する回転軸線を回転軸として前記筐体に対して揺動可能に前記筐体に枢支されるトップカバーと、を備え、
前記トップカバーの前記筐体に対する揺動で、前記トップカバーのカバー上面を前記縁石の前記縁石上面と面一にすることができる、縁石用電子装置。
続きを表示(約 2,000 文字)
【請求項2】
前記トップカバーの前記筐体に対する揺動の回転軸である前記回転軸線は、
前記筐体の上端において前記縁石の前記上端縁に隣接する、請求項1に記載の縁石用電子装置。
【請求項3】
前記トップカバーは、前記回転軸線を回転軸として揺動可能に前記筐体に枢支される上部可動枠と、前記回転軸線を回転軸として揺動可能に前記上部可動枠に枢支されるカバー本体とを有し、
前記上部可動枠は、前記筐体の上端部に隣接するように配置されると共に、
前記筐体側に面する内壁面及び前記内壁面から前記筐体側へ突起する第1のサポートフランジを有する可動壁と、前記可動壁の両端にそれぞれ配置されると共に、前記可動壁が前記回転軸線を回転軸として揺動可能に前記筐体に枢支される2つの第1の枢支部と、を有し、
前記カバー本体は前記カバー上面を有すると共に、前記回転軸線を回転軸として揺動可能に前記上部可動枠に枢支される2つの第2の枢支部が形成され、且つ、少なくとも一部が前記可動壁が有する前記第1のサポートフランジにより下から保持される、請求項1に記載の縁石用電子装置。
【請求項4】
前記可動壁には上下に並ぶ複数の係合孔が形成されており、また、いずれか1つの前記係合孔を通過してから前記筐体に固定される固定部材を用いて前記可動壁の前記筐体に対する揺動を制限する、請求項3に記載の縁石用電子装置。
【請求項5】
前記筐体は左右両端を有すると共に上下に延伸する前側壁と、両端が前記前側壁の前記左右両端に連続して前記前側壁と共に前記電子部品が収容される前記内部空間を囲む周囲壁と、前記周囲壁から前記内部空間の反対側である外側へ突起する第2のサポートフランジとを有するように形成され、
前記トップカバーは、前記筐体に対して前記傾き角度と同じもしくは前記傾き角度より大きい上限角度と前記傾き角度と同じもしくは前記傾き角度より小さい下限角度との間で揺動可能に構成されており、
前記トップカバーが前記下限角度まで揺動すると、前記可動壁の前記第1のサポートフランジは前記第2のサポートフランジにより下から支持され、
前記トップカバーが前記上限角度まで揺動すると、前記可動壁の前記第1のサポートフランジは前記第2のサポートフランジの上方に位置する、請求項3に記載の縁石用電子装置。
【請求項6】
前記筐体は前記内部空間を第1の収容部と第2の収容部とに分ける仕切り壁を有し、そして前記第1の収容部の上方に防水キャップが取り付けられると共に、前記電子部品は前記第1の収容部内に収容される、請求項1に記載の縁石用電子装置。
【請求項7】
前記トップカバーの反対側にある前記筐体のボトム部には、前記内部空間の反対側にある排水空間と、前記内部空間の前記第2の収容部に連通する固定孔と、が形成されており、
また、前記縁石に取り付けられる際に前記縁石側面に隣接する前記筐体の前側に前記排水空間に連通する前排水孔と、前記縁石側面から離れた後側において各前記固定孔の近くに前記内部空間の前記第2の収容部と前記排水空間とを連通させる後排水孔と、が形成されており、
前記縁石に固定されるアンカー部材の前記固定孔を経由して前記第2の収容部内に延伸する先端に固定ナットを取り付けることで、前記筐体を前記縁石に固定することができる、請求項6に記載の縁石用電子装置。
【請求項8】
前記トップカバーの前記カバー上面に係合凹部が形成されている上、前記係合凹部の中心に前記トップカバーを貫通する貫通孔が形成されており、また、
前記縁石用電子装置は、上下に摺動可能に前記筐体及び前記トップカバーに形成される前記貫通孔を貫通するカバー係合ボルトと前記カバー係合ボルトの先端に螺合するカバー係合ナットとからなるカバー係合手段を更に有し、
前記トップカバーは、前記筐体に対して前記傾き角度と同じもしくは前記傾き角度より大きい上限角度と前記傾き角度と同じもしくは前記傾き角度より小さい下限角度との間で揺動可能に構成されており、
前記トップカバーが前記上限角度まで揺動する際に、前記カバー係合手段の前記カバー係合ナットは前記トップカバーに形成される前記係合凹部内に嵌め込まれて前記トップカバーの前記筐体に対する揺動の上限角度を制限する、請求項1に記載の縁石用電子装置。
【請求項9】
前記縁石に取り付けられる際に前記縁石側面に隣接する前記筐体の前側に、前記内部空間に連通するウィンドウが形成されて前記ウィンドウを覆う透明板材が取り付けられており、前記電子部品は前記ウィンドウを経由して外側の画像を撮影するカメラである、請求項1に記載の縁石用電子装置。
発明の詳細な説明
【技術分野】
【0001】
本発明は電子装置に関し、特に、道端の縁石に固定されて用いられる縁石用電子装置に関する。
続きを表示(約 1,800 文字)
【背景技術】
【0002】
縁石とは車道と両側の歩道との間に敷かれることで、歩道にある異物(泥など)が車道に入るのを防止して車道の安全を確保するものである。
【0003】
特許文献1に開示されるカメラ装置は、道端の縁石に固定されて用いられるものであり、カメラ本体が収容されるハウジングの上端は、設置される縁石の上端面と面一になるように構成されている。
【0004】
しかしながら、各地で用いられる縁石の上端面と側面が成す角度は全て同じ(例えば90度)でなく、各種の縁石の形状に個別に対応するハウジングを製造するために生産ラインをそれぞれ設けるのはコストが高すぎる。
【先行技術文献】
【特許文献】
【0005】
台湾特許第I838148号明細書
【発明の概要】
【発明が解決しようとする課題】
【0006】
従って、本発明は縁石の形状に対応できる範囲が従来より広い縁石用電子装置の提供を目的とする。
【課題を解決するための手段】
【0007】
上記目的を達成すべく、本発明は、上下に延伸する縁石側面(72)と前記縁石側面(72)の上端縁に接する縁石上面(71)と前記縁石上面(71)と前記縁石側面(72)とが接する箇所において凹陥するように形成される収容スロット(73)とを有し、且つ、前記縁石側面(72)の上端縁における前記縁石側面(72)と前記縁石上面(71)とが所定の傾き角度を成す縁石(7)に取り付けられるのに適するように構成される縁石用電子装置であって、前記収容スロット(73)に収容できるように形成されると共に、内部空間(16)を囲む筐体(1)と、前記内部空間(16)内に収容可能に構成される電子部品(2)と、前記筐体(1)が前記収容スロット(73)に収容される際に前記縁石側面(72)の前記上端縁に平行する回転軸線(L)を回転軸として前記筐体(1)に対して揺動可能に前記筐体(1)に枢支されるトップカバー(4)と、を備え、前記トップカバー(4)の前記筐体(1)に対する揺動で、前記トップカバー(4)のカバー上面(421)を前記縁石(7)の前記縁石上面(71)と面一にすることができる、縁石用電子装置を提供する。
【発明の効果】
【0008】
本発明によれば、筐体が縁石の収容スロットに収容される際に縁石側面の上端縁に平行する回転軸線を回転軸として筐体に対して揺動可能に筐体に枢支されるトップカバーを備えるので、縁石の縁石側面と縁石上面とが接する角度がトップカバーの筐体に対する揺動可能範囲内にあれば、この角度に対応してトップカバーのカバー上面を縁石の縁石上面と面一にすることができるので、縁石に設置される際の違和感を減らせると共に、装置が縁石から突出することにより事故や故障が引き起こされることを防ぐことができる。
【図面の簡単な説明】
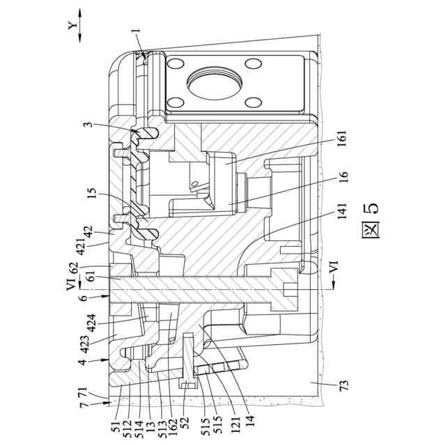
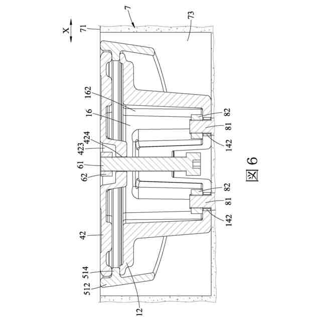
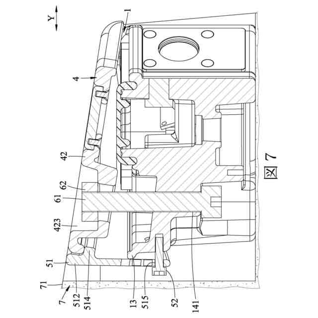
【0009】
縁石に装着される本発明の縁石用電子装置の実施例が示される斜視図である。
同実施例が縁石と共に示される分解斜視図である。
同実施例における筐体及び固定部材の構成が示される斜視図である。
図3とは異なるアングルで示される同実施例における筐体の斜視図である。
縁石に装着される同実施例の一部断面図である。
図5におけるVI-VI線に沿った断面図である。
図5における縁石とは異なる形状を有する縁石に装着される同実施例の一部断面図である。
【発明を実施するための形態】
【0010】
以下は図面を参照して本発明の各実施例について詳しく説明するが、異なる実施例において、同等する役割を発揮する構成要素に関しては、その構造が全く一致ではない場合においても、同じ符号が付けられる場合があることを理解すべきである。また、以下の説明では図面を基準として「上」「下」「左」「右」「トップ」「ボトム」などの用語が用いられるが、これらは理解しやすいように説明する都合上に用いられるものであり、本発明の実施方法や権利の範囲を制限するものではないことも理解すべきである。
(【0011】以降は省略されています)
この特許をJ-PlatPat(特許庁公式サイト)で参照する
関連特許
個人
電子部品の実装方法
2か月前
愛知電機株式会社
装柱金具
2か月前
個人
電気式バーナー
1か月前
日本精機株式会社
回路基板
3か月前
日星電気株式会社
面状ヒータ
24日前
イビデン株式会社
配線基板
2か月前
アイホン株式会社
電気機器
2か月前
日本放送協会
基板固定装置
2か月前
キヤノン株式会社
電子機器
2か月前
個人
静電気中和除去装置
1か月前
サクサ株式会社
開き角度規制構造
1か月前
イビデン株式会社
プリント配線板
2か月前
株式会社デンソー
電子装置
2か月前
株式会社デンソー
電子装置
1か月前
FDK株式会社
基板
2か月前
シャープ株式会社
加熱機器
1か月前
株式会社レクザム
剥離装置
2か月前
株式会社デンソー
電子装置
10日前
日産自動車株式会社
電子機器
18日前
新電元工業株式会社
電子装置
2か月前
富士フイルム株式会社
積層体
2か月前
株式会社レゾナック
冷却装置
2か月前
日産自動車株式会社
電子部品
2か月前
オムロン株式会社
端子折り曲げ治具
2か月前
日本精機株式会社
車両表示装置用回路基板
3日前
富士電子工業株式会社
誘導加熱コイル
2か月前
豊田合成株式会社
制御ユニット
10日前
株式会社デンソー
電子制御装置
1か月前
タイガー魔法瓶株式会社
加熱器
2か月前
日本無線株式会社
電子機器用密閉構造
3か月前
新光電気工業株式会社
配線基板
2か月前
富士電子工業株式会社
誘導加熱コイル
2か月前
TDK株式会社
接合構造
10日前
東芝ライテック株式会社
照明装置
2か月前
日本特殊陶業株式会社
セラミックヒータ
2か月前
日本特殊陶業株式会社
セラミックヒータ
2か月前
続きを見る
他の特許を見る