TOP
|
特許
|
意匠
|
商標
特許ウォッチ
Twitter
他の特許を見る
公開番号
2025177992
公報種別
公開特許公報(A)
公開日
2025-12-05
出願番号
2024085196
出願日
2024-05-24
発明の名称
深度測定装置、深度測定方法及び深度測定プログラム
出願人
株式会社トヨタプロダクションエンジニアリング
代理人
弁理士法人白坂
主分類
G01B
15/00 20060101AFI20251128BHJP(測定;試験)
要約
【課題】自動深度計測技術の精度を向上し、かつ対象物の形状計測が可能な深度測定装置、深度測定方法及び深度測定プログラムを提供する。
【解決手段】深度測定装置であって、放射線源と、放射線源との間の距離が第1距離である検出器と、対象物を、放射線源から検出面に向かう奥行き方向における放射線源からの距離が第2距離であって、検出面と並行方向における放射線源からの距離が第3距離である第1位置に第1時間の間維持し、第1位置から奥行き方向の距離が第2距離であって、検出面に沿う方向が第3距離とは異なる第4距離である第2位置まで移動させ、第2位置に第2時間の間維持し、露光状態を維持して撮像画像を取得する、取得部と、撮像画像に含まれる対象物の像の位置のずれ量を特定する特定部と、第1距離と、第3距離と第4距離との差分と、ずれ量とに基づいて第2距離を算出する算出部と、を備える。
【選択図】図1
特許請求の範囲
【請求項1】
放射線源と、
平面形状である検出面を備え、前記放射線源との間の距離が第1距離である、前記放射線源から放射される放射線の検出器と、
対象物を、前記放射線源から前記検出面に向かう奥行き方向における前記放射線源からの距離が第2距離であって、前記検出面と並行方向における前記放射線源からの距離が第3距離である第1位置に第1時間の間維持し、前記第1位置から前記奥行き方向の距離が第2距離であって、前記検出面に沿う方向が前記第3距離とは異なる第4距離である第2位置まで移動させ、前記第2位置に第2時間の間維持し、この間露光状態を維持して撮像画像を取得する、取得部と、
前記撮像画像に含まれる前記対象物の、前記第1位置に前記第1時間の間維持して得られた像と前記第2位置に前記第2時間の間維持して得られた像とから算出される前記対象物の像の位置のずれ量を特定する特定部と、
前記第1距離と、前記第3距離と前記第4距離との差分と、前記ずれ量と、に基づいて前記第2距離を算出する算出部と、
を備えることを特徴とする深度測定装置。
続きを表示(約 1,400 文字)
【請求項2】
前記ずれ量は、前記撮像画像に含まれる前記対象物の、前記第1位置に前記第1時間の間維持して得られた像の輝度が最大値を取る前記撮像画像上の位置と、前記第2位置に前記第2時間の間維持して得られた像の輝度が最大値を取る前記撮像画像上の位置との間の距離である、請求項1に記載の深度測定装置。
【請求項3】
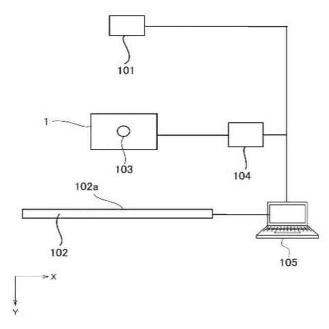
前記第1距離を一定としつつ、前記放射線源と前記検出器との間にある前記対象物の前記検出面と並行方向における前記放射線源からの距離を変化させる位置制御部を備える、請求項1に記載の深度測定装置。
【請求項4】
前記算出部は、前記第1距離をL
0
、前記第3距離と前記第4距離との差分をL
1
、前記ずれ量をL
2
、前記第2距離をL
3
とすると、下式により前記第2距離L
3
を算出する
TIFF
2025177992000004.tif
16
69
請求項1に記載の深度測定装置。
【請求項5】
放射線源、及び、平面形状である検出面を備え、前記放射線源との間の距離が第1距離である、前記放射線源から放射される放射線の検出器それぞれとの間で通信が可能なコンピュータが、
対象物を、前記放射線源から前記検出面に向かう奥行き方向における前記放射線源からの距離が第2距離であって、前記検出面と並行方向における前記放射線源からの距離が第3距離である第1位置に第1時間の間維持し、前記第1位置から前記奥行き方向の距離が第2距離であって、前記検出面に沿う方向が前記第3距離とは異なる第4距離である第2位置まで移動させ、前記第2位置に第2時間の間維持し、この間露光状態を維持して撮像画像を取得する、取得ステップと、
前記撮像画像に含まれる前記対象物の、前記第1位置に前記第1時間の間維持して得られた像と前記第2位置に前記第2時間の間維持して得られた像とから算出される前記対象物の像の位置のずれ量を特定する特定ステップと、
前記第1距離と、前記第3距離と前記第4距離との差分と、前記ずれ量と、に基づいて前記第2距離を算出する算出ステップと、
を備える深度測定方法。
【請求項6】
放射線源、及び、平面形状である検出面を備え、前記放射線源との間の距離が第1距離である、前記放射線源から放射される放射線の検出器それぞれとの間で通信が可能なコンピュータに、
対象物を、前記放射線源から前記検出面に向かう奥行き方向における前記放射線源からの距離が第2距離であって、前記検出面と並行方向における前記放射線源からの距離が第3距離である第1位置に第1時間の間維持し、前記第1位置から前記奥行き方向の距離が第2距離であって、前記検出面に沿う方向が前記第3距離とは異なる第4距離である第2位置まで移動させ、前記第2位置に第2時間の間維持し、この間露光状態を維持して撮像画像を取得する、取得機能と、
前記撮像画像に含まれる前記対象物の、前記第1位置に前記第1時間の間維持して得られた像と前記第2位置に前記第2時間の間維持して得られた像とから算出される前記対象物の像の位置のずれ量を特定する特定機能と、
前記第1距離と、前記第3距離と前記第4距離との差分と、前記ずれ量と、に基づいて前記第2距離を算出する算出機能と、
を実現させる深度測定プログラム。
発明の詳細な説明
【技術分野】
【0001】
本開示は、深度測定装置、深度測定方法、及び深度測定プログラムに関し、特に、形状計測が可能な深度測定装置、深度測定方法、及び深度測定プログラムに関する。
続きを表示(約 1,400 文字)
【背景技術】
【0002】
近年、放射線を利用した画像撮影装置において、複数の位置から放射線を照射して取得した複数の投影画像から被検体の内部情報を高精度に取得するトモシンセシス技術が普及しつつある(例えば、特許文献1参照)。
【0003】
特許文献1は、放射線源を検出器の検出面に対して相対的に移動させ、複数の放射線源の位置において被検体に放射線を照射するトモシンセシス撮影を行い、被検体の高画質の断層画像を取得できる断層画像生成装置を開示している。
【先行技術文献】
【特許文献】
【0004】
再表2020-067475号公報
【発明の概要】
【発明が解決しようとする課題】
【0005】
しかしながら、トモシンセシス技術を用いて被検体内部の対象物の深度を測定する深度測定装置において、特許文献1に開示の断層画像生成装置による放射線源の位置を変えて取得した複数の撮像画像を再構築する方法では、複数の撮像画像において被検体の像の形状の不一致が被検体の断層画像の画質の劣化の要因となり、測定される深度の精度の低下を招くおそれがあった。
【0006】
上記問題点を鑑み、本発明は、自動深度計測技術の精度を向上し、かつ対象物の形状計測が可能な深度測定装置、深度測定方法及び深度測定プログラムを提供することを目的とする。
【課題を解決するための手段】
【0007】
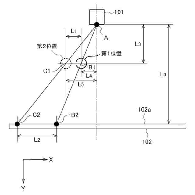
本発明の第1の態様は、深度測定装置であって、放射線源と、平面形状である検出面を備え、放射線源との間の距離が第1距離である、放射線源から放射される放射線の検出器と、対象物を、放射線源から検出面に向かう奥行き方向における放射線源からの距離が第2距離であって、検出面と並行方向における放射線源からの距離が第3距離である第1位置に第1時間の間維持し、第1位置から奥行き方向の距離が第2距離であって、検出面に沿う方向が第3距離とは異なる第4距離である第2位置まで移動させ、第2位置に第2時間の間維持し、この間露光状態を維持して撮像画像を取得する、取得部と、撮像画像に含まれる対象物の、第1位置に前記第1時間の間維持して得られた像と第2位置に第2時間の間維持して得られた像とから算出される対象物の像の位置のずれ量を特定する特定部と、第1距離と、第3距離と第4距離との差分と、ずれ量と、に基づいて第2距離を算出する算出部と、を備えることを要旨とする。
【0008】
本発明の第1の態様において、ずれ量は、撮像画像に含まれる対象物の、第1位置に前記第1時間の間維持して得られた像の輝度が最大値を取る撮像画像上の位置と、第2位置に第2時間の間維持して得られた像の輝度が最大値を取る撮像画像上の位置との間の距離であってよい。
【0009】
本発明の第1の態様において、第1距離を一定としつつ、放射線源と検出器との間にある対象物の検出面と並行方向における放射線源からの距離を変化させる位置制御部を備えてよい。
【0010】
本発明の第1の態様において、算出部は、第1距離をL
0
、第3距離と第4距離との差分をL
1
、ずれ量をL
2
、第2距離をL
3
とすると、下式により前記第2距離を算出してよい。
(【0011】以降は省略されています)
この特許をJ-PlatPat(特許庁公式サイト)で参照する
関連特許
個人
視触覚センサ
1日前
日本精機株式会社
検出装置
1か月前
個人
採尿及び採便具
1か月前
個人
計量機能付き容器
26日前
株式会社ミツトヨ
測定器
1か月前
甲神電機株式会社
電流検出装置
1か月前
日本精機株式会社
発光表示装置
9日前
株式会社カクマル
境界杭
16日前
ユニパルス株式会社
トルク変換器
1日前
ユニパルス株式会社
トルク変換器
1日前
ユニパルス株式会社
トルク変換器
1日前
株式会社トプコン
測量装置
8日前
アズビル株式会社
電磁流量計
1か月前
大成建設株式会社
風洞実験装置
26日前
愛知電機株式会社
軸部材の外観検査装置
1か月前
大和製衡株式会社
組合せ計量装置
1か月前
日本特殊陶業株式会社
ガスセンサ
8日前
愛知時計電機株式会社
ガスメータ
1か月前
日本特殊陶業株式会社
ガスセンサ
1日前
個人
非接触による電磁パルスの測定方法
29日前
大和製衡株式会社
組合せ計量装置
1か月前
個人
計量具及び計量機能付き容器
26日前
個人
システム、装置及び実験方法
1か月前
日本特殊陶業株式会社
ガスセンサ
24日前
日本特殊陶業株式会社
ガスセンサ
2日前
双庸電子株式会社
誤配線検査装置
1か月前
日本信号株式会社
距離画像センサ
29日前
日本特殊陶業株式会社
センサ
1か月前
株式会社不二越
X線測定装置
29日前
日東精工株式会社
振動波形検査装置
1か月前
個人
液位検視及び品質監視システム
24日前
キーコム株式会社
画像作成システム
16日前
日本特殊陶業株式会社
センサ
10日前
本陣水越株式会社
車載式計測標的物
3日前
トヨタ自動車株式会社
測定システム
1か月前
株式会社タイガーカワシマ
揚穀装置
8日前
続きを見る
他の特許を見る