TOP
|
特許
|
意匠
|
商標
特許ウォッチ
Twitter
他の特許を見る
10個以上の画像は省略されています。
公開番号
2025177941
公報種別
公開特許公報(A)
公開日
2025-12-05
出願番号
2024085110
出願日
2024-05-24
発明の名称
太陽光パネル投資情報提供システム
出願人
リズ ムザファル アハマド
,
RIAZ MUZAFFAR AHMED
代理人
個人
主分類
G06Q
40/06 20120101AFI20251128BHJP(計算;計数)
要約
【課題】太陽光パネルの投資の機会を敏速に得られるシステムを得る。
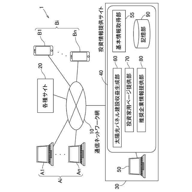
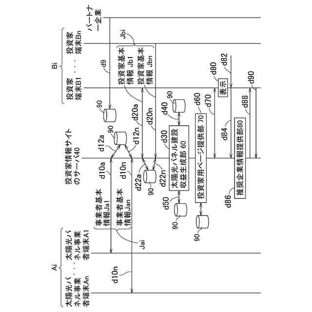
【解決手段】太陽光パネル事業者端末Aiと、投資家端末Biと、投資情報提供サイト30のサーバ40とを通信ネットワークで接続した太陽光パネル投資情報提供システム1である。サーバ40は、事業者基本情報及び投資家基本情報を記憶部90に取得する基本情報取得部55と、事業者基本情報及び投資家基本情報に基づいて収益情報を算出して記憶部90に記憶する太陽光パネル建設収益生成部60と、複数の投資家端末の収益情報を読み出して、プロジェクト名に係る収益表を表示させる投資家用ページ提供部70と、プロジェクト名を受注した企業を推奨企業とし画面に表示する推奨企業情報提供部80とを有することを特徴とする。
【選択図】図1
特許請求の範囲
【請求項1】
太陽光パネル事業者端末と、投資家端末と、投資情報提供サイトのサーバとを通信ネットワークで接続した太陽光パネル投資情報提供システムであって、
前記投資情報提供サイトのサーバは、
前記太陽光パネル事業者端末からの事業者基本情報及び前記投資家端末からの投資家基本情報を記憶部に取得する基本情報取得部と、
前記事業者基本情報、及び、前記投資家基本情報に基づいて太陽光パネル建設に係る収益情報を算出して前記記憶部に記憶する太陽光パネル建設収益生成部と、
前記投資家端末からのアクセスに伴って、前記アクセス以外の複数の投資家端末の収益情報を読み出して、プロジェクト名に係る収益表を前記投資家端末に表示させる投資家用ページ提供部と、
前記収益表のプロジェクト名の選択に伴って、前記プロジェクト名を受注した企業を推奨企業とし、前記推奨企業のトップページを画面に表示する推奨企業情報提供部とを有することを特徴とする、太陽光パネル投資情報提供システム。
続きを表示(約 250 文字)
【請求項2】
前記収益情報は、太陽光パネル建設の年間の収益、日収、及び月収入を含むことを特徴とする、請求項1記載の太陽光パネル投資情報提供システム。
【請求項3】
前記投資家端末は、仮想通過で取引を実行する、ことを特徴とする請求項1記載の太陽光パネル投資情報提供システム。
【請求項4】
前記太陽光パネル建設収益生成部は、各種サイトからの情報に基づいて今後の数年間に亘る収益を計算する、ことを特徴とする請求項1記載の太陽光パネル投資情報提供システム。
発明の詳細な説明
【技術分野】
【0001】
本発明は、太陽光パネル投資情報提供システムに関する。
続きを表示(約 1,400 文字)
【背景技術】
【0002】
太陽光発電の投資は、不動産投資に比べて利回りが2倍も高いといわれている。また、太陽光発電の投資は個人投資家でも参入できるハードルの低さと、国の制度に裏打ちされた安定感という特有のメリットがある。このため、太陽光パネル建設の投資も近年は盛んに推奨されている。
【0003】
一方、住宅太陽電池市場において、多くの消費者が太陽電池設備に高い関心を示すが、約95%の消費者が太陽電池設備を購入しない。
【0004】
上述のように購入しない理由は、消費者の獲得にいくつかの脱落可能性の高い要素が存在するためである。その結果、市場に参入する障壁が高くなり、投資家も慎重になる。
【0005】
特許文献1は、電気消費者に関するデータおよび/または他の情報を使用して、上等な太陽電池見込客を特定することによって、設置者の無駄な作業量を削減することができ、その結果、太陽電池設備の総合費用を削減することによって太陽光パネルの設置を増加させ、その結果投資の促進を可能とするものである。
【先行技術文献】
【特許文献】
【0006】
特表2017-530442号公報
【発明の概要】
【発明が解決しようとする課題】
【0007】
しかしながら、特許文献1のものは、太陽電池見込客を特定することによって、設置者の無駄な作業量を削減することができ、その結果、太陽電池設備の総合費用を削減するものであり、どのような太陽光パネルの建設に対してどの程度の利益が得られるものかを提供するものではないので、投資家は投資の機会を逃すという課題があった。
【0008】
また、投資家にとって重要なことは、収益がどの程度あるかを一目で知ることである。しかしながら、現在の投資家に対するサービスを行うシステムは、スマートフォンの画面を複数回操作して初めて投資家にとって重要な情報を得るものであるので、投資家にとっては煩わしかった。
【0009】
本発明は、以上の課題を鑑みてなされたものであり、投資家にとって最も重要な情報であるどのような太陽光パネルの建設に対してどの程度の利益が得られるものかを最初に提供して、投資の機会を敏速に得られるシステムを得ることを目的とする。
【課題を解決するための手段】
【0010】
本発明は、以上の問題に鑑みてなされたもので、(1)は太陽光パネル事業者端末と、投資家端末と、投資情報提供サイトのサーバとを通信ネットワークで接続した太陽光パネル投資情報提供システムであって、前記投資情報提供サイトのサーバは、前記太陽光パネル事業者端末からの事業者基本情報及び前記投資家端末からの投資家基本情報を記憶部に取得する基本情報取得部と、前記事業者基本情報、及び、前記投資家基本情報に基づいて太陽光パネル建設に係る収益情報を算出して前記記憶部に記憶する太陽光パネル建設収益生成部と、前記投資家端末からのアクセスに伴って、前記アクセス以外の複数の投資家端末の収益情報を読み出して、プロジェクト名に係る収益表を前記投資家端末に表示させる投資家用ページ提供部と、前記収益表のプロジェクト名の選択に伴って、前記プロジェクト名を受注した企業を推奨企業とし、前記推奨企業のトップページを画面に表示する推奨企業情報提供部とを有することを特徴とする。
(【0011】以降は省略されています)
この特許をJ-PlatPat(特許庁公式サイト)で参照する
関連特許
個人
詐欺保険
1か月前
個人
縁伊達ポイン
1か月前
個人
5掛けポイント
1か月前
個人
職業自動販売機
24日前
個人
RFタグシート
1か月前
個人
QRコードの彩色
1か月前
個人
ペルソナ認証方式
1か月前
個人
自動調理装置
1か月前
個人
情報処理装置
1か月前
個人
立体グラフの利用方法
3日前
個人
農作物用途分配システム
1か月前
個人
残土処理システム
2か月前
個人
インターネットの利用構造
1か月前
個人
サービス情報提供システム
26日前
個人
タッチパネル操作指代替具
1か月前
NISSHA株式会社
入力装置
4日前
個人
知的財産出願支援システム
2か月前
個人
学習用データ生成装置
5日前
個人
携帯端末障害問合せシステム
1か月前
個人
スケジュール調整プログラム
1か月前
個人
エリアガイドナビAIシステム
1か月前
個人
音声・通知・再配達UX制御構造
2か月前
個人
帳票自動生成型SaaSシステム
2か月前
エッグス株式会社
情報処理装置
1か月前
株式会社ワコム
電子ペン
1か月前
キヤノン株式会社
印刷システム
1か月前
キヤノン株式会社
画像認識装置
18日前
キヤノン株式会社
情報処理装置
18日前
株式会社ワコム
電子ペン
1か月前
株式会社ケアコム
項目選択装置
1か月前
株式会社ケアコム
項目選択装置
1か月前
キラル株式会社
顧客体験提供システム
6日前
トヨタ自動車株式会社
通知装置
1か月前
キヤノン株式会社
情報処理装置
1か月前
キヤノン株式会社
情報処理装置
18日前
株式会社アジラ
行動推定システム
18日前
続きを見る
他の特許を見る