TOP
|
特許
|
意匠
|
商標
特許ウォッチ
Twitter
他の特許を見る
10個以上の画像は省略されています。
公開番号
2025177712
公報種別
公開特許公報(A)
公開日
2025-12-05
出願番号
2024084775
出願日
2024-05-24
発明の名称
常磁性ガーネット型透明セラミックス、その製造方法、磁気光学材料、及び磁気光学デバイス
出願人
信越化学工業株式会社
代理人
個人
,
個人
,
個人
,
個人
主分類
C04B
35/44 20060101AFI20251128BHJP(セメント;コンクリート;人造石;セラミックス;耐火物)
要約
【課題】 残存する酸素欠損による品質トラブルの生じない、設計通りのハイパワーレーザー加工機に搭載可能な常磁性ガーネット型透明セラミックス、その製造方法、磁気光学材料、磁気光学デバイスを提供する。
【解決手段】 1400~1500℃のアニール処理工程において、焼結体の材料径をD[mm]とした時のアニール保持時間T[hr]がT≧10×Dを満たす製造方法によって、焼結体の外径が4mm以上であり、波長350nmにおける前方散乱の値が1.1%以上であり、波長430nmにおける前方散乱の値が1%未満である、式(1)で表される複合酸化物を含有する焼結体を含む常磁性ガーネット型透明セラミックを得ることができる
(Tb
1-x-y
Y
x
Sc
y
)
3
(Al
1-z
Sc
z
)
5
O
12
(1)
(式中、0.05≦x≦0.45、0<y<0.1、0.5<1-x-y<0.95、0.001<z<0.15、0<y+z<0.2である)。
【選択図】 図3
特許請求の範囲
【請求項1】
下記式(1)で表される複合酸化物を含有する焼結体を含む常磁性ガーネット型透明セラミックスの製造方法であって、
(Tb
1-x-y
Y
x
Sc
y
)
3
(Al
1-z
Sc
z
)
5
O
12
(1)
(式中、0.05≦x≦0.45、0<y<0.1、0.5<1-x-y<0.95、0.001<z<0.15、0<y+z<0.2である。)
前記複合酸化物の成形体を焼結して焼結体を得る工程と、
この焼結体を熱間等方圧プレス(HIP)処理する工程と、
前記HIP処理した焼結体をアニール処理する工程と
を含み、
前記アニール処理工程において、アニール温度が1400℃以上1500℃以下であり、前記アニール処理する焼結体の材料径をD[mm]とした時のアニール保持時間T[hr]が、下記式(2):
T≧10×D (2)
を満たす常磁性ガーネット型透明セラミックスの製造方法。
続きを表示(約 890 文字)
【請求項2】
前記アニール処理工程の前に焼結体の外周を研削して又は前記アニール処理工程の後に焼結体の外周を研削して、所望の外径を有する円筒体に加工する外周研削工程を更に含む請求項1に記載の常磁性ガーネット型透明セラミックスの製造方法。
【請求項3】
前記アニール処理工程の後に前記外周研削を行った場合、この外周研削した焼結体を1300℃以上の温度で5時間以上にわたり加熱処理する請求項2に記載の常磁性ガーネット型透明セラミックスの製造方法。
【請求項4】
下記式(1)で表される複合酸化物を含有する焼結体を含む常磁性ガーネット型透明セラミックスであって、
(Tb
1-x-y
Y
x
Sc
y
)
3
(Al
1-z
Sc
z
)
5
O
12
(1)
(式中、0.05≦x≦0.45、0<y<0.1、0.5<1-x-y<0.95、0.001<z<0.15、0<y+z<0.2である。)
前記焼結体の外径が4mm以上であり、波長350nmにおける前方散乱の値が1.1%以上であり、且つ波長430nmにおける前方散乱の値が1%未満である、常磁性ガーネット型透明セラミックス。
【請求項5】
前記焼結体が焼結助剤としてSiO
2
を0質量%超0.1質量%以下で更に含有する請求項4に記載の常磁性ガーネット型透明セラミックス。
【請求項6】
請求項4又は5に記載の常磁性ガーネット型透明セラミックスを含む磁気光学材料。
【請求項7】
請求項6に記載の磁気光学材料を用いて構成される磁気光学デバイス。
【請求項8】
前記磁気光学材料をファラデー回転子として備え、前記ファラデー回転子の光学軸上の前後に偏光材料を備えた波長帯0.9μm以上1.1μm以下で利用可能な光アイソレータである請求項7に記載の磁気光学デバイス。
発明の詳細な説明
【技術分野】
【0001】
本発明は、常磁性ガーネット型透明セラミックス、その製造方法、磁気光学材料、及び磁気光学デバイスに関し、より詳細には、光アイソレータなどの磁気光学デバイスを構成するのに好適なテルビウムを含む常磁性ガーネット型透明セラミックス及びその製造方法、並びにこの常磁性ガーネット型透明セラミックスを磁気光学材料として用いた磁気光学デバイスに関する。
続きを表示(約 2,400 文字)
【背景技術】
【0002】
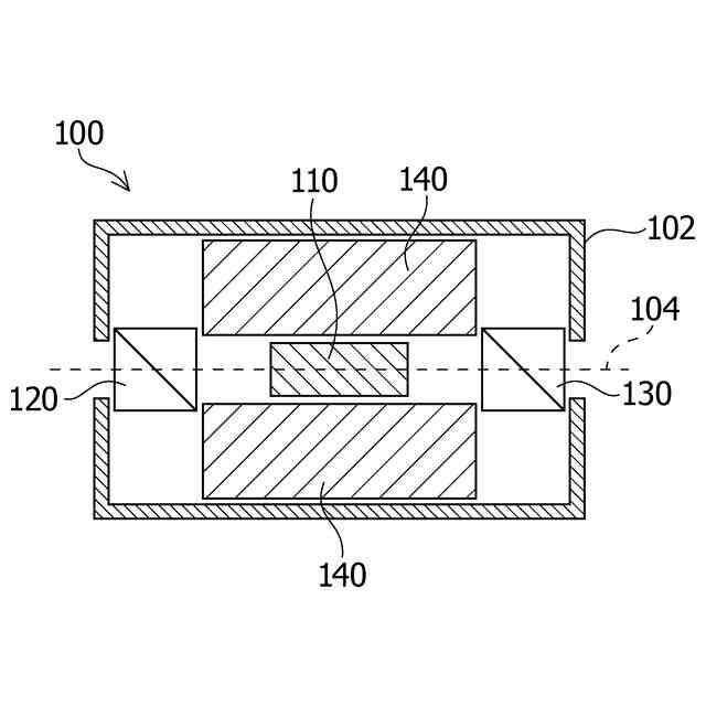
近年、高出力化が可能となってきたこともあり、ファイバーレーザーを用いたレーザー加工機の普及が目覚しい。ところで、レーザー加工機に組み込まれるレーザー光源は、外部からの光が入射すると共振状態が不安定化し、発振状態が乱れる現象が起こる。特に発振された光が途中の光学系で反射されて光源に戻ってくると、発振状態は大きく撹乱される。これを防止するために、通常光アイソレータが光源の手前等に設けられる。
【0003】
光アイソレータは、ファラデー回転子と、ファラデー回転子の光入射側に配置された偏光子と、ファラデー回転子の光出射側に配置された検光子とからなる。また、ファラデー回転子は、光の進行方向に平行に磁界を加えて利用する。このとき、光の偏波線分はファラデー回転子中を前進しても後進しても一定方向にしか回転しなくなる。更に、ファラデー回転子は光の偏波線分が丁度45度回転される長さに調整される。ここで、偏光子と検光子の偏波面を前進する光の回転方向に45度ずらしておくと、前進する光の偏波は偏光子位置と検光子位置で一致するため透過する。他方、後進する光の偏波は検光子位置から45度ずれている偏光子の偏波面のずれ角方向とは逆回転に45度回転することになる。
すると、偏光子位置における戻り光の偏波面は偏光子の偏波面に対して45度-(-45度)=90度のずれとなり、偏光子を透過できない。こうして前進する光は透過、出射させ、後進する戻り光は遮断する光アイソレータとして機能する。
【0004】
上記光アイソレータを構成するファラデー回転子として用いられる材料として、近年下記組成のテルビウム含有常磁性透明セラミック焼結体(Tb
1-x-y
Y
x
Sc
y
)
3
(Al
1-z
Sc
z
)
5
O
12
)の普及が進んでいる。例えば、組成や透明性については、特開2019-199386号公報(特許文献1)や、国際公開第2022/054596号(特許文献2)に詳しい。
【0005】
またその作製方法については特開2019-104674号公報(特許文献3)、特開2019-207340号公報(特許文献4)、特開2019-199078号公報(特許文献5)、特開2019-199079号公報(特許文献6)、国際公開第2022/054593号(特許文献7)、国際公開第2022/054515号(特許文献8)、特開2023-064774号公報(特許文献9)、特開2023-082887号公報(特許文献10)、特開2023-128125号公報(特許文献11)などに詳しい。
【0006】
さらに品質などについては特許文献7、国際公開第2022/054595号(特許文献12)、国際公開第2022/085107号(特許文献13)、国際公開第2022/054592号(特許文献14)、国際公開第2022/054594号(特許文献15)、特開2023-128117号公報(特許文献16)などに詳しい。
【0007】
ところで、実際の工業利用においては、レーザー加工機の出力パワーグレードにより、用いられるファラデー回転子の材料径に差が出てくる。たとえば100Wまでのハイパワーレーザー用途では外径4mm以下の細いファラデー回転子で十分に光学品質を保てるが、200W用、300W用の次世代ハイパワーレーザー用途では外径を6mmや8mmまで太くしていかないと出力ビームのスポット径変化率を10%以下に維持することが難しい。これがkW級の超ハイパワーレーザー用途ともなれば、外径を10mm以上にまで太くしていかないと出力ビームのスポット径変化率を10%以下に維持できないことは当業者であれば容易に想到できる。
【0008】
しかしながら単に材料径を太くしていっただけでは、実際のレーザーパワー適用範囲を大きくしていくことは困難である。材料径が太くなるにつれて材料中に残存する欠陥、特に酸素欠損の排出が難しくなるためである。
【0009】
ところで、従来そうしたファラデー回転子の太さに対応して材料欠陥、特に酸素欠損の排出度合いを管理するための製造方法について言及された公知例は見当たらない。ちなみに、該酸素欠損はアニール処理により低減させることが可能である。また、特許文献1以下の公知例本文中にはアニール工程についての言及もある。ただし該公知例では、いずれの特許文献においても好ましいアニール処理条件範囲を示しているのみで、ファラデー回転子の太さに対応してアニール処理条件を正確に管理するための知見については何ら例示も示唆もなされていない。
【先行技術文献】
【特許文献】
【0010】
特開2019-199386号公報
国際公開第2022/054596号
特開2019-104674号公報
特開2019-207340号公報
特開2019-199078号公報
特開2019-199079号公報
国際公開第2022/054593号
国際公開第2022/054515号
特開2023-064774号公報
特開2023-082887号公報
特開2023-128125号公報
国際公開第2022/054595号
国際公開第2022/085107号
国際公開第2022/054592号
国際公開第2022/054594号
特開2023-128117号公報
【発明の概要】
【発明が解決しようとする課題】
(【0011】以降は省略されています)
この特許をJ-PlatPat(特許庁公式サイト)で参照する
関連特許
信越化学工業株式会社
化粧料
1か月前
信越化学工業株式会社
電磁波遮蔽部材
1か月前
信越化学工業株式会社
硬化性樹脂組成物
10日前
信越化学工業株式会社
炭化金属被覆材料
18日前
信越化学工業株式会社
コーティング剤組成物
9日前
信越化学工業株式会社
熱軟化性熱伝導性組成物
10日前
信越化学工業株式会社
レジストパターン形成方法
1か月前
信越化学工業株式会社
レジストパターン形成方法
1か月前
信越化学工業株式会社
光ファイバ母材の製造方法
1か月前
信越化学工業株式会社
複合基板およびその製造方法
1か月前
信越化学工業株式会社
セルロースエーテルの製造方法
2日前
信越化学工業株式会社
ガラスクロス及びその製造方法
10日前
信越化学工業株式会社
非晶質固体分散体を含む複合物
1か月前
信越化学工業株式会社
オルガノポリシロキサンを含む冷媒
23日前
信越化学工業株式会社
オルガノポリシロキサンを含む冷媒
23日前
信越化学工業株式会社
光ファイバ用多孔質母材の製造装置
1か月前
信越化学工業株式会社
オルガノポリシロキサンを含む冷媒
23日前
信越化学工業株式会社
レジスト組成物及びパターン形成方法
1か月前
信越化学工業株式会社
縮合硬化型熱伝導性シリコーン組成物
9日前
信越化学工業株式会社
レジスト組成物及びパターン形成方法
1か月前
信越化学工業株式会社
パターン形成方法およびレジスト材料
1か月前
信越化学工業株式会社
レジスト組成物及びパターン形成方法
1か月前
信越化学工業株式会社
レジスト組成物及びパターン形成方法
1か月前
信越化学工業株式会社
シリコーンゴム組成物及びその硬化物
2か月前
信越化学工業株式会社
酸化物単結晶複合基板およびその製造方法
1か月前
信越化学工業株式会社
室温硬化性オルガノポリシロキサン組成物
1か月前
信越化学工業株式会社
熱伝導性シリコーン組成物及びその硬化物
1か月前
信越化学工業株式会社
磁気冷凍材料の製造方法及び磁気冷凍材料
3日前
信越化学工業株式会社
熱伝導性シリコーン組成物及びその硬化物
25日前
信越化学工業株式会社
熱伝導性シリコーン組成物、硬化物及び製造方法
1か月前
信越化学工業株式会社
第四級アンモニウム修飾シリカ分散液の製造方法
2日前
信越化学工業株式会社
ファラデー回転子及び光アイソレータの製造方法
1か月前
信越化学工業株式会社
シロキサン変性ポリエステル樹脂及びその硬化物
1か月前
信越化学工業株式会社
超音波カップリング材複合膜及び超音波検査方法
17日前
信越化学工業株式会社
含窒素多官能オルガノキシシラン化合物の製造方法
25日前
信越化学工業株式会社
オルガノポリシロキサン及びこれを含有する化粧料
1か月前
続きを見る
他の特許を見る