TOP
|
特許
|
意匠
|
商標
特許ウォッチ
Twitter
他の特許を見る
公開番号
2025177707
公報種別
公開特許公報(A)
公開日
2025-12-05
出願番号
2024084768
出願日
2024-05-24
発明の名称
流体放出機構、及びこの機構を備えた内燃機関
出願人
ダイハツインフィニアース株式会社
代理人
個人
,
個人
,
個人
主分類
F01N
5/00 20060101AFI20251128BHJP(機械または機関一般;機関設備一般;蒸気機関)
要約
【課題】高温の流体に曝されることによる放出部の性能低下を防ぎつつ、放出部を正常に作動させる。
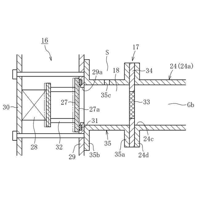
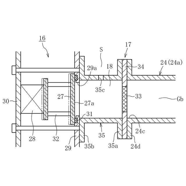
【解決手段】この流体放出機構は、流体Gbが流動可能な流体系14と、
流体系14に接続され、流体系14を流動する流体Gbが第一圧力以上の場合に流体Gbを流体系14の外部空間Sに放出可能な放出部16と、流体系14に設けられ、流体Gbから放出部16を遮断する遮断部17と、放出部16と遮断部17との間に形成された抑熱空間18と、抑熱空間18と外部空間Sとを連通する連通部35cとを備える。
【選択図】図2
特許請求の範囲
【請求項1】
流体が流動可能な流体系と、
前記流体系に接続され、前記流体系を流動する前記流体が第一圧力以上の場合に前記流体を前記流体系の外部空間に放出可能な放出部と、
前記流体系に設けられ、前記流体から前記放出部を遮断する遮断部と、
前記放出部と前記遮断部との間に掲載された抑熱空間と、
前記抑熱空間と前記外部空間とを連通する連通部と、
を備える流体放出機構。
続きを表示(約 320 文字)
【請求項2】
前記遮断部は、前記流体が第二圧力未満の場合に前記流体から前記放出部を遮断しかつ前記第二圧力以上の場合に前記遮断した状態が解除されるように構成される請求項1に記載の流体放出機構。
【請求項3】
前記第二圧力は、前記第一圧力よりも高い値に設定される請求項2に記載の流体放出機構。
【請求項4】
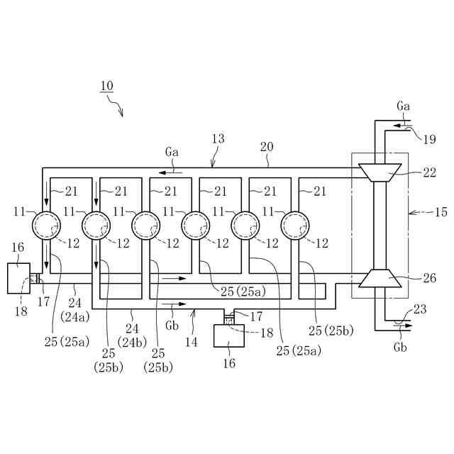
前記流体系は、内燃機関の燃焼室と接続される排気管を有し、
前記放出部が前記排気管に接続されると共に、前記排気管と前記放出部との間に前記遮断部が配設され、前記放出部と前記遮断部とが連結管で連結されかつ前記放出部と前記遮断部と前記連結管とで前記抑熱空間が画成される請求項1に記載の流体放出機構。
発明の詳細な説明
【技術分野】
【0001】
本発明は、流体放出機構、及びこの機構を備えた内燃機関に関する。
続きを表示(約 1,900 文字)
【背景技術】
【0002】
例えばディーゼルエンジンなどの内燃機関には、各シリンダの排気バルブから排出された排気ガスを合流させて排気口から外部に排出するための排気ガス流路が設けられている。また、この排気ガス流路の排気口よりも上流側には過給機が設けられており、過給機のタービンが排気ガスの流れを受けて回転することで、タービンと同軸に連結されかつ外気の取り込み口から吸気バルブに至る給気流路上に配設されたコンプレッサを作動させる。これにより、取り込んだ空気が圧縮されて燃焼室に供給されるようになっている(例えば、特許文献1を参照)。
【0003】
また、この種の流路には、何らかの理由で排気ガスの圧力が異常に上昇した際、高圧状態の排気ガスを逃がすための安全弁が設けられるのが一般的である。すなわち、排気ガスが通常の流動状態においては、上記流路に設けられた排気ガスの逃がし口が、ばね等で付勢された状態の安全弁の弁体で閉塞される一方、排気ガスの圧力が所定の大きさを超えて上昇した際、高圧状態の排気ガラスが弁体を押圧する力がばねによる付勢力を上回ることで、弁体と逃がし口との間に隙間が生じ、高圧状態の排気ガスが上記流路の外部に排出されるようになっている(例えば、特許文献2を参照)。
【先行技術文献】
【特許文献】
【0004】
特開2014-234733号公報
特開2000-126323号公報
【発明の概要】
【発明が解決しようとする課題】
【0005】
ところで、上述した安全弁は排気ガス流路の逃がし口に設けられることから、安全弁のうち逃がし口の近傍に位置する部分が常に排気ガスに曝されることになる。内燃機関の排気ガスは高温であるから、安全弁の中でも相対的に耐熱性に乏しい部分(例えば弁体と当接するシール部など)が高温の排気ガスに曝されて加熱されることで、劣化を招くおそれが生じる。シール部が劣化すると、弁体とのシール性能が低下し、弁体との隙間から排気ガスが漏れ出す懸念が生じる。
【0006】
上述した問題は何も内燃機関の排気ガス流路に設けられた安全弁に限った問題ではなく、高温の流体が流動する流動系に安全弁をはじめ流体系の外に流体を放出する機能を有する部分を設ける場合全てに起こり得る。
【0007】
以上の事情に鑑み、本明細書では、高温の流体に曝されることによる流体放出部の性能低下を防ぎつつ、当該放出部を正常に作動可能とすることを、解決すべき技術課題とする。
【課題を解決するための手段】
【0008】
前記課題の解決は、本発明に係る流体放出機構によって達成される。すなわち、この放出機構は、流体が流動可能な流体系と、流体系に接続され、流体系を流動する流体が第一圧力以上の場合に流体を流体系の外部空間に放出可能な放出部と、流体系に設けられ、流体から放出部を遮断する遮断部と、放出部と遮断部との間に形成された抑熱空間と、抑熱空間と外部空間とを連通する連通部とを備える点をもって特徴付けられる。
【0009】
このように本発明に係る流体放出機構では、流体から放出部を遮断する遮断部を設けると共に、放出部と遮断部との間に、遮断部から放出部への熱伝達を抑制する抑熱空間を介在させるようにしたので、放出部が流体に直接的に曝される事態を回避することができる。よって、高温の流体により放出部が耐熱限度を超えて上昇することによる劣化ないし破損を可及的に防止することが可能となる。また、抑熱空間と流体系の外部空間とを連通する連通部を設けることで、たとえ高温の流体により遮断部の温度が上昇して隣接する抑熱空間が加熱された場合であっても、当該空間内の気体を外部空間に逃がすことができる。よって、抑熱空間が加熱により膨張することで放出部に過度の圧力が作用して不意の放出が生じる事態を回避することができる。以上より、本発明に係る流体放出機構によれば、放出部の温度上昇を抑制して放出部の劣化を防止しつつも、流体の不要な放出を回避して放出部を正常に作動させることが可能となる。
【0010】
また、本発明に係る流体放出機構において、放出部は、流体の圧力に応じて可動する弁体と、流体の圧力に抗して弁体を付勢する付勢部材とを有し、流体が第一圧力未満の場合に弁体が流体系と外部空間との間を閉塞しかつ第一圧力以上の場合に開放される開閉弁装置であってもよい。
(【0011】以降は省略されています)
この特許をJ-PlatPat(特許庁公式サイト)で参照する
関連特許
株式会社三五
排気浄化装置
今日
株式会社豊田自動織機
エンジン式産業車両
1か月前
トヨタ自動車株式会社
計測システム
1か月前
スズキ株式会社
内燃機関の制御装置
7日前
株式会社SUBARU
排気浄化装置
7日前
トヨタ自動車株式会社
エンジン
15日前
トヨタ自動車株式会社
エンジン
16日前
本田技研工業株式会社
排気装置
1か月前
本田技研工業株式会社
排気装置
1か月前
本田技研工業株式会社
排気装置
1か月前
株式会社ミクニ
二次空気供給システム
1日前
トヨタ自動車株式会社
エンジン
7日前
株式会社三五
ハイブリッド車の排気システム
16日前
株式会社SUBARU
エンジン制御装置
28日前
株式会社クボタ
多目的車両
1か月前
株式会社クボタ
多目的車両
1か月前
トヨタ自動車株式会社
水素エンジン
1か月前
トヨタ自動車株式会社
異常診断装置
1か月前
トヨタ自動車株式会社
油量判定装置
29日前
トヨタ自動車株式会社
排気浄化装置
16日前
トヨタ自動車株式会社
車両装置
7日前
マレリ株式会社
消音器
1か月前
株式会社アイシン
冷却モジュール
28日前
トヨタ自動車株式会社
内燃機関の制御装置
1か月前
日産自動車株式会社
内燃機関
28日前
トヨタ自動車株式会社
内燃機関の制御装置
1か月前
マツダ株式会社
排気システム
1か月前
本田技研工業株式会社
冷却液タンク
7日前
トヨタ自動車株式会社
オイルタンク
16日前
井関農機株式会社
エンジン
15日前
株式会社豊田自動織機
排気浄化装置
1か月前
トヨタ自動車株式会社
車両のエンジンルーム構造
1か月前
三菱重工業株式会社
メタン酸化触媒装置
1か月前
株式会社三五
排気浄化装置
15日前
トヨタ自動車株式会社
車両の制御装置
1か月前
いすゞ自動車株式会社
排気処理装置
15日前
続きを見る
他の特許を見る