TOP
|
特許
|
意匠
|
商標
特許ウォッチ
Twitter
他の特許を見る
公開番号
2025177522
公報種別
公開特許公報(A)
公開日
2025-12-05
出願番号
2024084436
出願日
2024-05-24
発明の名称
低置換度ヒドロキシプロピルセルロースの製造方法
出願人
信越化学工業株式会社
代理人
弁理士法人牛木国際特許事務所
主分類
C08B
11/02 20060101AFI20251128BHJP(有機高分子化合物;その製造または化学的加工;それに基づく組成物)
要約
【課題】十分な結合性を維持したまま良好な崩壊性を有する低置換度ヒドロキシプロピルセルロースの製造方法の提供。
【解決手段】
パルプと、アルカリ金属水酸化物溶液とを接触させてアルカリセルロースを得る工程と、
前記アルカリセルロースと酸化プロピレンとを反応させて反応生成物を得る工程と、
前記反応生成物を少なくとも酸を含む水中に分散し、一部溶解した後、酸で中和して粗低置換度ヒドロキシプロピルセルロースを析出させる工程と、
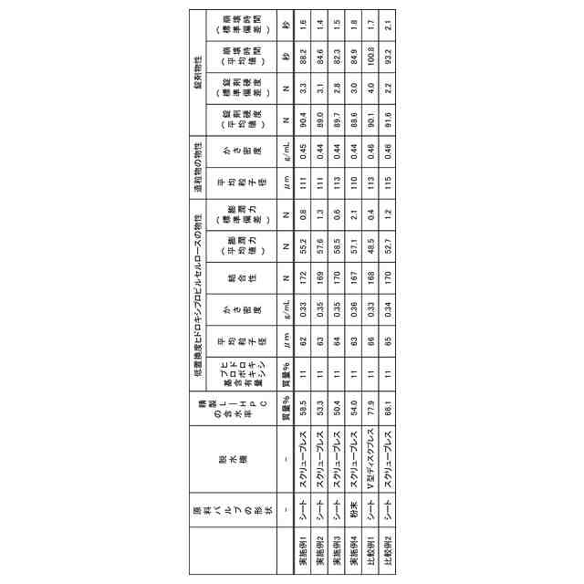
前記粗低置換度ヒドロキシプロピルセルロースをスクリュープレスにより脱水して、含水率が50~60質量%の精製低置換度ヒドロキシプロピルセルロースを得る工程と、
前記精製低置換度ヒドロキシプロピルセルロースを乾燥及び粉砕する工程と
を少なくとも含む、ヒドロキシプロポキシ基含有量が5~16質量%である低置換度ヒドロキシプロピルセルロースの製造方法。
【選択図】なし
特許請求の範囲
【請求項1】
パルプと、アルカリ金属水酸化物溶液とを接触させてアルカリセルロースを得る工程と、
前記アルカリセルロースと酸化プロピレンとを反応させて反応生成物を得る工程と、
前記反応生成物を少なくとも酸を含む水中に分散し、一部溶解した後、酸で中和して粗低置換度ヒドロキシプロピルセルロースを析出させる工程と、
前記粗低置換度ヒドロキシプロピルセルロースをスクリュープレスにより脱液して、含水率が50~60質量%の精製低置換度ヒドロキシプロピルセルロースを得る工程と、
前記精製低置換度ヒドロキシプロピルセルロースを乾燥及び粉砕する工程と
を少なくとも含む、ヒドロキシプロポキシ基含有量が5~16質量%である低置換度ヒドロキシプロピルセルロースの製造方法。
続きを表示(約 81 文字)
【請求項2】
前記スクリュープレスのスクリュー軸入口温度が100~160℃である請求項1に記載の低置換度ヒドロキシプロピルセルロースの製造方法。
発明の詳細な説明
【技術分野】
【0001】
本発明は、医薬品又は食品分野において固形製剤中に崩壊剤や結合剤として添加される、良好な崩壊性を有する低置換度ヒドロキシプロピルセルロースの製造方法に関するものである。
続きを表示(約 2,200 文字)
【背景技術】
【0002】
医薬品又は健康食品等の固形製剤は、それらの中に含有される崩壊剤が、吸水、膨潤することによって崩壊する。崩壊剤としては、例えば、低置換度ヒドロキシプロピルセルロース、カルボキシメチルセルロース及びそのカルシウム塩、デンプン及びその誘導体等を挙げることができる。
特に医薬品分野では、新規に開発される薬物について不安定なものが増え、利用できる添加物も相互作用の観点から制約されてきている。こうした中で低置換度ヒドロキシプロピルセルロース(以下、「L-HPC」とも記載する)は、非イオン性の崩壊剤、結合剤として幅広く使用されてきており、好ましい添加剤といえる。
【0003】
医薬品又は食品の固形製剤の剤型の一つである錠剤は、粉体を一定の形状に圧縮成形した固形製剤であり、取り扱いが容易である等の利点を有し、特に医薬品分野においては全生産額に占める錠剤の比率は約50%と最も汎用されている。なお、錠剤の製造方法としては、乾式直接打錠法、乾式造粒打錠法、押出造粒打錠法、湿式造粒打錠法等が挙げられる。
【0004】
L-HPCの製造方法として、アルカリセルロースのエーテル化反応終了後、全アルカリ量を中和するのに要する酸の5~80%を含む水中に該エーテル化反応の反応生成物を分散させ、L-HPCの一部分を溶解させることにより、繊維状形態の粒子を制御する方法が知られている(特許文献1)。この方法で製造されたL-HPCは、結合性に優れ、乾式直接打錠法及び湿式造粒打錠法に用いると、高い硬度を有する錠剤が得られることが開示されている。
【先行技術文献】
【特許文献】
【0005】
特開昭51-063927号公報
【発明の概要】
【発明が解決しようとする課題】
【0006】
しかし、特許文献1に記載の方法で得られたL-HPCを湿式造粒打錠等に用いる際、結合性は十分であるが崩壊性が不足する場合があり、更なる崩壊性の向上が求められていた。
本発明は、前記従来技術の欠点を解消するためになされたものであり、十分な結合性を維持したまま良好な崩壊性を有するL-HPCの製造方法を提供することを目的とする。
【課題を解決するための手段】
【0007】
本発明者らは、上記目的を達成するため鋭意研究した結果、L-HPCの製造時、スクリュープレスを用いて含水率が50~60質量%になるように脱水することにより、驚くべきことに粉体物性及び結合性がほとんど変化しないにもかかわらず、膨潤力が増加して崩壊性が改善することを見出し、本発明を完成するに至った。
本発明によれば、以下の低置換度ヒドロキシプロピルセルロースの製造方法が提供される。
[1]
パルプと、アルカリ金属水酸化物溶液とを接触させてアルカリセルロースを得る工程と、
前記アルカリセルロースと酸化プロピレンとを反応させて反応生成物を得る工程と、
前記反応生成物を少なくとも酸を含む水中に分散し、一部溶解した後、酸で中和して粗低置換度ヒドロキシプロピルセルロースを析出させる工程と、
前記粗低置換度ヒドロキシプロピルセルロースをスクリュープレスにより脱液して、含水率が50~60質量%の精製低置換度ヒドロキシプロピルセルロースを得る工程と、
前記精製低置換度ヒドロキシプロピルセルロースを乾燥及び粉砕する工程と
を少なくとも含む、ヒドロキシプロポキシ基含有量が5~16質量%である低置換度ヒドロキシプロピルセルロースの製造方法。
[2]
前記スクリュープレスのスクリュー軸入口温度が100~160℃である[1]に記載の低置換度ヒドロキシプロピルセルロースの製造方法。
【発明の効果】
【0008】
本発明の製造方法により得られるL-HPCは、十分な結合性を維持したまま良好な崩壊性を有するため、固形製剤の崩壊時間を短縮することができ、速やかな薬効発現を可能とする。
【図面の簡単な説明】
【0009】
脱液工程に用いるスクリュープレスの一例を示す概略図である。
膨潤力測定に用いる治具の一例を示す概略図の正面図である。
膨潤力測定に用いる治具の一例を示す概略図の底面図である。
図2の治具を用いた膨潤力測定方法を示す概略図である。
【発明を実施するための形態】
【0010】
以下、本発明について詳しく説明する。
本発明のL-HPCの製造方法は、パルプとアルカリ金属水酸化物溶液とを接触させてアルカリセルロースを得る工程と、前記アルカリセルロースと酸化プロピレンとを反応させて反応生成物を得る工程と、前記反応生成物を少なくとも酸を含む水中に分散し、一部溶解した後、酸で中和して粗L-HPCを析出させる工程と、前記粗L-HPCをスクリュープレスにより脱液して、含水率が50~60質量%の精製L-HPCを得る工程と、前記精製L-HPCを乾燥及び粉砕する工程とを少なくとも含む。
スクリュープレスとは、脱液原料投入部と脱液品排出部の容積変化を利用することにより生じる圧搾力を用いて固液分離を行う装置をいう。
(【0011】以降は省略されています)
この特許をJ-PlatPat(特許庁公式サイト)で参照する
関連特許
信越化学工業株式会社
化粧料
1か月前
信越化学工業株式会社
電磁波遮蔽部材
1か月前
信越化学工業株式会社
硬化性樹脂組成物
10日前
信越化学工業株式会社
炭化金属被覆材料
18日前
信越化学工業株式会社
コーティング剤組成物
9日前
信越化学工業株式会社
熱軟化性熱伝導性組成物
10日前
信越化学工業株式会社
レジストパターン形成方法
1か月前
信越化学工業株式会社
レジストパターン形成方法
1か月前
信越化学工業株式会社
光ファイバ母材の製造方法
1か月前
信越化学工業株式会社
複合基板およびその製造方法
1か月前
信越化学工業株式会社
非晶質固体分散体を含む複合物
1か月前
信越化学工業株式会社
ガラスクロス及びその製造方法
10日前
信越化学工業株式会社
セルロースエーテルの製造方法
2日前
信越化学工業株式会社
オルガノポリシロキサンを含む冷媒
23日前
信越化学工業株式会社
光ファイバ用多孔質母材の製造装置
1か月前
信越化学工業株式会社
オルガノポリシロキサンを含む冷媒
23日前
信越化学工業株式会社
オルガノポリシロキサンを含む冷媒
23日前
信越化学工業株式会社
縮合硬化型熱伝導性シリコーン組成物
9日前
信越化学工業株式会社
パターン形成方法およびレジスト材料
1か月前
信越化学工業株式会社
レジスト組成物及びパターン形成方法
1か月前
信越化学工業株式会社
レジスト組成物及びパターン形成方法
1か月前
信越化学工業株式会社
レジスト組成物及びパターン形成方法
1か月前
信越化学工業株式会社
レジスト組成物及びパターン形成方法
1か月前
信越化学工業株式会社
室温硬化性オルガノポリシロキサン組成物
1か月前
信越化学工業株式会社
酸化物単結晶複合基板およびその製造方法
1か月前
信越化学工業株式会社
磁気冷凍材料の製造方法及び磁気冷凍材料
3日前
信越化学工業株式会社
熱伝導性シリコーン組成物及びその硬化物
1か月前
信越化学工業株式会社
熱伝導性シリコーン組成物及びその硬化物
25日前
信越化学工業株式会社
第四級アンモニウム修飾シリカ分散液の製造方法
2日前
信越化学工業株式会社
熱伝導性シリコーン組成物、硬化物及び製造方法
1か月前
信越化学工業株式会社
シロキサン変性ポリエステル樹脂及びその硬化物
1か月前
信越化学工業株式会社
超音波カップリング材複合膜及び超音波検査方法
17日前
信越化学工業株式会社
オルガノポリシロキサン及びこれを含有する化粧料
1か月前
信越化学工業株式会社
含窒素多官能オルガノキシシラン化合物の製造方法
25日前
信越化学工業株式会社
低置換度ヒドロキシプロピルセルロースの製造方法
2日前
信越化学工業株式会社
生体電極組成物、生体電極、及び生体電極の製造方法
9日前
続きを見る
他の特許を見る