TOP
|
特許
|
意匠
|
商標
特許ウォッチ
Twitter
他の特許を見る
10個以上の画像は省略されています。
公開番号
2025177395
公報種別
公開特許公報(A)
公開日
2025-12-05
出願番号
2024084195
出願日
2024-05-23
発明の名称
管路図作成支援装置、管路図作成支援方法、管路図作成支援用プログラム及び管路図作成支援システム
出願人
株式会社クボタ
代理人
個人
,
個人
主分類
G06F
30/12 20200101AFI20251128BHJP(計算;計数)
要約
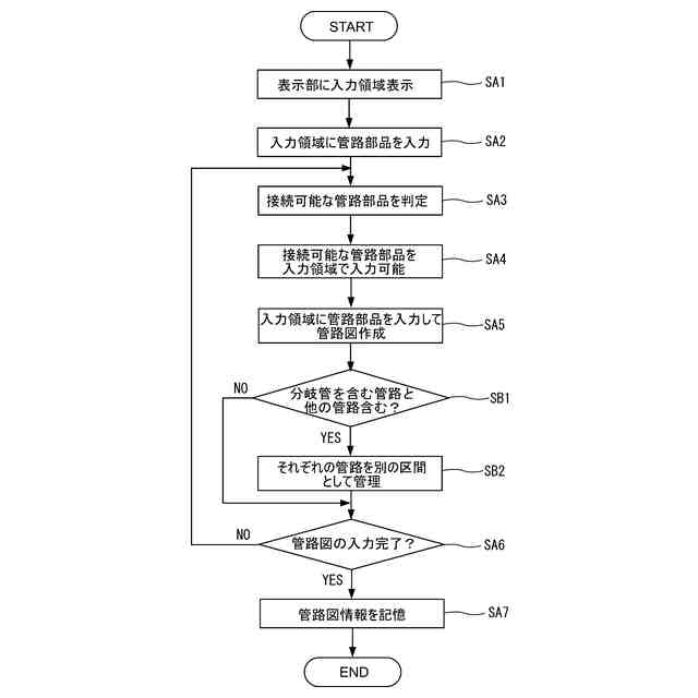
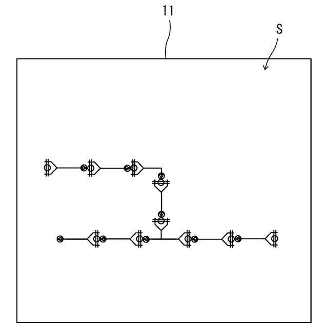
【課題】管路図の作成を支援する管路図作成支援装置において、管路図を容易に作成可能な構成を実現する。
【解決手段】管路図作成支援装置1は、管路図を作成する際に入力操作を行う入力領域Sを表示する表示部11と、入力領域Sに対する入力操作によって、前記管路図を作成する管路図作成部12と、管路図作成部12によって作成された前記管路図を記憶する記憶部13と、を有する。管路図作成部12は、入力領域Sに対する入力操作によって前記管路図を作成する際に、入力領域Sに入力された入力管路部品IPに対して接続可能な管路部品Pを判定する管路部品判定部21と、管路部品判定部21によって接続可能であると判定された管路部品Pを、入力領域Sに入力可能とする入力制御部22と、を有する。
【選択図】図1
特許請求の範囲
【請求項1】
管路図の作成を支援する管路図作成支援装置であって、
前記管路図を作成する際に入力操作を行う入力領域を表示する表示部と、
前記入力領域に対する入力操作によって、前記管路図を作成する管路図作成部と、
前記管路図作成部によって作成された前記管路図を記憶する記憶部と、
を有し、
前記管路図作成部は、
前記入力領域に対する入力操作によって前記管路図を作成する際に、前記入力領域に入力された入力管路部品に対して接続可能な管路部品を判定する管路部品判定部と、
前記管路部品判定部によって接続可能であると判定された管路部品を、前記入力領域に入力可能とする入力制御部と、
を有する、
管路図作成支援装置。
続きを表示(約 1,400 文字)
【請求項2】
請求項1に記載の管路図作成支援装置において、
前記管路部品は、分岐管であり、
前記管路部品判定部は、前記入力管路部品に対して接続可能な分岐管を判定する、
管路図作成支援装置。
【請求項3】
請求項1に記載の管路図作成支援装置において、
前記管路部品判定部は、前記入力管路部品に対して接続可能な前記管路部品の種類及び姿勢の少なくとも一方を判定する、
管路図作成支援装置。
【請求項4】
請求項1に記載の管路図作成支援装置において、
前記管路部品判定部は、前記入力管路部品における接続部分の口径、管厚及び継手形式の少なくとも一つに基づいて、前記入力管路部品に対して接続可能な管路部品を判定する、
管路図作成支援装置。
【請求項5】
請求項1に記載の管路図作成支援装置において、
前記管路図作成部は、
分岐管を含む第1管路と前記分岐管に接続される第2管路とをそれぞれ別の区間の部分管路図として作成する部分管路図作成部をさらに有する、
管路図作成支援装置。
【請求項6】
請求項1に記載の管路図作成支援装置において、
前記管路図作成部は、
分岐管を含む第1管路を構成する管路部品及び接続部分と、前記分岐管に接続される第2管路を構成する管路部品及び接続部分とに、それぞれ別の番号を付与する番号付与部をさらに有する、
管路図作成支援装置。
【請求項7】
管路図を作成するための管路図作成支援方法であって、
表示部に、前記管路図を作成する際に入力操作を行う入力領域を表示する入力領域表示ステップと、
前記表示部に表示された前記入力領域に対する入力操作によって、管路図を作成する管路図作成ステップと、
前記管路図作成ステップで作成された前記管路図に関する管路図情報を記憶する記憶ステップと、
を有し、
前記管路図作成ステップは、
前記入力領域に対する入力操作によって前記管路図を作成する際に、前記入力領域に入力された入力管路部品に対して接続可能な管路部品を判定する管路部品判定ステップと、
前記管路部品判定ステップによって接続可能であると判定された管路部品を、前記入力領域に入力可能とする入力制御ステップと、
を有する、
管路図作成支援方法。
【請求項8】
請求項7に記載の管路図作成支援方法において、
前記管路部品は、分岐管であり、
前記管路部品判定ステップでは、前記入力管路部品に対して接続可能な分岐管を判定する、
管路図作成支援方法。
【請求項9】
請求項7に記載の管路図作成支援方法において、
前記管路部品判定ステップでは、前記入力管路部品に対して接続可能な前記管路部品の種類及び姿勢の少なくとも一方を判定する、
管路図作成支援方法。
【請求項10】
請求項7に記載の管路図作成支援方法において、
前記管路図作成ステップは、
分岐管を含む第1管路と前記分岐管に接続される第2管路とをそれぞれ別の区間の部分管路図として作成する区間管路作成ステップをさらに有する、
管路図作成支援方法。
(【請求項11】以降は省略されています)
発明の詳細な説明
【技術分野】
【0001】
本発明は、管路図の作成を支援する管路図作成支援装置、管路図作成支援方法、管路図作成支援用プログラム及び管路図作成支援システムに関する。
続きを表示(約 1,500 文字)
【背景技術】
【0002】
一般的に、管路工事では、管路図に基づいて工事が行われるとともに、現場の工事状況に応じて前記管路図を修正または新たな管路図を作成する場合がある。このような管路図を作成するための管路図作成支援方法が知られている。例えば特許文献1には、一方の管路と他方の管路との間を接続するための配管の設計を行うに際し、前記一方の管路と前記他方の管路との間に配置可能な複数の管によって構成される配管パターンを複数種類準備しておき、前記一方の管路と前記他方の管路との敷設状況に対応した任意の配管パターンを選択し、前記一方の管路と前記他方の管路との敷設状況に応じて、選択された前記配管パターンとこの配管パターンを構成する複数の管とについての仕様を決定する配管の設計方法が開示されている。
【0003】
これにより、前記配管の設計方法では、新設管と既設管などのように、一方の管路と他方の管路とを接続する配管の設計を容易に行える。
【先行技術文献】
【特許文献】
【0004】
特開2007-328550号公報
【発明の概要】
【発明が解決しようとする課題】
【0005】
上述の特許文献1の配管の設計方法では、一方の管路と他方の管路とを接続する配管を、設計画面上で複数種類の配管パターンの中から選択して設計することができる。しかしながら、前記設計方法では、設計しようとする配管に合わせて、複数種類の配管パターンの中から最適なパターンを選択し、配管寸法及び姿勢などの仕様を入力する必要がある。
【0006】
ところで、管路工事で用いられる管路部品の種類は多く、前記管路部品の姿勢も管路に応じて様々である。そのため、管路図を作成する際に、多くの選択対象の中から最適な管路部品を選択する必要があり、管路図作成の作業性があまりよくない。
【0007】
これに対し、例えば、入力した管路部品に対して接続可能な管路部品を容易に選択できて、管路図を容易に作成できることが求められている。すなわち、管路図を容易に作成可能な装置が求められている。
【0008】
本発明の目的は、管路図の作成を支援する管路図作成支援装置において、管路図を容易に作成可能な構成を実現することにある。
【課題を解決するための手段】
【0009】
本発明の一実施形態に係る管路図作成支援装置は、管路図の作成を支援する。前記管路図作成支援装置は、前記管路図を作成する際に入力操作を行う入力領域を表示する表示部と、前記入力領域に対する入力操作によって、前記管路図を作成する管路図作成部と、前記管路図作成部によって作成された前記管路図を記憶する記憶部と、を有する。前記管路図作成部は、前記入力領域に対する入力操作によって前記管路図を作成する際に、前記入力領域に入力された入力管路部品に対して接続可能な管路部品を判定する管路部品判定部と、前記管路部品判定部によって接続可能であると判定された管路部品を、前記入力領域に入力可能とする入力制御部と、を有する(第1の構成)。
【0010】
上述の構成では、管路図を作成する際に、入力領域に入力された入力管路部品に対して接続可能と判断された管路部品を、前記入力領域に入力可能とすることにより、選択可能な管路部品を限定することができる。これにより、前記入力領域に管路部品を入力する際に、管路部品を容易に選択することができる。
(【0011】以降は省略されています)
この特許をJ-PlatPat(特許庁公式サイト)で参照する
関連特許
株式会社クボタ
移植機
1か月前
株式会社クボタ
作業車
1か月前
株式会社クボタ
作業車
1か月前
株式会社クボタ
作業車
23日前
株式会社クボタ
作業車
1か月前
株式会社クボタ
作業機
29日前
株式会社クボタ
作業車
1か月前
株式会社クボタ
作業車
1か月前
株式会社クボタ
作業車
1か月前
株式会社クボタ
作業車
1か月前
株式会社クボタ
作業車
21日前
株式会社クボタ
作業車
1か月前
株式会社クボタ
作業車
1か月前
株式会社クボタ
移植機
1か月前
株式会社クボタ
作業車
1か月前
株式会社クボタ
作業車
1か月前
株式会社クボタ
作業車
1か月前
株式会社クボタ
作業車
1か月前
株式会社クボタ
作業車
21日前
株式会社クボタ
作業車
1か月前
株式会社クボタ
作業車
2か月前
株式会社クボタ
作業車
2か月前
株式会社クボタ
作業機
15日前
株式会社クボタ
作業車
7日前
株式会社クボタ
作業車
2か月前
株式会社クボタ
作業機
2か月前
株式会社クボタ
作業車
2か月前
株式会社クボタ
作業車両
2か月前
株式会社クボタ
作業車両
2か月前
株式会社クボタ
作業車両
2か月前
株式会社クボタ
作業車両
2か月前
株式会社クボタ
作業車両
1か月前
株式会社クボタ
農業機械
7日前
株式会社クボタ
作業車両
1か月前
株式会社クボタ
作業車両
2か月前
株式会社クボタ
作業車両
2か月前
続きを見る
他の特許を見る