TOP
|
特許
|
意匠
|
商標
特許ウォッチ
Twitter
他の特許を見る
公開番号
2025177281
公報種別
公開特許公報(A)
公開日
2025-12-05
出願番号
2024083951
出願日
2024-05-23
発明の名称
方位指示装置、太陽光発電装置、及び、プログラム
出願人
個人
代理人
個人
,
個人
主分類
G01C
17/04 20060101AFI20251128BHJP(測定;試験)
要約
【課題】方位が経時変化する目標物の方位に対し、目標時刻に調整対象部を正対させる調整作業を容易にする。
【解決手段】方位指示部2が支持部3に対して相対移動可能に支持される方位指示装置1であって、方位が経時変化する目標物の方位に正対するように調整される調整対象部4と、互いに異なる2以上の時刻をそれぞれ表す複数の時刻標示部5とが、お互いの位置関係を固定した状態で支持部に設けられ、複数の時刻標示部は、それぞれ対応する時刻で目標物の方位に調整対象部が正対するように支持部を移動させたときに方位指示部が指示する指示位置にそれぞれ配置される。
【選択図】図1
特許請求の範囲
【請求項1】
方位指示部が支持部に対して相対移動可能に支持される方位指示装置であって、
方位が経時変化する目標物の方位に正対するように調整される調整対象部と、互いに異なる2以上の時刻をそれぞれ表す複数の時刻標示部とが、お互いの位置関係を固定した状態で前記支持部に設けられ、
前記複数の時刻標示部は、それぞれ対応する時刻で前記目標物の方位に前記調整対象部が正対するように前記支持部を移動させたときに前記方位指示部が指示する指示位置にそれぞれ配置されることを特徴とする方位指示装置。
続きを表示(約 570 文字)
【請求項2】
太陽光発電パネルと、前記太陽光発電パネル上に一体的に設けられる支持部に方位指示部が相対移動可能に支持された方位指示装置と、を備える太陽光発電装置であって、
前記支持部には、互いに異なる2以上の時刻をそれぞれ表す複数の時刻標示部が設けられ、
前記複数の時刻標示部は、それぞれ対応する時刻で太陽の方位に正対するように前記太陽光発電パネルを移動させたときに前記方位指示部が指示する指示位置にそれぞれ配置されることを特徴とする太陽光発電装置。
【請求項3】
表示手段を備える方位指示装置のコンピュータに実行されるプログラムであって、
所定方位を指示する方位指示画像を該所定方位の向きに応じて移動するように前記表示手段に表示させ、かつ、方位が経時変化する目標物の方位に正対するように調整される調整対象画像と、互いに異なる2以上の時刻をそれぞれ表す複数の時刻標示画像とを、お互いの位置関係が固定された状態で前記表示手段に表示させるとともに、前記複数の時刻標示画像を、それぞれ対応する時刻で前記目標物の方位に前記調整対象画像が正対するように前記表示手段を移動させたときに前記方位指示画像が指示する指示位置にそれぞれ表示させる制御手段として、前記コンピュータを機能させることを特徴とするプログラム。
発明の詳細な説明
【技術分野】
【0001】
本発明は、方位指示装置、太陽光発電装置、及び、プログラムに関するものである。
続きを表示(約 1,600 文字)
【背景技術】
【0002】
特許文献1には、磁針(方位指示部)により太陽電池(調整対象部)の取り付け方位を定められるようにした太陽電池装置が開示されている。この装置は、カバーの一部に磁針と方位目盛が設けられており、磁針が方位目盛に合致する位置で太陽電池の方向が太陽(目標物)に向くように、太陽電池がカバーに取り付けられている。
【発明の概要】
【発明が解決しようとする課題】
【0003】
ところが、従来の装置は、時刻によっては、太陽の方位に対して太陽電池が正対するように調整する作業が困難となるという課題がある。この課題は、方位が経時変化する目標物の方位に対して調整対象部を正対させる調整作業を行う場合に広く生じ得る。
【課題を解決するための手段】
【0004】
本発明は、方位指示部が支持部に対して相対移動可能に支持される方位指示装置であって、方位が経時変化する目標物の方位に正対するように調整される調整対象部と、互いに異なる2以上の時刻をそれぞれ表す複数の時刻標示部とが、お互いの位置関係を固定した状態で前記支持部に設けられ、前記複数の時刻標示部は、それぞれ対応する時刻で前記目標物の方位に前記調整対象部が正対するように前記支持部を移動させたときに前記方位指示部が指示する指示位置にそれぞれ配置されることを特徴とする。
【発明の効果】
【0005】
本発明によれば、方位が経時変化する目標物の方位に対し、目標時刻に調整対象部を正対させる調整作業を容易にすることができる。
【図面の簡単な説明】
【0006】
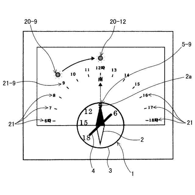
実施形態1に係る方位指示装置の構成を示す説明図。
9時の時刻に対応する時刻標示用印字に磁針の指示端部が合致するように文字盤の回転位置を調整したときの、太陽の方位と設置基準線との位置関係を示す説明図。
同方位指示装置により向きが調整される太陽光発電パネルの一例を示す説明図。
実施形態2の太陽光発電装置の一例を示す説明図。
同太陽光発電装置の変形例として、太陽光発電パネルに方位指示装置を着脱自在に固定する固定手段の一例を示す説明図。
実施形態のプログラムを実行するスマートフォンのディスプレイに表示される画面の一例を示す説明図。
【発明を実施するための形態】
【0007】
〔実施形態1〕
以下、本発明に係る方位指示装置の実施形態(実施形態1)について説明する。
本実施形態1では、可搬型の太陽光発電装置の太陽光発電パネルが目標時刻において目標物である太陽の方位に正対するように太陽光発電装置の向きを調整する際に使用される方位指示装置を例に挙げて説明する。ただし、本発明は、方位が経時変化する目標物の方位に対して調整対象部が正対するように調整する場合において広く適用可能である。
【0008】
図1は、本実施形態1に係る方位指示装置の構成を示す説明図である。
本実施形態1の方位指示装置1は、主に、方位指示部としての磁針2と、支持部としての文字盤3と、調整対象部としての設置基準線4と、時刻標示部としての時刻標示用印字5と、から構成されている。
【0009】
磁針2は、文字盤3上に相対移動可能(回転可能)に支持された磁石からなる長尺部材であり、地磁気の作用により長手方向一端部(S極側の端部)である指示端部2aが所定方位である南を指示する方位指示部として機能する。
【0010】
文字盤3は、磁針2の回転軸に対して直交する盤面を備え、その盤面上に設置基準線4及び時刻標示用印字5が印字されている。したがって、設置基準線4及び時刻標示用印字5はお互いの位置関係を固定した状態で文字盤3に設けられている。
(【0011】以降は省略されています)
この特許をJ-PlatPat(特許庁公式サイト)で参照する
関連特許
個人
視触覚センサ
1日前
個人
計量機能付き容器
26日前
株式会社カクマル
境界杭
16日前
甲神電機株式会社
電流検出装置
1か月前
日本精機株式会社
発光表示装置
9日前
ユニパルス株式会社
トルク変換器
1日前
ユニパルス株式会社
トルク変換器
1日前
ユニパルス株式会社
トルク変換器
1日前
株式会社トプコン
測量装置
8日前
大成建設株式会社
風洞実験装置
26日前
日本特殊陶業株式会社
ガスセンサ
24日前
日本特殊陶業株式会社
ガスセンサ
1日前
個人
非接触による電磁パルスの測定方法
29日前
日本特殊陶業株式会社
ガスセンサ
2日前
日本信号株式会社
距離画像センサ
29日前
日本特殊陶業株式会社
ガスセンサ
8日前
個人
計量具及び計量機能付き容器
26日前
個人
液位検視及び品質監視システム
24日前
株式会社タイガーカワシマ
揚穀装置
8日前
日置電機株式会社
絶縁抵抗測定装置
1日前
キーコム株式会社
画像作成システム
16日前
日本特殊陶業株式会社
センサ
10日前
株式会社不二越
X線測定装置
29日前
本陣水越株式会社
車載式計測標的物
3日前
株式会社マグネア
磁界検出素子
29日前
ユニパルス株式会社
トルク変換器、調整部材
1日前
理研計器株式会社
ガス検知装置
16日前
スズキ株式会社
タイヤ径算出システム
2日前
株式会社エルメックス
希釈液収容容器
26日前
IMV株式会社
振動試験システム
29日前
株式会社川島製作所
海苔の異物検査装置
22日前
株式会社アイシン
回転角検出装置
16日前
株式会社不二越
X線測定システム
1日前
東レ株式会社
異物検査装置および異物検査方法
1日前
合同会社画像技術研究所
カラーチャート
22日前
日本特殊陶業株式会社
化学センサ
1か月前
続きを見る
他の特許を見る