TOP
|
特許
|
意匠
|
商標
特許ウォッチ
Twitter
他の特許を見る
10個以上の画像は省略されています。
公開番号
2025177055
公報種別
公開特許公報(A)
公開日
2025-12-05
出願番号
2024083552
出願日
2024-05-22
発明の名称
校正方法
出願人
国立研究開発法人物質・材料研究機構
代理人
主分類
G01N
23/2273 20180101AFI20251128BHJP(測定;試験)
要約
【課題】X線光電子分光法で炭素含有の半導体を測定する場合の校正を正確に行うこと。
【解決手段】炭素含有の半導体に金属の第1の層を形成することと、前記第1の層が形成された前記半導体をX線光電子分光法で測定したときの前記金属の第1のエネルギ準位に由来した第1の結合エネルギを特定することと、前記第1の層が形成された前記半導体に絶縁体の第2の層を形成することと、前記第2の層をX線光電子分光法で測定したときの前記第1のエネルギ準位に由来した第2の結合エネルギを特定することと、前記第2の層をX線光電子分光法で測定したときの元素の第2のエネルギ準位に由来した第3の結合エネルギを、前記第1の結合エネルギと前記第2の結合エネルギとの差だけ校正した第4の結合エネルギを算出することとを含む、校正方法による。
【選択図】図10
特許請求の範囲
【請求項1】
炭素含有の半導体に金属の第1の層を形成することと、
前記第1の層が形成された前記半導体をX線光電子分光法で測定したときの前記金属の第1のエネルギ準位に由来した第1の結合エネルギを特定することと、
前記第1の層が形成された前記半導体に絶縁体の第2の層を形成することと、
前記第2の層をX線光電子分光法で測定したときの前記第1のエネルギ準位に由来した第2の結合エネルギを特定することと、
前記第2の層をX線光電子分光法で測定したときの元素の第2のエネルギ準位に由来した第3の結合エネルギを、前記第1の結合エネルギと前記第2の結合エネルギとの差だけ校正した第4の結合エネルギを算出することと、
を含む、校正方法。
続きを表示(約 1,100 文字)
【請求項2】
前記第1の層を形成することは、前記第1の層に開口を形成することを含み、
前記第2の層を形成することは、前記開口内の前記半導体に前記第2の層を形成することを含む、
請求項1に記載の校正方法。
【請求項3】
前記元素として炭素を採用したときの前記第4の結合エネルギと、前記元素として前記絶縁体の構成元素を採用したときの前記第4の結合エネルギとの第1の差を算出することと、
前記絶縁体の第3の層に含まれる前記構成元素の前記第2のエネルギ準位に由来した第5の結合エネルギと、前記第3の層の価電子帯上端(VBM)との第2の差を算出することと、
前記第1の層が形成された前記半導体に含まれる炭素の前記第2のエネルギ準位に由来した第6の結合エネルギと、前記半導体の価電子帯上端(VBM)との第3の差を算出することと、
前記第1の差と前記第2の差とを前記第3の差から減算した値を、前記半導体と前記第2の層との価電子帯オフセット(VBO)として算出することと、
を更に含む、請求項1又は請求項2に記載の校正方法。
【請求項4】
前記第3の層は前記第2の層よりも厚い、
請求項3に記載の校正方法。
【請求項5】
前記第2の層と前記第3の層は相が同じである、
請求項3又は請求項4に記載の校正方法。
【請求項6】
前記相は、アモルファス相である、
請求項5に記載の校正方法。
【請求項7】
前記第3の層をシリコン基板の上に形成することを更に有し、
前記第5の結合エネルギと前記第3の層の価電子帯上端(VBM)は、X線光電子分光法の測定値をC 1sの結合エネルギで校正した値である、
請求項3乃至請求項6のいずれか1項に記載の校正方法。
【請求項8】
前記半導体の価電子帯上端(VBM)は、前記第1の層が形成されていない状態での値である、
請求項3乃至請求項7のいずれか1項に記載の校正方法。
【請求項9】
前記第6の結合エネルギは、X線光電子分光法での測定値を、いずれの結合エネルギを用いて校正しない値である、
請求項3乃至請求項8のいずれか1項に記載の校正方法。
【請求項10】
前記金属は、Au(金)、Ag(銀)、Cu(銅)、Al(アルミニウム)、Ni(ニッケル)、Ti(チタン)、及びMg(マグネシウム)のいずれかである、
請求項1乃至請求項9のいずれか1項に記載の校正方法。
(【請求項11】以降は省略されています)
発明の詳細な説明
【技術分野】
【0001】
本発明は、校正方法に関する。
続きを表示(約 2,700 文字)
【背景技術】
【0002】
ダイヤモンド等の炭素系の半導体材料は、ワイドバンドギャップ、高熱伝導率、高耐圧、化学安定性、及び放射線耐性等の特徴を有しており、これらの特徴を活かした電子デバイスが検討されている。特に、ダイヤモンドを用いたMIS(Metal Insulator Semiconductor)キャパシタやMISトランジスタ(MISFET)は、高電力、高周波、及び高温の各特性に優れている。
【0003】
例えば、非特許文献1は、表面が水素で終端されたダイヤモンド(H-ダイヤモンド)を用いたMISFETのカットオフ周波数が70GHzと高く、耐圧も1700Vと非常に高いと報告している。また、非特許文献2は、ホウ素がドープされたダイヤモンド(B-ダイヤモンド)を用いたMISFETが、500℃の高温でも電流のon/off比が10
9
よりも高く、高温特性に優れていると報告している。
【0004】
更に、ダイヤモンドは、不純物をドープすることでp型半導体やn型半導体にすることができるため、電子回路に応用することもできる。ダイヤモンドを用いたMISキャパシタやMISFETを製造するには、絶縁層とダイヤモンドとの界面におけるバンド構造を理解する必要がある。そのバンド構造を理解することで、MISキャパシタの容量を最適化したり、MISFETの閾値電圧、電荷の注入及び抽出、リーク電流密度、及びデバイスの安定性を知ることができる。このように、ダイヤモンドと絶縁層との界面のバンド構造を明らかにすることは、ダイヤモンドを用いた信頼性の高いMIS型デバイスを製造するのに有用である。
【0005】
バンド構造を調査する技術としては、XPS(X-ray Photoelectron Spectroscopy)、容量-電圧測定、電流-電圧測定、及びケルビンプローブフォース顕微鏡等がある。なかでも、XPSは、バンド曲がりを非破壊で測定できる等の点において他の技術よりも有利である。例えば、表面が水素で終端されたダイヤモンド(H-ダイヤモンド)や、ボロンがドープされたダイヤモンド(B-ダイヤモンド)の上に、種類が異なる種々の絶縁層を形成した場合のバンドオフセットをXPSで測定することができる。
【0006】
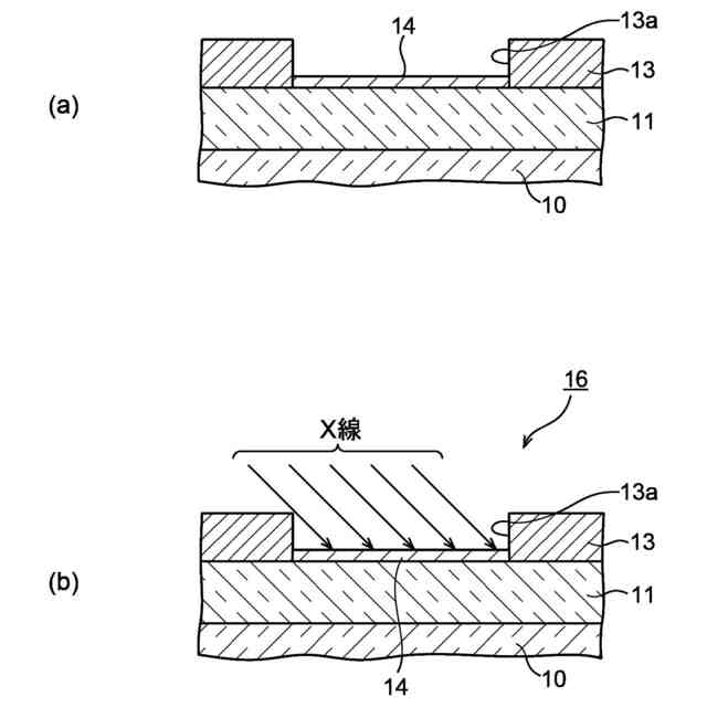
XPSにおいては、X線が照射された試料から放出される電子の運動エネルギスペクトルを測定することで、試料の元素組成や化学結合状態を調査する。但し、X線の照射によって試料表面に電荷が帯電すると、測定した電子の運動エネルギが本来の位置からずれる。例えば、試料表面が正に帯電すると、放出した電子と試料表面との間のクーロン引力によって、帯電がない場合よりも運動エネルギが小さくなる。そのため、XPSにおいては、このような運動エネルギのずれを低減するための校正が行われる。校正は、試料表面の炭素汚染に由来するC 1sの結合エネルギをXPSにより特定し、その結合エネルギと既知のC 1sの結合エネルギ(約284.8 eV)との差だけエネルギスペクトルをシフトさせることで行われる(非特許文献3、4)。
【0007】
しかしながら、ダイヤモンド等の炭素含有の半導体材料においては、材料自身に含まれる炭素に由来したC 1sの結合エネルギが強く現れ、材料表面の炭素汚染に由来するC 1sの結合エネルギを特定できない。しかも、材料自身に含まれる炭素に由来したC 1sの結合エネルギは、材料内部における炭素の結合状態によって変わるため、それを既知のC 1sの結合エネルギ(約284.8 eV)に合わせるようにエネルギスペクトルをシフトさせたのでは校正が不正確となる。その結果、ダイヤモンド等の炭素含有の半導体材料の上に絶縁層を形成した場合のバンドオフセットをXPSで正確に測定するのは困難である。
【先行技術文献】
【非特許文献】
【0008】
J.W. Liu,他3名,“Band offsets of Al2O3 and HfO2 oxides deposited by atomic layer deposition technique on hydrogenated diamond”,Applied Physics Letters,第101巻、第252108頁、2012年
A.Marechal,他6名,“Energy-band diagram configuration of Al2O3/oxygen-terminated p-diamond metal-oxide-semiconductor”,Applied Physics Letters,第107巻,第141601頁,2015年
Fang De,他3名,“Calibration of binding energy positions with C1s for XPS results”,Journal of Wuhan University of Technology-Mater. Sci. Ed.,第35巻,第711頁,2020年
Thomas R. Gengenbach,他3名,“Practical guides for x-ray photoelectron spectroscopy (XPS):Interpreting the carbon 1s spectrum”,第39巻,第013204頁,2021年
【発明の概要】
【発明が解決しようとする課題】
【0009】
一つの側面では、本発明は、X線光電子分光法で炭素含有の半導体を測定する場合の校正を正確に行うことを目的とする。
【課題を解決するための手段】
【0010】
一側面によれば、校正方法は、炭素含有の半導体に金属の第1の層を形成することと、前記第1の層が形成された前記半導体をX線光電子分光法で測定したときの前記金属の第1のエネルギ準位に由来した第1の結合エネルギを特定することと、前記第1の層が形成された前記半導体に絶縁体の第2の層を形成することと、前記第2の層をX線光電子分光法で測定したときの前記第1のエネルギ準位に由来した第2の結合エネルギを特定することと、前記第2の層をX線光電子分光法で測定したときの元素の第2のエネルギ準位に由来した第3の結合エネルギを、前記第1の結合エネルギと前記第2の結合エネルギとの差だけ校正した第4の結合エネルギを算出することと、を含む。
(【0011】以降は省略されています)
この特許をJ-PlatPat(特許庁公式サイト)で参照する
関連特許
個人
視触覚センサ
1日前
個人
採尿及び採便具
1か月前
日本精機株式会社
検出装置
1か月前
個人
計量機能付き容器
26日前
株式会社カクマル
境界杭
16日前
甲神電機株式会社
電流検出装置
1か月前
株式会社ミツトヨ
測定器
1か月前
日本精機株式会社
発光表示装置
9日前
ユニパルス株式会社
トルク変換器
1日前
ユニパルス株式会社
トルク変換器
1日前
株式会社トプコン
測量装置
8日前
ユニパルス株式会社
トルク変換器
1日前
アズビル株式会社
電磁流量計
1か月前
大成建設株式会社
風洞実験装置
26日前
大和製衡株式会社
組合せ計量装置
1か月前
愛知電機株式会社
軸部材の外観検査装置
1か月前
日本特殊陶業株式会社
ガスセンサ
1日前
個人
システム、装置及び実験方法
1か月前
個人
計量具及び計量機能付き容器
26日前
大和製衡株式会社
組合せ計量装置
1か月前
個人
非接触による電磁パルスの測定方法
29日前
双庸電子株式会社
誤配線検査装置
1か月前
愛知時計電機株式会社
ガスメータ
1か月前
日本特殊陶業株式会社
ガスセンサ
2日前
日本特殊陶業株式会社
ガスセンサ
24日前
日本特殊陶業株式会社
ガスセンサ
8日前
日本信号株式会社
距離画像センサ
29日前
キーコム株式会社
画像作成システム
16日前
トヨタ自動車株式会社
測定システム
1か月前
日置電機株式会社
絶縁抵抗測定装置
1日前
株式会社不二越
X線測定装置
29日前
株式会社タイガーカワシマ
揚穀装置
8日前
個人
液位検視及び品質監視システム
24日前
日本特殊陶業株式会社
センサ
10日前
日東精工株式会社
振動波形検査装置
1か月前
日本特殊陶業株式会社
センサ
1か月前
続きを見る
他の特許を見る