TOP
|
特許
|
意匠
|
商標
特許ウォッチ
Twitter
他の特許を見る
公開番号
2025176548
公報種別
公開特許公報(A)
公開日
2025-12-04
出願番号
2024082782
出願日
2024-05-21
発明の名称
要約画像生成装置、要約画像生成方法及びコンピュータプログラム
出願人
キヤノン株式会社
代理人
個人
,
個人
,
個人
主分類
H04N
5/91 20060101AFI20251127BHJP(電気通信技術)
要約
【課題】
例えば録画された映像の内容を適切に表す要約画像を生成可能な要約画像生成装置を提供する。
【解決手段】
要約画像生成装置において、映像から所定条件を満たす注目物体を抽出すると共に前記映像から少なくとも前記注目物体を除いた背景画像を抽出する抽出手段と、前記注目物体に対応して生成された物体画像と前記背景画像に基づき要約画像を生成する要約画像生成手段と、を備えることを特徴とする。要約画像は例えばサムネイル画像などとして表示可能にされる。
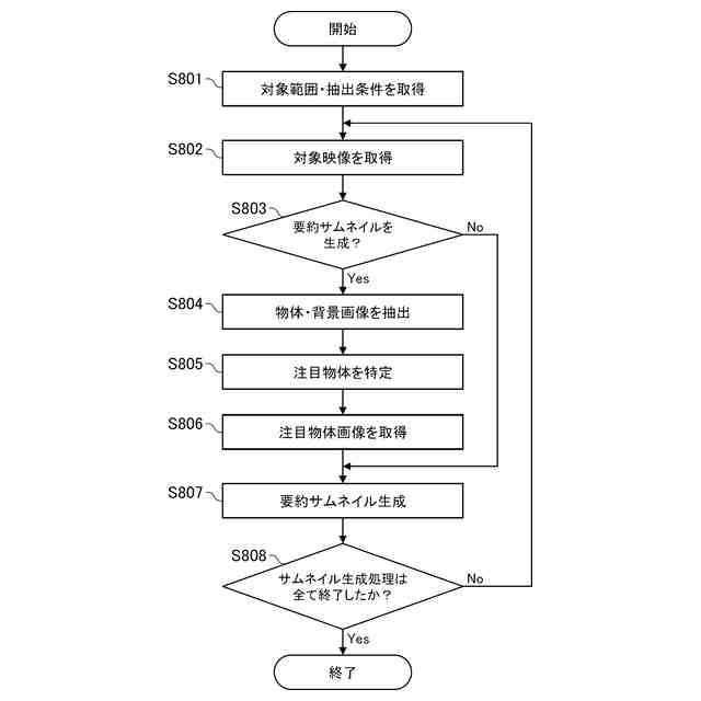
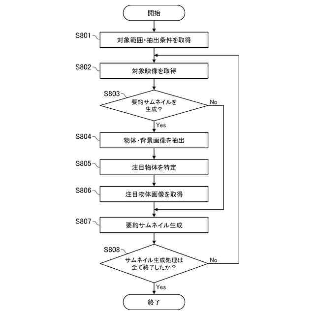
【選択図】 図8
特許請求の範囲
【請求項1】
映像から所定条件を満たす注目物体を抽出すると共に前記映像から少なくとも前記注目物体を除いた背景画像を抽出する抽出手段と、
前記注目物体に対応して生成された物体画像と前記背景画像に基づき要約画像を生成する要約画像生成手段と、
を備えることを特徴とする要約画像生成装置。
続きを表示(約 920 文字)
【請求項2】
前記注目物体を抽出するための抽出条件を取得する抽出条件取得手段を有することを特徴とする請求項1に記載の要約画像生成装置。
【請求項3】
前記要約画像生成手段は、
前記映像の対象範囲と前記抽出条件に基づいて、
前記物体画像を生成することを特徴とする請求項2に記載の要約画像生成装置。
【請求項4】
前記抽出条件取得手段は、
過去に用いられた前記抽出条件に基づいて前記抽出条件を取得することを特徴とする請求項2に記載の要約画像生成装置。
【請求項5】
前記注目物体の情報である物体情報を取得する物体情報取得手段と、
前記物体情報に基づき前記物体画像を生成することを特徴とする請求項1に記載の要約画像生成装置。
【請求項6】
前記要約画像はサムネイル画像であることを特徴とする請求項1に記載の要約画像生成装置。
【請求項7】
前記サムネイル画像を一覧表示する際の表示領域情報を取得する表示領域情報取得手段と、
前記要約画像生成手段は、前記表示領域情報に基づき前記物体画像を生成することを特徴とする請求項6に記載の要約画像生成装置。
【請求項8】
前記表示領域情報は、
前記サムネイル画像の表示サイズ、前記サムネイル画像の一覧表示数、前記サムネイル画像の行数及び列数、前記サムネイル画像のズーム倍率の少なくとも1つを含むことを特徴とする請求項7に記載の要約画像生成装置。
【請求項9】
前記要約画像生成手段は、
前記表示領域情報に応じて、前記サムネイル画像に含まれる前記物体画像の数、前記物体画像のサイズ、前記注目物体の種別の少なくとも1つを決定することを特徴とする請求項7に記載の要約画像生成装置。
【請求項10】
前記要約画像生成手段は、
同じ画面内に存在する複数の前記物体画像の重なりを減らすように前記物体画像の表示位置を決定することを特徴とする請求項1に記載の要約画像生成装置。
(【請求項11】以降は省略されています)
発明の詳細な説明
【技術分野】
【0001】
本発明は、要約画像生成装置、要約画像生成方法及びコンピュータプログラム等に関する。
続きを表示(約 1,100 文字)
【背景技術】
【0002】
防犯カメラシステム等の、カメラ映像を録画・管理する映像録画システムにおいて、大量に保存された録画ファイルから監視員が確認すべき内容を含む録画ファイルを見つけるために、各録画ファイルのサムネイル画像を一覧提示する技術が知られている。
【0003】
映像録画システムは監視員の操作用モニタに、各録画ファイルのサムネイル画像をタイル状に表示し、監視員は表示されたサムネイル画像の中から1つを選択することでサムネイル画像に紐づけられた録画ファイルを再生することが出来る。
【0004】
録画ファイルのサムネイル画像として表示される画像を決定するために、例えば動画の先頭の映像フレームや動画内の動きの大きい映像フレームなどの、動画内の任意の1つの映像フレームを抽出し、取得した画像を、表示に適したサイズへ変更しサムネイル画像としていた。
【0005】
例えば特許文献1には、映像から重要な映像フレームを抽出して映像のサムネイル画像とする構成が開示されている。
【先行技術文献】
【特許文献】
【0006】
特開2011-8508号公報
【発明の概要】
【発明が解決しようとする課題】
【0007】
しかしながら、特許文献1のような、録画ファイル内のある映像フレームをサムネイル画像とする映像録画システムでは、一枚のサムネイル画像でその録画ファイルの内容を十分に表すことが出来ない課題があった。例えば動画内に注目すべき複数の物体が、互いに異なる時刻に出現する場合ではどちらかの注目物体がサムネイル画像には表示されず、監視員が確認すべき内容の録画ファイルを見逃してしまう場合があった。
【0008】
発明は上記課題に鑑みてなされたものであり、その目的の1つは、映像の内容を適切に表す要約画像を生成可能な要約画像生成装置を提供することにある。
【課題を解決するための手段】
【0009】
上記課題を解決するために、本発明に係る要約画像生成装置は、
映像から所定条件を満たす注目物体を抽出すると共に前記映像から少なくとも前記注目物体を除いた背景画像を抽出する抽出手段と、
前記注目物体に対応して生成された物体画像と前記背景画像に基づき要約画像を生成する要約画像生成手段と、
を備えることを特徴とする。
【発明の効果】
【0010】
本発明によれば、映像の内容を適切に表す要約画像を生成可能な要約画像生成装置を実現することができる。
【図面の簡単な説明】
(【0011】以降は省略されています)
この特許をJ-PlatPat(特許庁公式サイト)で参照する
関連特許
キヤノン株式会社
容器
1か月前
キヤノン株式会社
容器
1か月前
キヤノン株式会社
トナー
1か月前
キヤノン株式会社
トナー
1か月前
キヤノン株式会社
トナー
1か月前
キヤノン株式会社
トナー
1か月前
キヤノン株式会社
トナー
27日前
キヤノン株式会社
表示装置
6日前
キヤノン株式会社
撮像装置
28日前
キヤノン株式会社
測距装置
29日前
キヤノン株式会社
定着装置
14日前
キヤノン株式会社
表示装置
6日前
キヤノン株式会社
記録装置
今日
キヤノン株式会社
撮像装置
1か月前
キヤノン株式会社
表示装置
1か月前
キヤノン株式会社
電子機器
27日前
キヤノン株式会社
発光装置
6日前
キヤノン株式会社
記録装置
1か月前
キヤノン株式会社
撮像装置
1か月前
キヤノン株式会社
撮像装置
1か月前
キヤノン株式会社
記録装置
27日前
キヤノン株式会社
記録装置
27日前
キヤノン株式会社
撮像装置
6日前
キヤノン株式会社
表示装置
6日前
キヤノン株式会社
電子機器
27日前
キヤノン株式会社
雲台装置
27日前
キヤノン株式会社
撮像装置
27日前
キヤノン株式会社
電子機器
22日前
キヤノン株式会社
撮像装置
22日前
キヤノン株式会社
定着装置
20日前
キヤノン株式会社
記録装置
20日前
キヤノン株式会社
定着装置
20日前
キヤノン株式会社
定着装置
20日前
キヤノン株式会社
撮像装置
8日前
キヤノン株式会社
定着装置
14日前
キヤノン株式会社
撮像装置
14日前
続きを見る
他の特許を見る