TOP
|
特許
|
意匠
|
商標
特許ウォッチ
Twitter
他の特許を見る
10個以上の画像は省略されています。
公開番号
2025176173
公報種別
公開特許公報(A)
公開日
2025-12-03
出願番号
2025154497,2021120031
出願日
2025-09-17,2021-07-20
発明の名称
穿刺血を溶血および希釈を行うデバイス、およびそれを用いた糖化ヘモグロビン分析方法
出願人
東ソー株式会社
代理人
主分類
G01N
1/10 20060101AFI20251126BHJP(測定;試験)
要約
【課題】HPLC法のA1c測定装置であっても、穿刺血を容易に溶血/希釈を行うデバイス、および方法を提供する。
【解決手段】穿刺血を毛細管現象にて吸い上げることができる樹脂製円錐状又は角錐状のチップと、前記チップを収納できる容器と、前記容器を密閉できる蓋体から構成される、穿刺血を採取し、溶血および希釈することができるチップセットであり、前記容器は、前記チップの最大外径より0.5~5mm大きい内径であり、前記容器内に、前記チップが収納できる高さを有する円柱状であり、前記容器の上面から5~15mmの位置に鍔を有する、ことを特徴とする、穿刺血を採取し、溶血および希釈することができるチップセットおよび前記チップを用いた穿刺血を採取、溶血/希釈する方法によりグリコヘモグロビン(A1c%)を測定する。
【選択図】図7
特許請求の範囲
【請求項1】
穿刺血を毛細管現象にて吸い上げることができる樹脂製円錐状又は角錐状のチップと、
前記チップを収納できる容器と、
前記容器を密閉できる蓋体から構成される、穿刺血を採取し、溶血および希釈することができるチップセットであり、
前記容器は、前記チップの最大外径より0.5~5mm大きい内径であり、
前記容器内に、前記チップが収納できる高さを有する円柱状であり、
前記容器の上面から5~15mmの位置に鍔を有する、
ことを特徴とする、穿刺血を採取し、溶血および希釈することができるチップセット。
続きを表示(約 1,000 文字)
【請求項2】
穿刺器具にて指等を穿刺することで得られる穿刺血を、
前記チップにて、穿刺血を毛細管現象にて吸い上げる第一の工程と、
事前に一定量の溶血/希釈液が分注された前記容器に、穿刺血を吸い上げた前記チップを挿入し、前記蓋体にて蓋をする第二の工程と、
密閉された前記容器を転倒攪拌し、穿刺血を溶血/希釈させる第三の工程とからなる、穿刺血を採取、溶血/希釈する方法。
【請求項3】
請求項2で調製された溶血/希釈された検体を、液体クロマトグラフィー法を原理とするグリコヘモグロビン測定装置に搭載し、グリコヘモグロビン(A1c%)を測定する方法。
【請求項4】
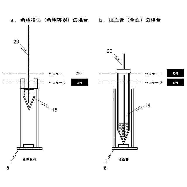
前記液体クロマトグラフィー法を原理とするグリコヘモグロビン測定装置にて、1以上の検体が搭載可能なラックに、検体を搭載し、前記ラックを機械的に移動し、検体サンプリング位置まで移送させ、前記検体が「採血管」か「その他の容器」かを自動で識別し、その識別された結果を基に、「採血管」の場合は、検体を吸引後、自動で溶血/希釈操作を実施し、分析カラムに注入し、「その他の容器」の場合、検体を吸引後、溶血/希釈操作を経ずにそのまま分析カラムに注入することを特徴とする請求項3に記載の方法。
【請求項5】
前記液体クロマトグラフィー法を原理とするグリコヘモグロビン測定装置にて、1以上の検体が搭載可能な回転式テーブルに、検体を搭載し、前記回転テーブルが回転し、検体サンプリング位置まで移送させ、前記検体が「採血管」か「その他の容器」かを自動で識別し、その識別された結果を基に、「採血管」の場合は、検体を吸引後、自動で溶血/希釈操作を実施し、分析カラムに注入し、「その他の容器」の場合、検体を吸引後、溶血/希釈操作を経ずにそのまま分析カラムに注入することを特徴とする請求項3に記載の方法。
【請求項6】
請求項2で調製された溶血/希釈された検体を、免疫法を原理とするグリコヘモグロビン測定装置に搭載し、グリコヘモグロビン(A1c%)を測定する方法。
【請求項7】
請求項2で調製された溶血/希釈された検体を、酵素法を原理とするグリコヘモグロビン測定装置に搭載し、グリコヘモグロビン(A1c%)を測定する方法。
【請求項8】
請求項2で調製された溶血/希釈された検体を、電気泳動法を原理とするグリコヘモグロビン測定装置に搭載し、グリコヘモグロビン(A1c%)を測定する方法。
発明の詳細な説明
【技術分野】
【0001】
ヘモグロビンA1c(以下A1c、SA1cとも略す)は、糖尿病の診断指標として用いられる値である。A1cの測定は、その検査件数(規模)や要求される精度等によりいくつかの手法がある。大別すると免疫法とHPLC法というふたつの方法がある。免疫法は、抗体を用いた免疫化学的な手法での計測であり、HPLC(High Performance Liquid Chromatography:高速液体クロマトグラフィー)法は、カラムと呼ばれる装置に高圧で検体を流し、親和力の差や、荷電状態に応じて血液成分を分離し定量する手法であり、最も高精度な手法とされている。何れの方法でも、患者の静脈血を採取し、溶血/希釈操作を行った後に、測定系に供するものである。
続きを表示(約 1,300 文字)
【背景技術】
【0002】
簡易的な免疫法では、使い捨ての「穿刺器具」により、指等から数マイクから数十マイクロリッタの血液を採取して行うのが一般的である。一方、HPLC法では5~10mL程度の採血管に採血した検体を使用する。この場合、採血管の全血を、測定機器に備えられた溶血/希釈機構により、自動で処理された後に分析に供される。
【0003】
また、HPLC法では、前記のように、採血管を取り扱うことが多いが、簡易的な免疫法のような「穿刺血」を直接取り扱うことはない。
【0004】
HPLC法でのA1cの測定は、電荷の違いによるイオン交換の原理に基づいた手法と、特異的な吸脱着によるアフィニティの原理に基づいた手法がある。図1に、得られるクロマトグラムを模式的に示す。図1aはイオン交換法、図1bはアフィニティ法での結果である。また左図はA1cが低値、右図はA1cが高値の場合である。いずれの場合でも糖尿病の指標であるA1c%は、全ヘモグロビンに対する糖化ヘモグロビン(A1c)の比率で算出される。つまり、全ピーク面積に対する、糖化ヘモグロビン(A1c)ピーク面積(塗潰しピーク)の比率で算出される。
【0005】
このことから、一般的なHPLCでの定量と異なり、カラムへの注入量が多少変動しても定量値への影響は少ない。つまり、血液検体を測定する場合の、希釈精度はあまり要求されず、多少の変動が生じても結果として得られるA1c%には影響がない。
【発明の概要】
【発明が解決しようとする課題】
【0006】
本発明は、前記課題を解決するためになされたものであり、HPLC法のA1c測定装置であっても、穿刺血を容易に溶血/希釈を行うデバイス、および方法を提供するものである。
【課題を解決するための手段】
【0007】
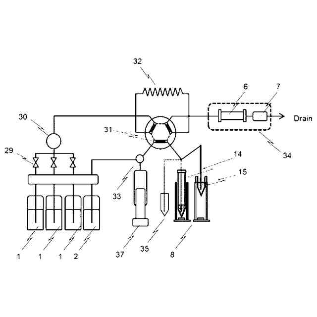
HPLC法によるA1cの測定を行う場合、複数の検体を搭載できる「ラック」に乗せて、検体のサンプリング位置まで移動させ、順次、分析カラムに注入し分析を行っていく。図2にHPLC法によるA1c測定装置の構成の一例を示す。
【0008】
HPLC法では、大まかには、複数の溶出力の異なる溶離液(1)を切り替えて送液できるポンプ(3)、検体を分析カラム(6)に注入するための試料注入バルブ(31)、分離の度合いを検出する可視光検出器(7)から成る。前記試料注入バルブ(31)は一定量の検体を保持できる試料ループ(32)を有している。
【0009】
検体注入機構は、前記注入バルブ(31)の他、全血検体を溶血/希釈するための希釈槽(35)、溶血/希釈液の添加や検体を吸引するための計量ポンプ(37)を備える。
【0010】
血液分析の分野では、静脈血2~10mLの採血管にて採血し、そのまま分析計で測定される場合が多い。HPLC法でのA1c測定の場合も同様であり、採血管を「ラック」に搭載し、自動で前処理等を行い、分析計に導入される。A1c測定の場合は、全血を微量サンプリングし、自動で溶血および希釈操作が行われ、その一部を分析カラムに注入し、分析される。
(【0011】以降は省略されています)
この特許をJ-PlatPat(特許庁公式サイト)で参照する
関連特許
東ソー株式会社
焼結体
29日前
東ソー株式会社
焼結体
29日前
東ソー株式会社
ペレット
1か月前
東ソー株式会社
絶縁電線
1か月前
東ソー株式会社
乳酸吸着材
1か月前
東ソー株式会社
免疫学的測定法
1か月前
東ソー株式会社
焼結体の製造方法
1か月前
東ソー株式会社
印刷インキ組成物
1か月前
東ソー株式会社
プラスチゾル組成物
27日前
東ソー株式会社
ゴム用接着性改質剤
1か月前
東ソー株式会社
エチレン系重合用触媒
1か月前
東ソー株式会社
細胞培養基材の製造方法
1か月前
東ソー株式会社
細胞培養基材の製造方法
1か月前
東ソー株式会社
クロロプレンラテックス組成物
6日前
東ソー株式会社
廃プラスチックのリサイクル方法
1か月前
東ソー株式会社
ポリアリーレンスルフィド組成物
1か月前
東ソー株式会社
押出成形用ゴム組成物及び加硫ゴム
1か月前
東ソー株式会社
細胞培養基材、及び細胞培養キット
1か月前
東ソー株式会社
分離剤を充填したカラムの製造方法
1か月前
東ソー株式会社
ポリアリーレンスルフィド樹脂組成物
1か月前
東ソー株式会社
6-ヒドロキシヘキサン酸の製造方法
1か月前
東ソー株式会社
メチレンジアニリン化合物の製造方法
1か月前
東ソー株式会社
バイオマス由来の塩素化ポリエチレン
1か月前
東ソー株式会社
ユウロピウム錯体含有細胞賦活用組成物
1か月前
東ソー株式会社
酸化ポリエチレンワックス及びその製造方法
1か月前
東ソー株式会社
免疫グロブリン結合性タンパク質の製造方法
27日前
東ソー株式会社
細胞外小胞精製キット及び細胞外小胞の精製方法
27日前
東ソー株式会社
死細胞の分離剤およびそれを用いた細胞の製造方法
27日前
東ソー株式会社
セラミックスマトリックス複合材料及びその製造方法
27日前
東ソー株式会社
樹脂組成物、電子写真用トナー及びホットメルト接着剤
1か月前
東ソー株式会社
カラム管理サーバ、カラム管理システム及びプログラム
1か月前
東ソー株式会社
糖化ヘモグロビン解析方法及び糖化ヘモグロビン解析装置
1か月前
東ソー株式会社
低溶出ポリエチレン樹脂およびそれよりなる射出成形部品
7日前
東ソー株式会社
重合触媒及びそれを用いてなるエチレン系重合体の製造方法
14日前
東ソー株式会社
ニッケルと錯生成能力を持つ化合物を含有する水溶液の浄化方法
1日前
東ソー株式会社
窒化ガリウム焼結体及びその製造方法
1か月前
続きを見る
他の特許を見る